GM Service Manual Online
For 1990-2009 cars only

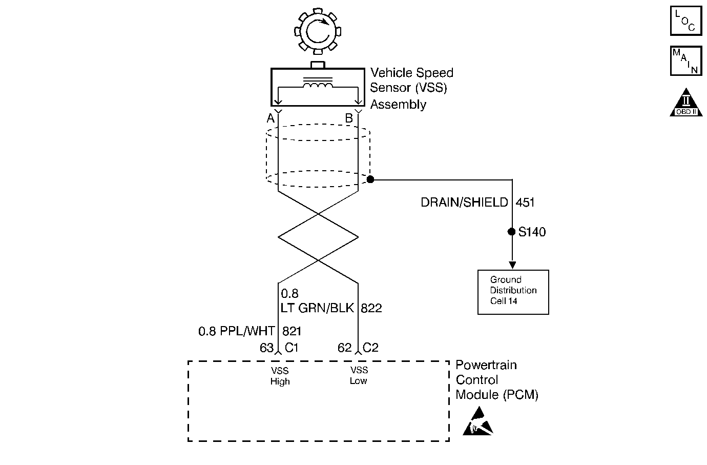
DTC P0503 Vehicle Speed Sensor (VSS) Circuit Intermittent 2.2L


Object Number: 68615  Size: MF

Circuit Description

The Vehicle Speed Sensor Assembly (VSS Assy.) provides vehicle speed information to the PCM. The VSS Assy. is a Permanent Magnet (PM) generator. The PM generator produces a pulsing AC voltage. The AC voltage level and the number of pulses increase with the speed of the vehicle. The PCM then converts the pulsing voltage to vehicle speed. The PCM uses this information for calculations. A scan tool can display the vehicle speed.

When the PCM detects an unrealistic large drop in vehicle speed, then DTC P0503 sets. DTC P0503 is a type B DTC.

Conditions for Setting the DTC

DTC P0503 sets if the following conditions occur two consecutive times:

    • No TFP Val. Position Sw. DTC P1810.
    • The time since the last gear range change is greater than 6 seconds.
    • The engine speed is greater than 450 RPM for 8 seconds.
    • Not in fuel cutoff.
    • Transmission output speed rise does not exceed 500 RPM within 6 seconds.
    • All of the above conditions are met and either of the following fail conditions occurs for 3 seconds.
        1. The transmission output speed drop is greater than 1600 RPM in Park/Neutral.
        2. The transmission output speed drop is greater than 1300 RPM when not in Park/Neutral.

Action Taken When the DTC Sets

    • The PCM commands second gear only.
    • The PCM commands maximum line pressure.
    • The PCM freezes shift adapts from being updated.
    • The PCM inhibits TCC engagement.
    • The PCM inhibits 4th gear if the transmission is in hot mode.
    • The PCM illuminates the Malfunction Indicator Lamp (MIL).

Conditions for Clearing the MIL/DTC

    • The PCM turns OFF the MIL after three consecutive ignition cycles without a failure reported.
    • A scan tool can clear the DTC from the PCM history. The PCM clears the DTC from the PCM history if the vehicle completes 40 warm-up cycles without a failure reported.
    • The PCM cancels the DTC default actions when the fault no longer exists and the ignition is OFF long enough in order to power down the PCM.

Diagnostic Aids

    • Inspect the wiring for poor electrical connections at the PCM. Look for the following conditions:
       - A bent terminal
       - A backed out terminal
       - A damaged terminal
       - Poor terminal tension
       - A chafed wire
       - A broken wire inside the insulation
    • When diagnosing for an intermittent short or open condition, massage the wiring harness while watching the test equipment for a change.

Test Description

The numbers below refer to the step numbers on the diagnostic table.

  1. This step tests the VSS Assy. circuit.

  2. This step tests the integrity of the VSS Assy.

DTC P0503 Vehicle Speed Sensor Assembly (VSS Assy.) Circuit -- Intermittent (2.2L)

Step

Action

Value(s)

Yes

No

1

Was the Powertrain On-Board Diagnostic (OBD) System Check performed?

--

Go to Step 2

Go to OBD System Check

2

  1. Install the scan tool.
  2. With the engine OFF, turn the ignition switch to the RUN position.
  3. Important: Before clearing the DTCs, use the scan tool in order to record the Freeze Frame and Failure Records for reference. The Clear Info function will erase the data.

  4. Record the DTC Freeze Frame and Failure Records.
  5. Raise the drive wheels.
  6. Start the engine.
  7. Place the transmission in any drive range.

With the drive wheels rotating, does the Transmission OSS increase with the drive wheel speed?

--

Go to Diagnostic Aids

Go to Step 3

3

  1. Turn the ignition OFF.
  2. Disconnect the C1 (blue) and C2 (black) PCM connectors.
  3. Using J 39200 DVOM and J 35616 Connector Test Adapter Kit, measure the resistance between harness connector terminals C1-63 and C2-62.

Is the resistance within the specified range?

1470-2820 ohms

Go to Step 4

Go to Step 6

4

Measure the resistance from terminal C1-63 to ground.

Is the resistance greater than the specified value?

50 K ohms

Go to Step 5

Go to Step 7

5

  1. Place the transmission in Neutral.
  2. Select AC volts.
  3. Rotate the rear wheels, ensuring that the driveshaft is turning.

Is the voltage greater than the specified value?

0.5 volts

Go to Step 11

Go to Step 9

6

  1. Disconnect the engine wiring harness from the VSS Assy.
  2. Measure the resistance of the VSS Assy.

Is the resistance within the specified range?

1470-2820 ohms

Go to Step 8

Go to Step 10

7

Inspect circuits 821 and 822 for a short to ground. Repair the circuits if necessary. Refer to Electrical Diagnosis, Section 8A.

Did you find a problem?

--

Go to Step 12

Go to Diagnostic Aids

8

Inspect circuit 821 and circuit 822 for an open circuit. Repair the circuits if necessary. Refer to Electrical Diagnosis, Section 8A.

Did you find a problem?

--

Go to Step 12

Go to Diagnostic Aids

9

  1. Remove the VSS Assy.
  2. Inspect the output shaft speed sensor rotor for damage or misalignment.

Did you find a problem?

--

Go to Step 12

Go to Step 10

10

Replace the VSS Assy. Refer to Vehicle Speed Sensor Assembly Replacement.

Is the replacement complete?

--

Go to Step 12

--

11

Replace the PCM. Refer to PCM Replacement, Section 6.

Is the replacement complete?

--

Go to Step 12

--

12

In order to verify your repair, perform the following procedure:

  1. Select DTC.
  2. Select Clear Info.
  3. Operate the vehicle, ensuring that the transmission output speed drop is less than 500 RPM for 3 seconds and output speed is greater than 600 RPM for 3 seconds.
  4. Select Specific DTC. Enter DTC P0503.

Has the test run and passed?

--

System OK

Begin the diagnosis again. Go to Step 1