GM Service Manual Online
For 1990-2009 cars only
Makes
🢒
Chevrolet
🢒
1999
🢒
S10 Pickup - 4WD
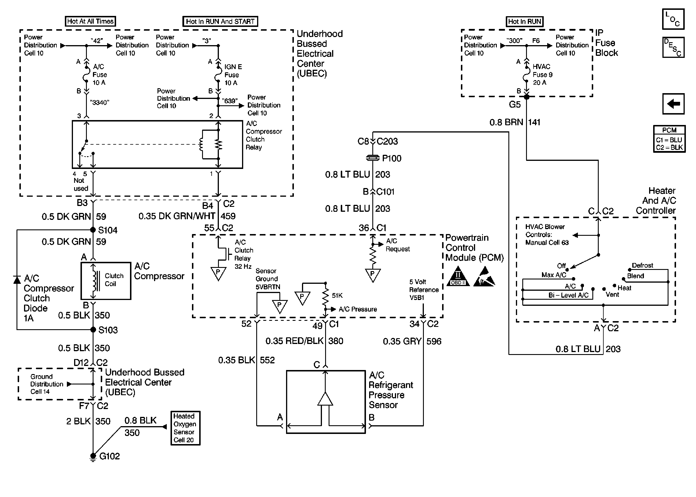
🢒 A/C Compressor Controls
A/C Compressor Controls
A/C Compressor Controls
Engine Controls Components
Powertrain Control Module Description
Vehicle Speed Sensor W/ Cruise Control
OBD II Symbol Description Notice
Handling Electrostatic Discharge Sensitive Parts Notice
Oxygen Sensors