GM Service Manual Online
For 1990-2009 cars only
Makes
🢒
Chevrolet
🢒
1999
🢒
S10 Pickup - 4WD
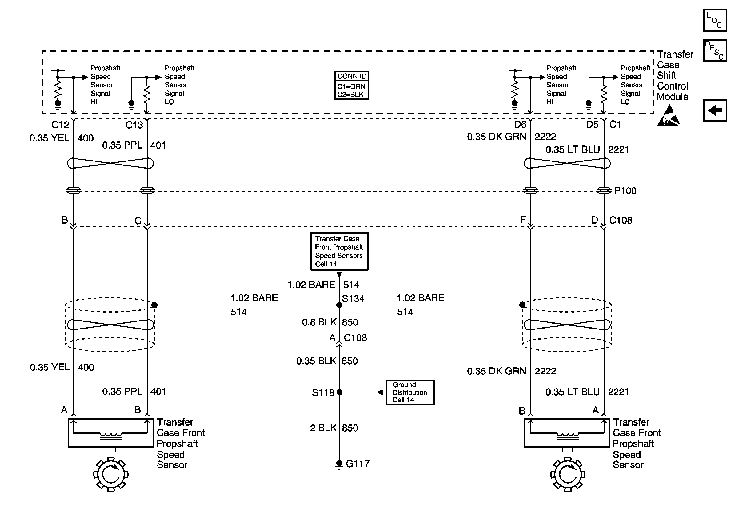
🢒 Cell 38: Speed Sensors
Cell 38: Speed Sensors
Cell 38: Speed Sensors
Transfer Case Control Connector End Views
Handling ESD Sensitive Parts Notice
Cell 21: Vehicle Speed Sensor
Cell 14: G104 and G117
Transfer Case Control Components
Transfer Case Circuit Description
Cell 38: Transfer Case Encoder Motor