GM Service Manual Online
For 1990-2009 cars only
Makes
🢒
Chevrolet
🢒
2001
🢒
S10 Pickup - 4WD
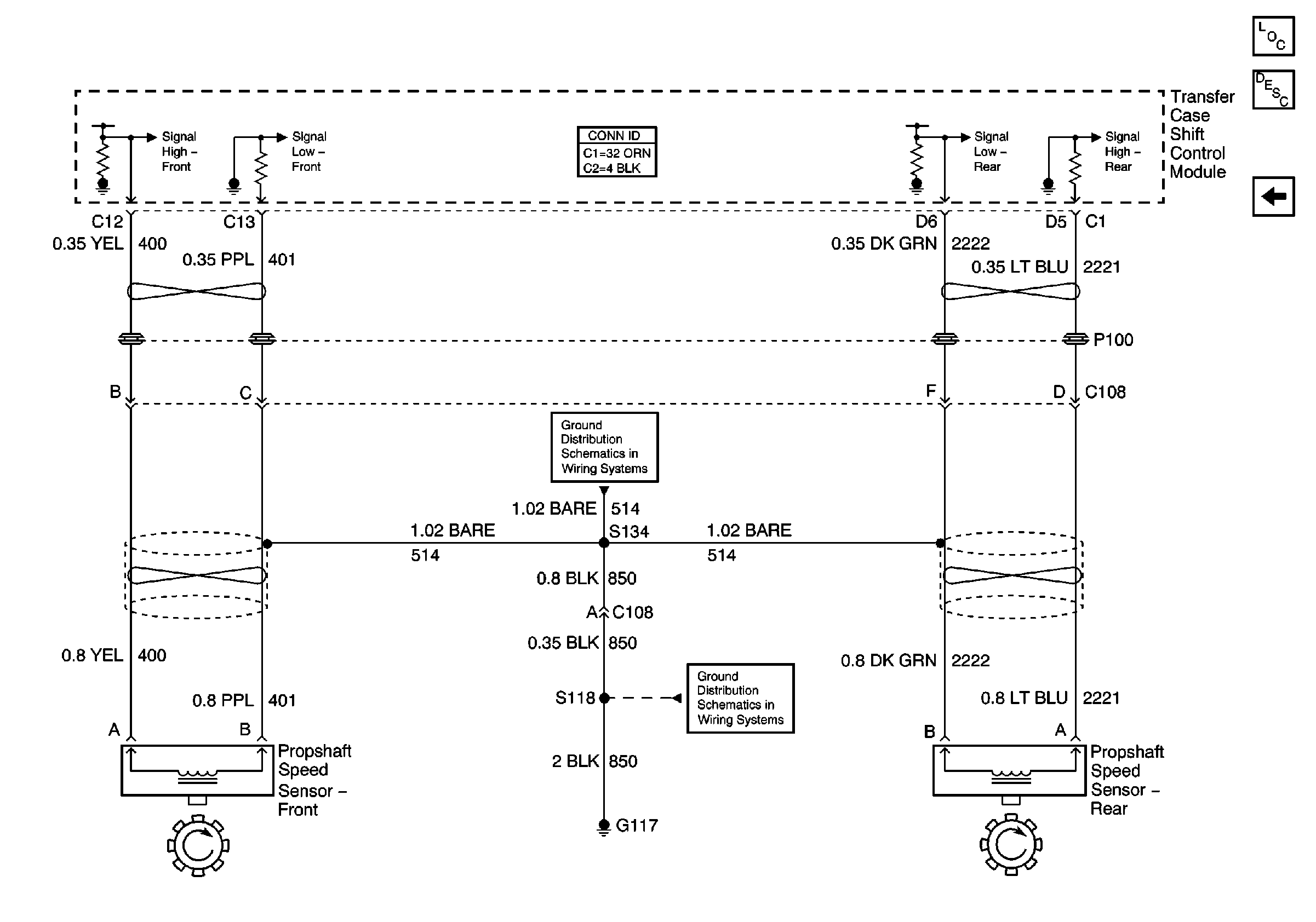
🢒 Speed Sensors
Speed Sensors
Speed Sensors
Master Electrical Component List
Transfer Case Description and Operation
Power and Ground
G104 and G117
G104 and G117