GM Service Manual Online
For 1990-2009 cars only
Makes
🢒
Chevrolet
🢒
2002
🢒
S10 Pickup - 4WD
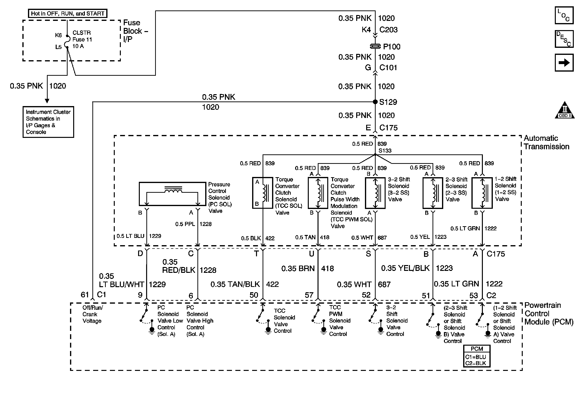
🢒 Valve Controls (2.2L)
Valve Controls (2.2L)
Valve Controls (2.2L)
Master Electrical Component List
Electronic Component Description
Switch Inputs and PNP Switch (2.2L)
OBD II Symbol Description Notice
Power and Ground