GM Service Manual Online
For 1990-2009 cars only
Makes
🢒
Chevrolet
🢒
2002
🢒
S10 Pickup - 4WD
🢒 Illum Power - Utility
Illum Power - Utility
Illum Power (Utility)
Master Electrical Component List
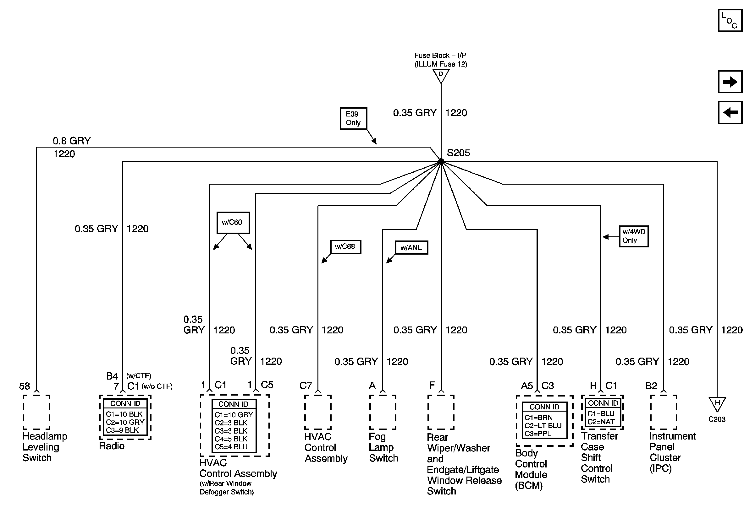
ILLUM and PARK LP Fuses
ILLUM Power (2-Door Utility, 4-Door Utility and Crew Cab)
Illum Power - Pickup
ILLUM Power (2-Door Utility, 4-Door Utility and Crew Cab)