GM Service Manual Online
For 1990-2009 cars only
Makes
🢒
Chevrolet
🢒
2004
🢒
S10 Pickup - 4WD
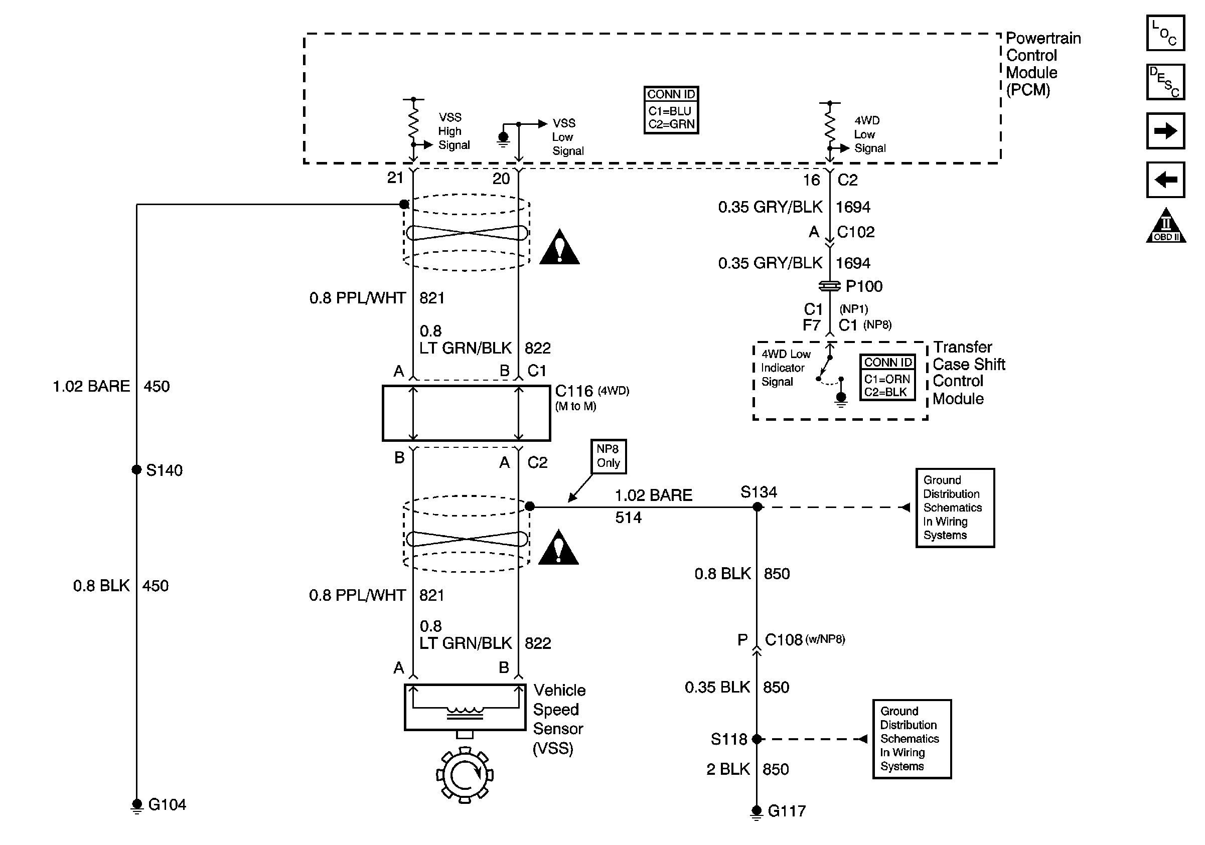
🢒 VSS Inputs,4WD Low Indicator Signal
VSS Inputs,4WD Low Indicator Signal
VSS Inputs, 4WD Low Indicator Signal - 4.3L
Master Electrical Component List
Electronic Component Description
Brake Switch Input and Tow/Haul Switch
Switch Inputs and PNP Switch
OBD II Symbol Description Notice
G104 and G117
G104 and G117
Automatic Transmission Schematic Icons
Automatic Transmission Schematic Icons