GM Service Manual Online
For 1990-2009 cars only
Makes
🢒
Chevrolet
🢒
2004
🢒
S10 Pickup - 4WD
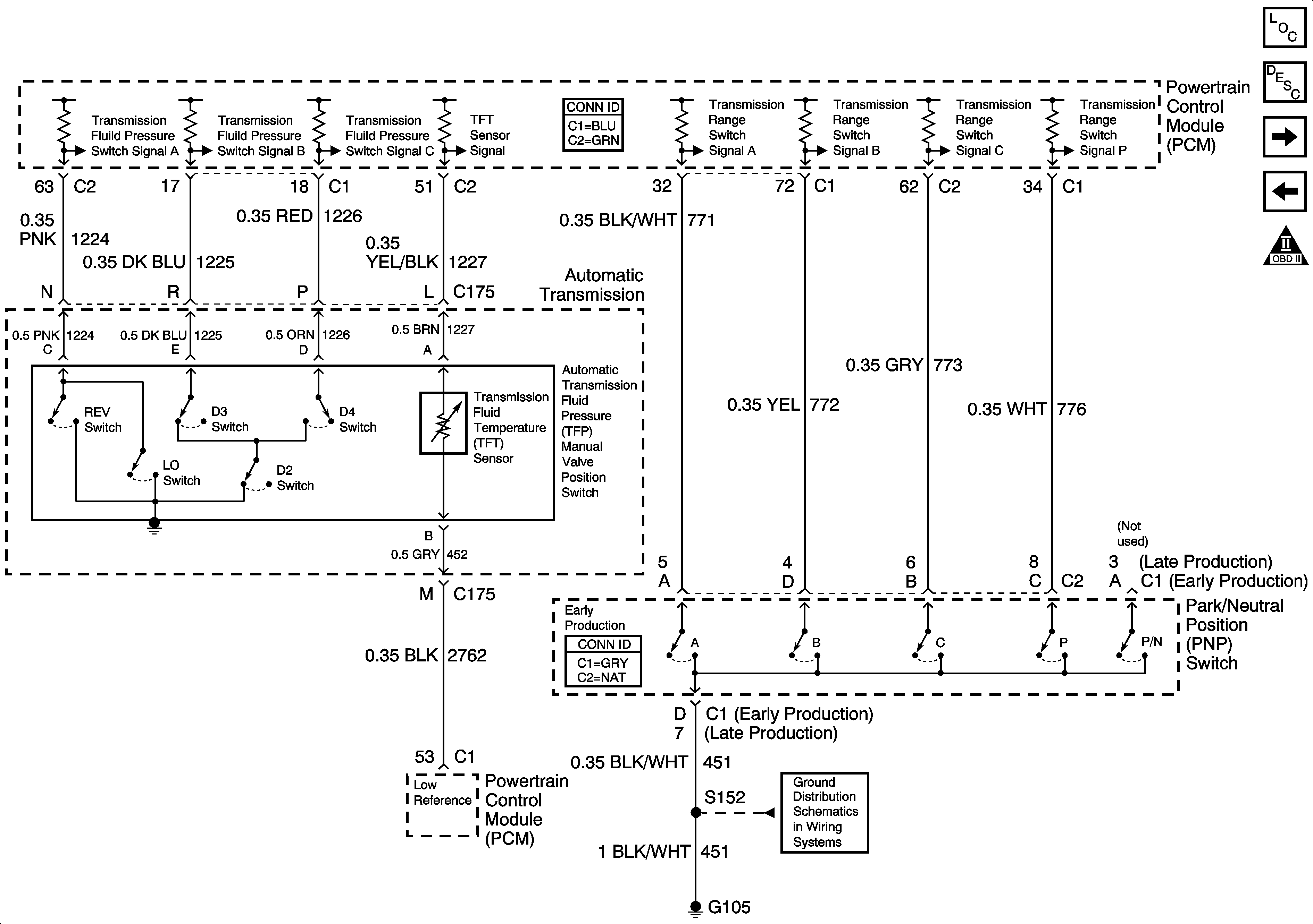
🢒 Switch Inputs and PNP Switch - 4.3L
Switch Inputs and PNP Switch - 4.3L
Switch Inputs and PNP Switch - 4.3L
Master Electrical Component List
Electronic Component Description
VSS Inputs, 4WD Low Indicator Signal - 4.3L
Valve Controls - 4.3L
OBD II Symbol Description Notice
G103 and G105 - 4.3L