GM Service Manual Online
For 1990-2009 cars only

COOLANT RESERVOIR LEAKING (INSTALL A NEW PROPULSION COOL

SUBJECT: COOLANT RESERVOIR LEAKING (INSTALL A NEW PROPULSION COOLANT RESERVOIR)

MODELS: 1997-98 CHEVROLET S-10 ELECTRIC TRUCK

CONDITION:

SOME OWNERS MAY COMMENT ABOUT COOLANT LEAKING ONTO THE GROUND.

CAUSE:

THE PROPULSION COOLANT RESERVOIR MAY DEVELOP A LEAK BETWEEN THE TANK AND THE CAP OF THE RESERVOIR.

CORRECTION:

INSTALL A NEW COOLANT RESERVOIR. USE THE FOLLOWING SERVICE PROCEDURE.

SERVICE PROCEDURE -

1. REMOVE AND DISCARD THE PROPULSION COOLANT TANK AND THE COVER ASSEMBLY. REFER TO PROPULSION SYSTEM COOLING IN THE S-10 ELECTRIC TRUCK SERVICE MANUAL.

2. CUT THE COOLANT RESERVOIR BRACKET FROM THE PEB SUB-FRAME USING A CUT-OFF SAW OR A JIGSAW (FIGURE 1).

3. REMOVE AND DISCARD THE NUT FROM THE STUD THAT MOUNTS THE POWER STEERING BRACKET.

4. ALIGN THE PLASTIC BRACKET, P/N 27003947 PROVIDED IN TANK KIT, TO THE EXISTING STUD. DRILL AN 8 MM (0.315 IN.) HOLE ON THE POWER STEERING BRACKET.

5. REMOVE ALL METAL DEBRIS FROM THE UNDERHOOD COMPARTMENT.

6. ATTACH A U-NUT, P/N 11507067, TO THE POWER STEERING BRACKET ON THE 8 MM (0.315 IN.) HOLE.

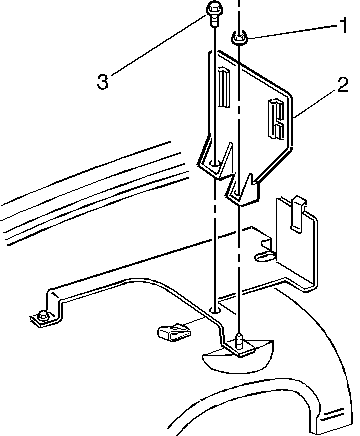
7. MOUNT THE BRACKET ASSEMBLY, P/N 27003947, (FIGURE 2, ITEM 2) USING THE BOLT, P/N 11505192, (FIGURE 2, ITEM 3) AND NUT, P/N 11514516, (FIGURE 2, ITEM 1).

8. INSTALL THE NEW COOLANT TANK ASSEMBLY, P/N 27004233, TO THE BRACKET, P/N 27003947, (FIGURE 3, ITEM 1). BE SURE THAT THE COOLANT, P/N 12378390, IN THE RESERVOIR IS AT THE FILL LINE.

9. CONNECT THE COOLANT HOSES AND THE ELECTRICAL CONNECTION. REFER TO PROPULSION SYSTEM COOLING IN THE S-10 ELECTRIC TRUCK SERVICE MANUAL.

PARTS INFORMATION:

P/N DESCRIPTION QTY

27004233 TANK KIT, COOL RCVY EXPN 1 12378390 ELECTRA-COOL(TM)* COOLANT 1

PARTS ARE CURRENTLY AVAILABLE FROM GMSPO.

*WE BELIEVE THIS SOURCE AND THEIR EQUIPMENT TO BE RELIABLE. THERE MAY BE ADDITIONAL MANUFACTURERS OF SUCH EQUIPMENT. GENERAL MOTORS DOES NOT ENDORSE, INDICATE ANY PREFERENCE FOR OR ASSUME ANY RESPONSIBILITY FOR THE PRODUCTS OR EQUIPMENT FROM THIS FIRM OR FOR ANY SUCH ITEMS WHICH MAY BE AVAILABLE FROM OTHER SOURCES.

WARRANTY INFORMATION:

FOR VEHICLES REPAIRED UNDER WARRANTY, USE:

LABOR OP DESCRIPTION LABOR TIME J3260 RESERVOIR, RADIATOR 0.6 HR COOLANT - REPLACE

IMPORTANT: LABOR OPERATION IS CODED TO BASE VEHICLE COVERAGE IN THE WARRANTY SYSTEM.

FIGURES: 03 ATTACHMENTS: 00

LEGEND: FIG. 1 - REMOVING BRACKET FROM PEB SUB-FRAME

FIG. 2 - INSTALLING THE BRACKET ASSEMBLY 1. BRACKET MOUNTING NUT 2. BRACKET ASSEMBLY 3. BRACKET MOUNTING BOLT

FIG. 3 - INSTALLING THE NEW COOLANT TANK 1. COOLANT TANK ASSEMBLY


Object Number: 336458  Size: SH


Object Number: 336460  Size: SH


Object Number: 336462  Size: SH

GENERAL MOTORS BULLETINS ARE INTENDED FOR USE BY PROFESSIONAL TECHNICIANS, NOT A "DO-IT-YOURSELFER". THEY ARE WRITTEN TO INFORM THOSE TECHNICIANS OF CONDITIONS THAT MAY OCCUR ON SOME VEHICLES, OR TO PROVIDE INFORMATION THAT COULD ASSIST IN THE PROPER SERVICE OF A VEHICLE. PROPERLY TRAINED TECHNICIANS HAVE THE EQUIPMENT, TOOLS, SAFETY INSTRUCTIONS AND KNOW-HOW TO DO A JOB PROPERLY AND SAFELY. IF A CONDITION IS DESCRIBED, DO NOT ASSUME THAT THE BULLETIN APPLIES TO YOUR VEHICLE, OR THAT YOUR VEHICLE WILL HAVE THAT CONDITION. SEE A GENERAL MOTORS DEALER SERVICING YOUR BRAND OF GENERAL MOTORS VEHICLE FOR INFORMATION ON WHETHER YOUR VEHICLE MAY BENEFIT FROM THE INFORMATION.

COPYRIGHT 1998 GENERAL MOTORS CORPORATION. ALL RIGHTS RESERVED.