GM Service Manual Online
For 1990-2009 cars only

SMU - Revised Accelerator Pedal Position (APP) Sensor Diagnostics

Subject:Revised Accelerator Pedal Position (APP) Sensor Diagnostics

Models:1997-98 Chevrolet S-10 Electric Truck
with 85 KW Electric Motor (VIN H --RPO LN1)



This bulletin revises the Accelerator Pedal Position (APP) Sensor Diagnostics in the Power Inverter Controls subsection of Propulsion System in the Service Manual. Refer to this bulletin when diagnosing the following APP sensor DTCs: 98, 99,100,101. These DTCs can be found in the Drive Motor Control section of the Service Manual.


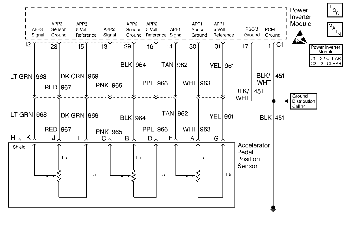
Object Number: 264058  Size: MF

Circuit Description

The accelerator pedal position (APP) sensor module consists of 3 potentiometers, which provide voltages (in proportion) to the accelerator pedal position. Sensor 1 output varies from 0.5 volts at closed throttle, to about 4.2 volts at wide open throttle (WOT). Sensor 2 output varies from about 4.3  volts at closed throttle to about 0.8  volts at WOT. Sensor 3 output varies from 4.0  volts at closed throttle to about 1.9  volts at WOT. The drive motor control module re-scales each of the channels and then compares each channel to the other 2 in order to detect in-range sensor faults. The drive motor control module monitors the 5 volt reference voltage to sensors 2 and 3.

Conditions for Running the DTC

The ignition must be in the RUN position.

Conditions for Setting the DTC

The drive motor control module detects less than 3.5 volts for a minimum of 16 milliseconds (.016 seconds) on the 5 volt reference line to the APP sensor.

Action Taken When the DTC Sets

Drive motor control module requests the Service Soon lamp.

DTC is stored in Failure records.

Conditions for Clearing the MIL/DTC

The ignition must be cycled once after the fault is no longer present.

The DTC can be cleared by using the scan tool Clear Info function.

Diagnostic Aids

A short to ground on the 5 volt reference circuit can cause this DTC to set.

Each of the 3 pedal position sensors has an independent 5 volt power source.

For intermittents, refer to the Symptom table in Intermittents.

Reviewing the Failure Records since the diagnostic test failed may help determine how often the conditions occur that caused the DTC to set. This may assist in diagnosing the condition.

Test Description

The numbers below refer to the step numbers on the diagnostic table.

  1. This step checks for the 5 volt reference at the power inverter module.

  2. This step determines if the accelerator pedal position (APP) sensor needs replacement.

  3. This step checks for excessive resistance or an open condition between the power inverter module and the APP sensor.

  4. This step checks for a short to ground condition.

Step

Action

Value(s)

Yes

No

1

Was the On-Board Diagnostic (OBD) System Check performed?

--

Go to Step 2

Go to OBD System Check

2

  1. Turn the ignition On.
  2. Leaving the 32-way connector installed, measure the voltage at the power inverter module of the 5 volt reference circuit.

Is the voltage at or above the specified value?

3.5V

Go to Step 11

Go to Step 3

3

  1. Turn the ignition OFF.
  2. Disconnect the APP sensor harness connector.
  3. Turn the ignition On.
  4. Measure the voltage at the APP sensor of the 5 volt reference circuit .

Is the voltage at or above the specified value?

4.5V

Go to Step 4

Go to Step 5

4

Replace the APP sensor. Refer to Accelerator Pedal Position Sensor Replacement.

Is the action complete?

--

Go to Step 12

--

5

  1. Turn OFF the Ignition.
  2. Disconnect the 32-way connector at the power inverter module.
  3. Measure the resistance of the 5 volt reference circuit between the 32-way connector and the APP sensor.

Is the resistance at or below the specified value?

1.0 ohms

Go to Step 6

Go to Step 7

6

Inspect for a short to ground condition on the 5 volt reference circuit between the 32-way connector and the APP sensor harness.

Was a short to ground condition found?

--

Go to Step 10

Go to Step 8

7

Repair the high resistance condition between the 32-way connector and the APP sensor connector. Refer to Connector Repairs or Wiring Repairs in Wiring Systems.

Is the action complete?

--

Go to Step 12

--

8

Inspect for a poor connection at the 32-way connector on the 5 volt reference circuit at the power inverter module.

Was a problem found?

--

Go to Step 9

Go to Step 11

9

Repair the poor connection condition at the power inverter module 32-way connector. Refer to Connector Repairs or Wiring Repairs in Wiring Systems.

Is the action complete?

--

Go to Step 12

--

10

Repair the short to ground on the APP 5 volt reference circuit. Refer to Wiring Repairs in Wiring Systems.

Is the action complete?

--

Go to Step 12

--

11

Important: When replacing the power inverter module always program the drive motor control module, which is contained inside the power inverter module.

Replace the power inverter module. Refer to Power Inverter Module Replacement.

Is the action complete?

--

Go to Step 12

--

12

Clear the DTCs. Refer to the Conditions for Clearing the Diagnostic Trouble Codes.

Is the action complete?

--

Go to OBD System Check

--


Object Number: 264058  Size: MF

Circuit Description

The accelerator pedal position (APP) sensor module consists of 3 potentiometers, which provide voltages (in proportion) to the accelerator pedal position. Sensor 1 output varies from 0.5 volts at closed throttle, to about 4.2 volts at wide open throttle (WOT). Sensor 2 output varies from about 4.3 volts at closed throttle to about 0.8  volts at WOT. Sensor 3 output varies from 4.0 volts at closed throttle to about 1.9 volts at WOT. The drive motor control module re-scales each of the channels and then compares each channel to the other two in order to detect in-range sensor faults. The drive motor control module monitors the 5 volt reference voltage to sensors 2 and 3.

Conditions for Running the DTC

The ignition must be in the RUN position.

Conditions for Setting the DTC

The drive motor control module detects more than 5.4 volts for a minimum of 16 milliseconds (.016 second) on the 5 volt reference line to the APP sensor.

Action Taken When the DTC Sets

The drive motor control module will request the Service Soon lamp.

The DTC will be stored in Failure records.

Conditions for Clearing the MIL/DTC

The ignition must be cycled once after the fault is no longer present.

The DTC can be cleared by using the scan tool Clear Info function.

Diagnostic Aids

A short to power on the 5 volt reference circuit can cause this DTC to set as well as a DTC for the APP 5 volt sensor circuit.

Each of the 3 pedal position sensors has an independent 5 volt power source.

For intermittents, refer to the Symptom table in Intermittents.

Reviewing the Failure Records since the diagnostic test failed may help determine how often the conditions occur that caused the DTC to set. This may assist in diagnosing the condition.

Test Description

The numbers below refer to the step numbers on the diagnostic table.

  1. This step checks for the correct voltage output of the power inverter module to the accelerator pedal position (APP) sensor.

  2. This step checks for a short to voltage between the power inverter module and the APP sensor on the 5 volt reference line.

  3. This step checks for a short to voltage between the power inverter module and the APP sensor on the 5 volt reference circuits for the other APP sensors which can cause this DTC to set.

Step

Action

Value(s)

Yes

No

1

Was the On-Board Diagnostic (OBD) System Check performed?

--

Go to Step 2

Go to OBD System Check

2

Are DTCs 018 or 021 set?

--

Go to Applicable DTC table.

Go to Step 3

3

  1. Turn the Ignition ON.
  2. With the 32-way power inverter module connector installed, measure the voltage of the 5 volt APP reference circuit for which this DTC applies at the power inverter module.

Is the voltage at or above the specified value?

5.4V

Go to Step 4

Go to Step 7

4

  1. Turn the ignition OFF.
  2. Remove the 32-way connector at the power inverter module.
  3. Remove the APP sensor connector.
  4. Turn the ignition ON.
  5. Inspect for a short to voltage between the 32-way connector and the APP sensor connector.

Was a short to voltage found?

--

Go to Step 6

Go to Step 5

5

  1. Leave the 32-way connector at the power inverter module disconnected.
  2. Inspect for a short to voltage on the other APP 5 volt reference circuits for which this DTC does not apply.

Was a short to voltage found?

--

Go to Step 6

Go to Step 7

6

Repair the short to voltage condition. Refer to Wiring Repairs in Wiring Systems.

Is the action complete?

--

Go to Step 8

--

7

Important: When replacing the power inverter module always program the drive motor control module, which is contained inside the power inverter module.

Replace the power inverter module. Refer to Power Inverter Module Replacement.

Is the action complete?

--

Go to Step 8

--

8

Clear the DTCs. Refer to the Conditions for Clearing the Diagnostic Trouble Codes.

Is the action complete?

--

Go to OBD System Check

--


Object Number: 264058  Size: MF

Circuit Description

The accelerator pedal position (APP) sensor module consists of 3 potentiometers, which provide voltages (in proportion) to the accelerator pedal position. Sensor 1 output varies from 0.5 volts at closed throttle, to about 4.2 volts at wide open throttle (WOT). Sensor 2 output varies from about 4.3  volts at closed throttle to about 0.8  volts at WOT. Sensor 3 output varies from 4.0  volts at closed throttle to about 1.9  volts at WOT. The drive motor control module re-scales each of the channels and then compares each channel to the other two in order to detect in-range sensor faults. The drive motor control module monitors the 5 volt reference voltage to sensors 2 and 3.

Conditions for Running the DTC

The ignition must be in the RUN position.

Conditions for Setting the DTC

The drive motor control module detects less than 3.5 volts for a minimum of 16 milliseconds (.016 seconds) on the 5 volt reference line to the APP sensor.

Action Taken When the DTC Sets

Drive Motor Control Module will request the Service Soon lamp.

DTC will be stored in Failure records.

Conditions for Clearing the MIL/DTC

The ignition must be cycled once after the fault is no longer present.

The DTC can be cleared by using the scan tool Clear Info function.

Diagnostic Aids

A short to ground on the 5 volt reference circuit can cause this DTC to set.

Each of the 3 pedal position sensors has an independent 5 volt power source.

For intermittents, refer to the Symptom table in Intermittents.

Reviewing the Failure Records since the diagnostic test failed may help determine how often the conditions occur that caused the DTC to set. This may assist in diagnosing the condition.

Test Description

The numbers below refer to the step numbers on the diagnostic table.

  1. This step checks for the 5 volt reference at the power inverter module.

  2. This step determines if the accelerator pedal position (APP) sensor needs replacement.

  3. This step checks for excessive resistance or an open condition between the power inverter module and the APP sensor.

  4. This step checks for a short to ground condition.

Step

Action

Value(s)

Yes

No

1

Was the On-Board Diagnostic (OBD) System Check performed?

--

Go to Step 2

Go to OBD System Check

2

  1. Turn the ignition On.
  2. Leaving the 32-way connector installed, measure the voltage at the power inverter module of the 5 volt reference circuit.

Is the voltage at or above the specified value?

3.5V

Go to Step 11

Go to Step 3

3

  1. Turn the ignition OFF.
  2. Disconnect the APP sensor harness connector.
  3. Turn the ignition On.
  4. Measure the voltage at the APP sensor of the 5 volt reference circuit .

Is the voltage at or above the specified value?

4.5V

Go to Step 4

Go to Step 5

4

Replace the APP sensor. Refer to Accelerator Pedal Position Sensor Replacement.

Is the action complete?

--

Go to Step 12

--

5

  1. Turn OFF the Ignition.
  2. Disconnect the 32-way connector at the power inverter module.
  3. Measure the resistance of the 5 volt reference circuit between the 32-way connector and the APP sensor.

Is the resistance at or below the specified value?

1.0 ohms

Go to Step 6

Go to Step 7

6

Inspect for a short to ground condition on the 5 volt reference circuit between the 32-way connector and the APP sensor harness.

Was a short to ground condition found?

--

Go to Step 10

Go to Step 8

7

Repair the high resistance condition between the 32-way connector and the APP sensor connector. Refer to Connector Repairs or Wiring Repairs in Wiring Systems.

Is the action complete?

--

Go to Step 12

--

8

Inspect for a poor connection at the 32-way connector on the 5 volt reference circuit at the power inverter module.

Was a problem found?

--

Go to Step 9

Go to Step 11

9

Repair the poor connection condition at the power inverter module 32-way connector. Refer to Connector Repairs or Wiring Repairs in Wiring Systems.

Is the action complete?

--

Go to Step 12

--

10

Repair the short to ground on the APP 5 volt reference circuit. Refer to Wiring Repairs in Wiring Systems.

Is the action complete?

--

Go to Step 12

--

11

Important: When replacing the power inverter module always program the drive motor control module, which is contained inside the power inverter module.

Replace the power inverter module. Refer to Power Inverter Module Replacement.

Is the action complete?

--

Go to Step 12

--

12

Clear the DTCs. Refer to the Conditions for Clearing the Diagnostic Trouble Codes.

Is the action complete?

--

Go to OBD System Check

--


Object Number: 264058  Size: MF

Circuit Description

The accelerator pedal position (APP) sensor module consists of 3 potentiometers, which provide voltages (in proportion) to the accelerator pedal position. Sensor 1 output varies from 0.5 volts at closed throttle, to about 4.2 volts at wide open throttle (WOT). Sensor 2 output varies from about 4.3 volts at closed throttle to about 0.8  volts at WOT. Sensor 3 output varies from 4.0 volts at closed throttle to about 1.9 volts at WOT. The drive motor control module re-scales each of the channels and then compares each channel to the other two in order to detect in-range sensor faults. The drive motor control module monitors the 5 volt reference voltage to sensors 2 and 3.

Conditions for Running the DTC

The ignition must be in the RUN position.

Conditions for Setting the DTC

The drive motor control module detects more than 5.4 volts for a minimum of 16 milliseconds (.016 second) on the 5 volt reference line to the APP sensor.

Action Taken When the DTC Sets

The drive motor control module will request the Service Soon lamp.

The DTC will be stored in Failure records.

Conditions for Clearing the MIL/DTC

The ignition must be cycled once after the fault is no longer present.

The DTC can be cleared by using the scan tool Clear Info function.

Diagnostic Aids

A short to power on the 5 volt reference circuit can cause this DTC to set as well as a DTC for the APP 5 volt sensor circuit.

Each of the 3 pedal position sensors has an independent 5 volt power source.

For intermittents, refer to the Symptom table in Intermittents.

Reviewing the Failure Records since the diagnostic test failed may help determine how often the conditions occur that caused the DTC to set. This may assist in diagnosing the condition.

Test Description

The numbers below refer to the step numbers on the diagnostic table.

  1. This step checks for the correct voltage output of the power inverter module to the accelerator pedal position (APP) sensor.

  2. This step checks for a short to voltage between the power inverter module and the APP sensor on the 5 volt reference line.

  3. This step checks for a short to voltage between the power inverter module and the APP sensor on the 5 volt reference circuits for the other APP sensors which can cause this DTC to set.

Step

Action

Value(s)

Yes

No

1

Was the On-Board Diagnostic (OBD) System Check performed?

--

Go to Step 2

Go to OBD System Check

2

Are DTCs 018 or 021 set?

--

Go to Applicable DTC table.

Go to Step 3

3

  1. Turn the Ignition ON.
  2. With the 32-way power inverter module connector installed, measure the voltage of the 5 volt APP reference circuit for which this DTC applies at the power inverter module.

Is the voltage at or above the specified value?

5.4V

Go to Step 4

Go to Step 7

4

  1. Turn the ignition OFF.
  2. Remove the 32-way connector at the power inverter module.
  3. Remove the APP sensor connector.
  4. Turn the ignition ON.
  5. Inspect for a short to voltage between the 32-way connector and the APP sensor connector.

Was a short to voltage found?

--

Go to Step 6

Go to Step 5

5

  1. Leave the 32-way connector at the power inverter module disconnected.
  2. Inspect for a short to voltage on the other APP 5 volt reference circuits for which this DTC does not apply.

Was a short to voltage found?

--

Go to Step 6

Go to Step 7

6

Repair the short to voltage condition. Refer to Wiring Repairs in Wiring Systems.

Is the action complete?

--

Go to Step 8

--

7

Important: When replacing the power inverter module always program the drive motor control module, which is contained inside the power inverter module.

Replace the power inverter module. Refer to Power Inverter Module Replacement.

Is the action complete?

--

Go to Step 8

--

8

Clear the DTCs. Refer to the Conditions for Clearing the Diagnostic Trouble Codes.

Is the action complete?

--

Go to OBD System Check

--