GM Service Manual Online
For 1990-2009 cars only

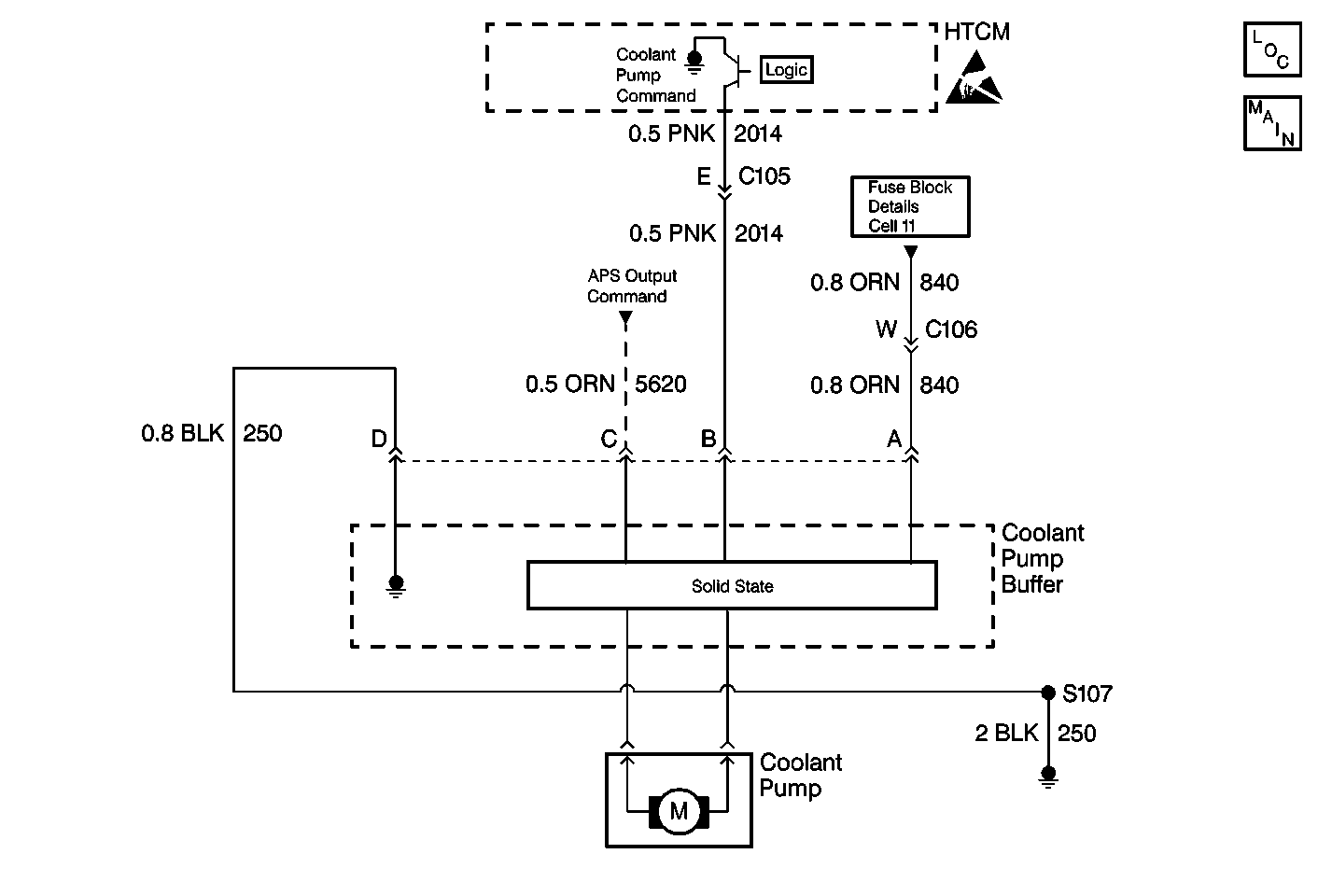
Coolant Pump System Check 1998


Object Number: 366841  Size: MF

Coolant Pump Diagnosis

The coolant pump is controlled by the HTCM. The HTCM sends a speed command to the coolant pump buffer which controls the coolant pump speed by pulse width modulating (percent duty cycle) the power to the pump. The coolant pump should operate any time the key is ON or the charge paddle is inserted into the charge receptacle. The coolant pump will operate at a faster speed whenever the A/C mode or the Heat Pump mode is selected.

Failure Modes

The coolant pump will not operate under the following conditions:

    • The pump motor fails.
    • The coolant pump buffer fails.
    • The HTCM fails.
    • Power or ground is lost to the buffer.
    • One or more of the wires between the components opens or shorts to ground.
    • Communication is lost between the HTCM and the BPCM.

Failure Action

If the coolant pump fails, charging and propulsion may be disabled if the temperature of the following components rises too high:

    • The power inverter module (PIM)
    • The drive motor
    • The coolant
    • The charge receptacle

Related DTCs

    • HTCM DTC 014
    • HTCM DTC 047
    • HTCM DTC 050
    • HTCM DTC 052

Telltale Illuminated

None

Other Control Interfaces

    • The battery pack control module (BPCM)
    • The drive motor control module (DMCM)

Diagnostic Aids

    • Inspect the tightness of the female terminal grip with a spare male terminal.
    • If the problem is intermittent, wiggle the wire harness while observing a scan tool. Inspect for a value change or for the DTC to set.

Step

Action

Value(s)

Yes

No

1

Did you perform the HVAC System Check?

--

Go to Step 2

Go to HVAC System Check

2

  1. Turn the ignition ON.
  2. Observe the vent lines in the coolant reservoir.

Does the coolant pump operate?

--

Go to Diagnostic Aids

Go to Step 3

3

  1. Disconnect the coolant pump buffer connector.
  2. Test CKT 250 (BLK) for an open or high resistance condition using a J 39200 digital multimeter (DMM).

Is an open or high resistance condition present?

--

Go to Step 4

Go to Step 5

4

Repair the open or high resistance condition in CKT 250 (BLK) between the coolant pump buffer connector pin D and ground.

Is the repair complete?

--

Go to Step 18

--

5

Test for voltage at pin A of the coolant pump buffer connector.

Is the voltage greater than the specified value?

10 V

Go to Step 7

Go to Step 6

6

Locate and repair the loss of voltage on CKT 840 (ORN) between the coolant pump buffer and the fuse block.

Is the repair complete?

--

Go to Step 18

--

7

Test for voltage at pin C of the coolant pump buffer connector.

Is the voltage greater than the specified value?

10 V

Go to Step 9

Go to Step 8

8

Locate and repair the loss of voltage on CKT 5620 (ORN) between power distribution and the coolant pump buffer.

Is the repair complete?

--

Go to Step 18

--

9

Test for voltage at pin B of the coolant pump buffer connector.

Is the voltage greater than the specified value?

1.0 V

Go to Step 13

Go to Step 10

10

Test for voltage at the C2 connector of the HTCM by backprobing pin C11.

Is the voltage greater than the specified value?

1.0 V

Go to Step 11

Go to Step 12

11

Locate and repair the open in CKT 2014 (PNK) between the HTCM and the coolant pump buffer.

Is the repair complete?

--

Go to Step 18

--

12

  1. Test CKT 2014 (PNK) for a short to ground.
  2. If the wire is OK, replace the HTCM.

Is the repair complete?

--

Go to Step 18

--

13

  1. Turn the ignition OFF.
  2. Disconnect the coolant pump connector.
  3. Reconnect the coolant pump buffer connector.
  4. Turn the ignition ON.
  5. Connect a J 39200 DMM between ground and each cavity on the coolant pump connector.

Does either cavity indicate voltage greater than the specified value?

10 V

Go to Step 15

Go to Step 14

14

Replace the coolant pump buffer.

Is the repair complete?

--

Go to Step 18

--

15

Connect a J 39200 DMM between both cavities at the coolant pump connector.

Is the voltage greater than the specified value?

10 V

Go to Step 16

Go to Step 17

16

Replace the coolant pump.

Is the repair complete?

--

Go to Step 18

--

17

Replace the coolant pump buffer.

Is the repair complete?

--

Go to Step 18

--

18

  1. Reconnect all of the disconnected components.
  2. Clear the DTCs.

Is the action complete?

--

Go to HVAC System Check

--