GM Service Manual Online
For 1990-2009 cars only
Figure 1:

Underhood Fuse Block


Object Number: 472887  Size: MF
Figure 2:

G102, G105 and G113


Object Number: 397714  Size: MF
(1)G105
(2)G113
(3)G102
Figure 3:

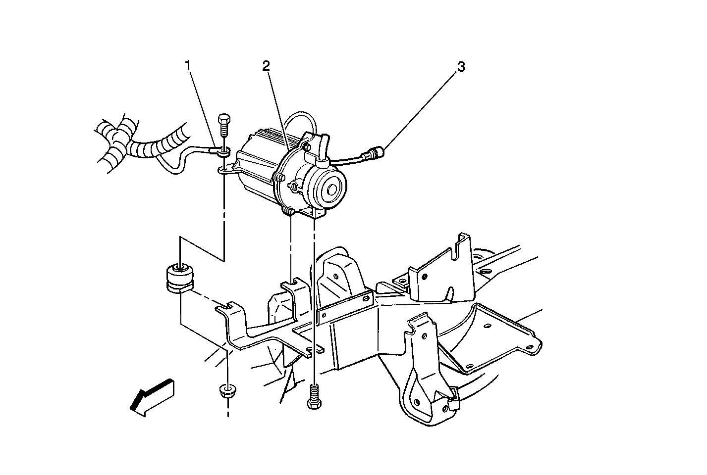
Power Steering Pump and G101


Object Number: 397730  Size: MF
(1)G101
(2)Power Steering Pump
(3)Power Steering Pump High Voltage Connector
Figure 4:

IP Fuse Block, Headlamp Switch and C217


Object Number: 397734  Size: MF
(1)IP Speaker, LH
(2)Headlamp Switch Connector
(3)Headlamp Switch
(4)Door Jamb Switch, LH
(5)IP Fuse Block
(6)C217
(7)Courtesy Lamp, LH
(8)IP Fuse Block
Figure 5:

Body Relay Block (Location)


Object Number: 397742  Size: MF
(1)Mag-Beam
(2)Body Relay Block
Figure 6:

Underhood Fuse Block (Location)


Object Number: 363676  Size: MF
(1)Underhood Fuse Block
(2)Battery Positive Stud
(3)Battery Positive Cable
Figure 7:

Steering Column


Object Number: 363688  Size: MF
(1)Ignition Switch and Ignition Key In Alarm Switch
(2)Hazard Switch Connector
(3)Hazard Switch
(4)Supplemental Inflatable Restraint Steering Wheel Module Coil
(5)C215
(6)Supplemental Inflatable Restraint Wheel Inflator Module Connector
(7)Multifunction Switch
(8)Park Position Switch Connector
(9)C211 (A,B,C)
(10)BTSI Actuator
(11)Shift Lever
Figure 8:

Drive Motor


Object Number: 363694  Size: MF
(1)Drive Motor
(2)Drive Motor Ground Strap
Figure 9:

Underhood Fuse Block Connectors


Object Number: 363728  Size: MF
(1)Underhood Fuse Block - C1
(2)Underhood Fuse Block - C2
(3)Underhood Fuse Block - C5
(4)Underhood Fuse Block - C6
(5)Underhood Fuse Block - C3
(6)Underhood Fuse Block - C4
Figure 10:

G111, G112, SP100 and SP101


Object Number: 363743  Size: MF
(1)SP101
(2)G111
(3)SP100
(4)G112
Figure 11:

Cigar Lighter


Object Number: 363746  Size: MF
(1)Cigar Lighter Housing
(2)Cigar Lighter
Figure 12:

Underhood Lamp and G120


Object Number: 363747  Size: MF
(1)Hood
(2)Underhood Lamp
(3)G120
(4)Underhood Lamp Connector
Figure 13:

C400, G400, G422, G475, SP400 and SP402


Object Number: 363751  Size: MF
(1)Frame Rail, LR
(2)C400
(3)Frame Rail, RR
(4)G422
(5)SP400
(6)G400
(7)G475
(8)SP402
Figure 14:

Body Relay Block


Object Number: 390261  Size: LF
(1)Park Lamp Relay
(2)Courtesy Lamp Relay
(3)Retained Accessory Power Relay
(4)Power Seats Circuit Breaker (Not Used)
(5)Power Windows Circuit Breaker (Not Used)
(6)Inadvertent Power Relay
(7)Door Lock Relay (Not Used)
(8)Headlamp Ground Relay
(9)Driver Door Unlock Relay (Not Used)
(10)Door Unlock Relay (Not Used)
Figure 15:

Auxiliary Battery, Power Electronics Bay (PEB) and G113


Object Number: 363614  Size: MF
(1)Auxiliary Battery
(2)Auxiliary Battery Positive Cable
(3)Auxiliary Battery Negative Cable
(4)Power Electronics Bay (PEB)
(5)G113
Figure 16:

Mega Fuse and Underhood Fuse Block (UFB) Battery Positive Stud


Object Number: 363656  Size: MF
(1)Mega Fuse
(2)Underhood Fuse Block (UFB) Battery Positive Stud