GM Service Manual Online
For 1990-2009 cars only

Removal Procedure


    Object Number: 1332406  Size: SH
  1. Remove the left knee bolster trim. Refer to Driver Knee Bolster Replacement in Instrument Panel, Gages, and Console.

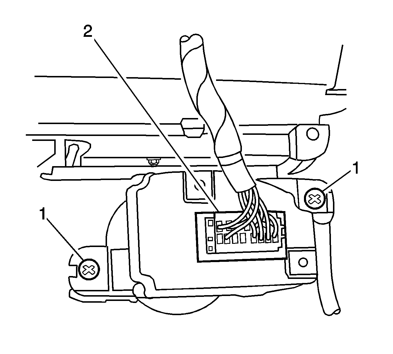
  2. Object Number: 1332513  Size: SH
  3. Disconnect the electrical connector (2).
  4. Remove the screws securing the switch (1).

Installation Procedure

    Notice: Refer to Fastener Notice in the Preface section.


    Object Number: 1332513  Size: SH
  1. Connect the electrical connector (2).
  2. Install the screws (1) securing the switch to the trim panel.
  3. Tighten
    Tighten the screws to 2 N·m (18 lb in).


    Object Number: 1332406  Size: SH
  4. Install the left knee bolster trim. Refer to Driver Knee Bolster Replacement in Instrument Panel, Gages, and Console.