GM Service Manual Online
For 1990-2009 cars only

Removal Procedure


    Object Number: 1362522  Size: SH
  1. Cycle the folding top to reveal the body rear accessory compartment.
  2. Turn the ignition switch to the OFF position.

  3. Object Number: 1386454  Size: SH
  4. Loosen the nuts and remove the lid from the body accessory compartment.
  5. Remove the folding top control module. Refer to Folding Top Control Module Replacement in Roof.
  6. Remove the rear relay center. Refer to Rear Electrical Center or Junction Block Replacement in Wiring Systems.
  7. Remove the daytime running lamps (DRL) diode. Refer to Daytime Running Lamp (DRL) Diode Replacement in Lighting Systems.

  8. Object Number: 1344058  Size: SH
  9. Remove the 4 fasteners retaining the intermediate bracket.

  10. Object Number: 1344086  Size: SH
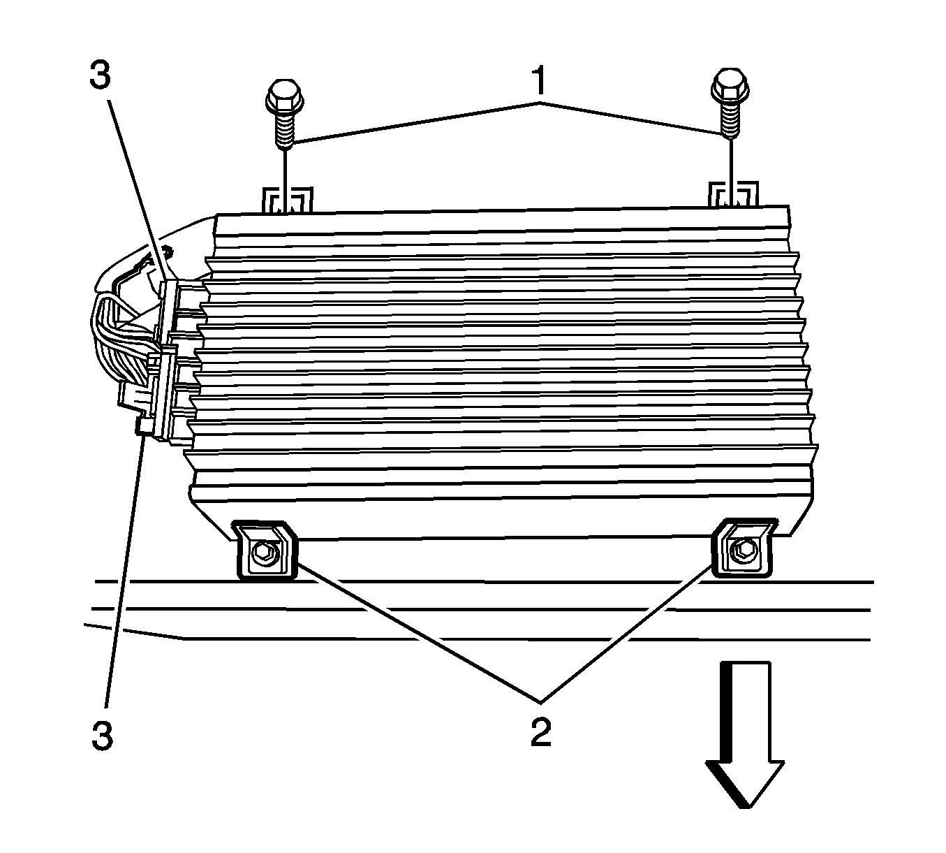
  11. Disconnect the electrical connectors to the amplifier (3).
  12. Remove the 4 fasteners (1, 2) retaining the amplifier to the body rear accessory compartment.
  13. Remove the amplifier from the vehicle.

Installation Procedure

    Notice: Refer to Fastener Notice in the Preface section.


    Object Number: 1344086  Size: SH
  1. Connect the electrical connectors (3) to the amplifier.
  2. Install the 4 fasteners (1, 2) that hold the amplifier to the bin.
  3. Tighten
    Tighten the fasteners to 9 N·m (80 lb in).


    Object Number: 1344058  Size: SH
  4. Install the 4 fasteners retaining the intermediate bracket.
  5. Tighten
    Tighten the fasteners to 2 N·m (18 lb in).

  6. Install the folding top control module. Refer to Folding Top Control Module Replacement in Roof.
  7. Install the rear relay center. Refer to Rear Electrical Center or Junction Block Replacement in Wiring Systems.
  8. Install the DRL diode. Refer to Daytime Running Lamp (DRL) Diode Replacement in Lighting Systems.

  9. Object Number: 1386454  Size: SH
  10. Install the lid to the body accessory compartment.
  11. Tighten
    Tighten the nuts to 7 N·m (62 lb in).

  12. Close the folding top.