GM Service Manual Online
For 1990-2009 cars only
Figure 1:

Rear Window Defogger Grid


Object Number: 1364511  Size: LF
(1)Rear Window Defogger Grid
(2)Temperature Switch
(3)Blower Motor Switch
(4)Mode Switch
(5)Rear Defrost Switch
(6)Recirc Switch
(7)A/C Switch
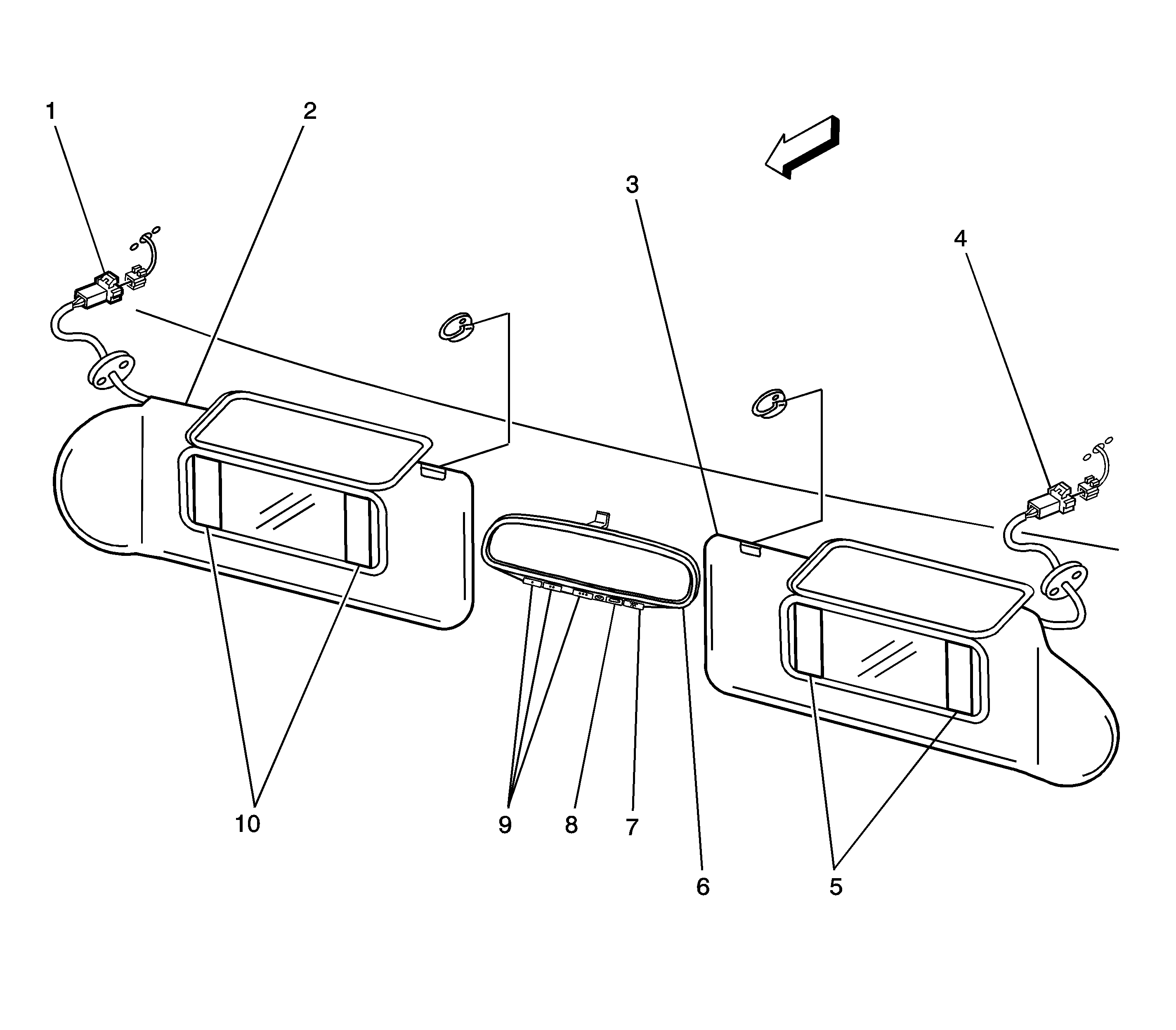
Figure 2:

ISRVM and Vanity Mirror


Object Number: 1394146  Size: LF
(1)Vanity Mirror Lamp - Left Connector
(2)Left Sunshade
(3)Right Sunshade
(4)Vanity Mirror Lamp - Right Connector
(5)Vanity Mirror Lamp - Right
(6)Inside Rearview Mirror
(7)Reading Lamp Switch
(8)Electrochromic Mirror On/Off Switch
(9)Garage Door Opener
(10)Vanity Mirror Lamp - Left