GM Service Manual Online
For 1990-2009 cars only
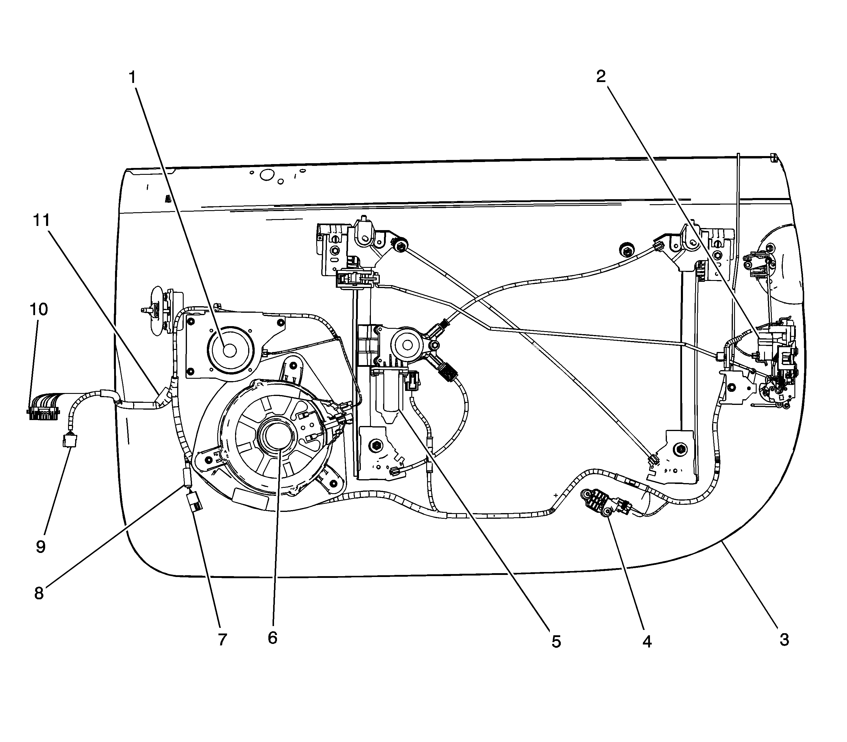
Figure 1:

Driver Door Components (Premium Radio)


Object Number: 1238390  Size: LF
(1)Outside Rearview Mirror Switch
(2)Speaker - LF Door Midrange
(3)S501
(4)C500
(5)C501
(6)S500
(7)Outside Rearview Mirror - Driver
(8)Speaker - LF Door
(9)S502
(10)Window Motor - Driver
(11)Inflatable Restraint Side Impact Sensor (SIS) - Left
(12)Door Latch Assembly - Driver
Figure 2:

Passenger Door Components (Premium Radio)


Object Number: 1238392  Size: LF
(1)Speaker - RF Door Midrange
(2)Door Latch Assembly - Passenger
(3)Passenger Door
(4)Inflatable Restraint Side Impact Sensor (SIS) - Right
(5)Window Motor - Passenger
(6)S602
(7)Speaker - RF Door
(8)Outside Rearview Mirror - Passenger
(9)S600
(10)C601
(11)C600
(12)S601
Figure 3:

Center Console Components


Object Number: 1295195  Size: LF
(1)Passenger Window Switch
(2)Door Lock/Unlock Switch
(3)Retractable Roof Switch
(4)Center Console Switch Assembly
(5)Traction ON/OFF Switch
(6)Driver Window Switch
Figure 4:

Power Mirror Components


Object Number: 1295059  Size: LF
(1)Outside Rearview Mirror Switch
(2)Outside Rearview Mirror - Driver
(3)Outside Rearview Mirror - Passenger
(4)Passenger Door
(5)Speaker - RF Door
(6)Speaker - RF Door Midrange
(7)Speaker - LF Door Midrange
(8)Speaker - RF Door
(9)Driver Door