GM Service Manual Online
For 1990-2009 cars only

1500 Crew Cab


Object Number: 1613542  Size: B3
  1. Knob

  2. Retaining Hook

  3. Wheel Blocks

  4. Wing Nut Retaining Wheel Blocks

  5. Jack

Regular Cab and Crew Cab (Except 1500 Crew Cab)


Object Number: 1613532  Size: B3
  1. Wing Nut Retaining Wheel Blocks

  2. Wheel Blocks

  3. Retaining Bracket and Wing Nut

  4. Tool Kit and Jack Tools

  5. Retaining Hook

  6. Jack

  7. Knob

Extended Cab


Object Number: 1640980  Size: B4
  1. Wing Nut Retaining Wheel Blocks

  2. Wheel Blocks

  3. Retaining Hook

  4. Jack

  5. Knob

  6. Tool Kit and Jack Tools

  7. Retaining Bracket and Wing Nut

Extended Cab Short Box


Object Number: 1639957  Size: B4
  1. Wing Nut Retaining Wheel Blocks

  2. Wheel Blocks

  3. Jack

  4. Retaining Hook

  5. Knob

  6. Retaining Bracket and Wing Nut

  7. Tool Kit and Jack Tools

For regular cab models, the equipment you will need is behind the passenger's seat. For extended and crew cab models, the equipment is on the shelf behind the passenger's side second row seat.

  1. If there is a cover, move the seats forward and turn the wing nut on the cover counterclockwise to remove it. For crew cab models, pull up the second row seat with the loop at the base of the seat cushion to access the tools.
  2. Turn the knob on the jack counterclockwise to lower the jack head to release the jack from its holder.
  3. Remove the wheel blocks and the wheel block retainer by turning the wing nut counterclockwise.
  4. Remove the wing nut used to retain the storage bag and tools by turning it counterclockwise.

You will use the jack handle extensions and the wheel wrench to remove the underbody-mounted spare tire.


  1. Object Number: 880766  Size: B4

    Spare Tire (Valve Stem Pointed Down)

  2. Hoist Assembly

  3. Hoist Cable

  4. Tire/Wheel Retainer

  5. Hoist Shaft

  6. Hoist End of Extension Tool

  7. Hoist Shaft Access Hole

  8. Wheel Wrench

  9. Jack Handle Extensions

  10. Spare Tire Lock (If Equipped)

  1. Open the spare tire lock cover on the bumper and use the ignition key to remove the lock, if equipped with a spare tire lock (J). To remove the spare tire lock, insert the key, turn and pull straight out.

  2. Object Number: 805764  Size: B2
  3. Assemble the wheel wrench (H) and the two jack handle extensions (I) as shown.

  4. Object Number: 805774  Size: A3

    Insert the hoist end (open end) (F) of the extension through the hole (G) in the rear bumper.

  5. Be sure the hoist end of the extension (F) connects to the hoist shaft (E). The ribbed square end of the extension is used to lower the spare tire.
  6. Turn the wheel wrench (H) counterclockwise to lower the spare tire to the ground. Continue to turn the wheel wrench until the spare tire can be pulled out from under the vehicle.
  7. If the spare tire does not lower to the ground, the secondary latch is engaged causing the tire not to lower. See Secondary Latch System .


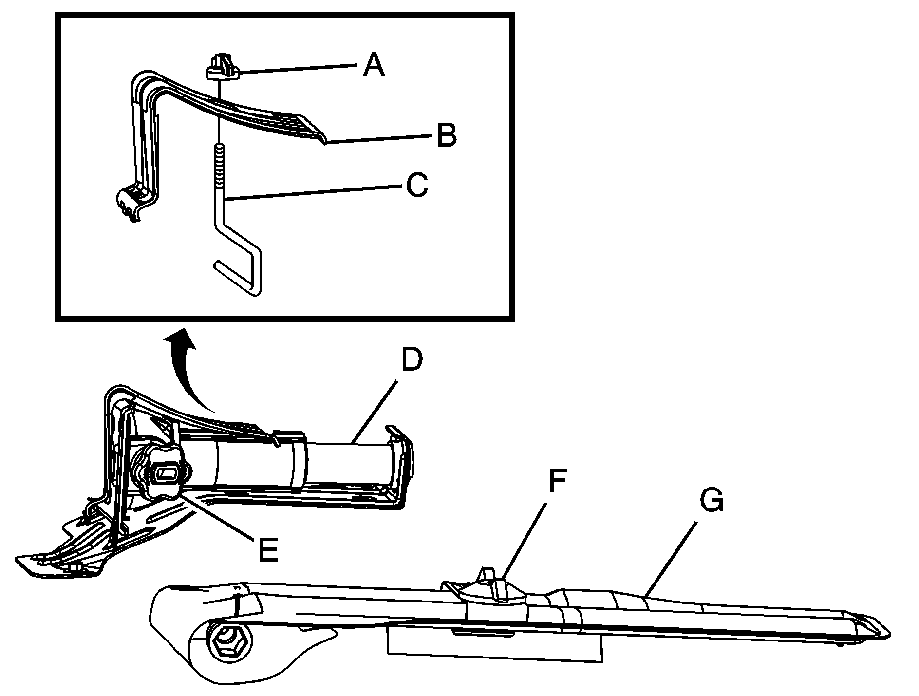
    Object Number: 805763  Size: A2

    Use the wheel wrench hook which allows you to pull the hoist cable towards you to assist in reaching the spare tire.


    Object Number: 1613524  Size: A2

    Tilt the retainer at the end of the cable when the tire has been lowered, so it can be pulled up through the wheel opening.

  8. Put the spare tire near the flat tire.