GM Service Manual Online
For 1990-2009 cars only
Figure 1:

Intake Manifold/Upper Engine


Object Number: 1277082  Size: LF
(307)Engine Coolant Air Bleed Pipe
(308)Engine Coolant Air Bleed Pipe/Cover Seal
(308)Engine Coolant Air Bleed Pipe/Cover Seal
(309)Engine Coolant Air Bleed Pipe Bolt
(310)Engine Coolant Air Bleed Hose Clamp
(311)Engine Coolant Air Bleed Hose
(312)Engine Coolant Air Bleed Cover Bolt
(313)Engine Coolant Air Bleed Cover
(500)Intake Manifold
(506)Valley Cover Bolt
(507)Throttle Body Nut
(508)Throttle Body
(509)Throttle Body Gasket
(510)Fuel Rail with Injectors
(511)Fuel Rail Bolt
(512)Intake Manifold Bolt
(513)Intake Manifold Seal
(514)Intake Manifold Gasket
(520)Knock Sensor Oil Seals
(555)Valley Cover
(556)Valley Cover Gasket
(708)Evaporative Emission (EVAP) Canister Purge Solenoid Valve
(709)EVAP Canister Purge Solenoid Valve Isolator
(710)EVAP Canister Purge Solenoid Valve Bolt
(711)Fuel Pressure Regulator Vacuum Hose - RPO L59
(712)Fuel Rail Stop Bracket
(713)Fuel Rail Stop Bracket Bolt
(714)Manifold Absolute Pressure (MAP) Sensor
(715)MAP Sensor Seal
(716)Positive Crankcase Ventilation (PCV) Hose - Dirty Air
(717)Knock Sensor Wire Harness
(718)Knock Sensor
(729)EVAP Canister Purge Solenoid Valve Seal
Figure 2:

Cylinder Head/Upper Engine


Object Number: 1481568  Size: LF
(209)Valve Lifter
(210)Valve Lifter Guide
(211)Valve Lifter Guide Bolt
(212)Pushrod
(213)Rocker Arm
(214)Rocker Arm Bolt
(215)Rocker Arm Pivot Support
(216)Cylinder Head Core Hole Plug
(217)Cylinder Head Gasket
(218)Cylinder Head
(220)Cylinder Head Bolt - M11
(221)Cylinder Head Bolt - M8
(222)Valve Stem Oil Seal
(222)Valve Stem Oil Seal
(223)Valve Spring
(223)Valve Spring
(224)Valve Spring Cap
(224)Valve Spring Cap
(225)Valve Stem Key
(226)Cylinder Head Core Hole Plug
(227)Intake Valve
(228)Exhaust Valve
(229)Cylinder Head Coolant Plug
(230)Cylinder Head Locating Pin
(422)Oil Fill Tube O-Ring
(423)Oil Fill Tube
(424)Oil Fill Cap
(450)Oil Fill Cap O-Ring
(504)Valve Cover Gasket
(504)Valve Cover Gasket
(505)Valve Cover
(505)Valve Cover
(515)Valve Cover Bolt Grommet
(516)Valve Cover Bolt
(600)Exhaust Manifold
(601)Exhaust Manifold Gasket
(602)Exhaust Manifold Bolt
(603)Exhaust Manifold Heat Shield
(604)Exhaust Manifold Heat Shield Bolt
(700)Positive Crankcase Ventilation (PCV) Hose - Fresh Air
(719)Ignition Coils and Bracket Assembly
(720)Ignition Coil and Bracket Assembly Stud
(721)Ignition Coil Wire Harness
(722)Ignition Coil
(723)Ignition Coil Bolt
(724)Spark Plug Wire
(725)Coolant Temperature Sensor (CTS)
(726)Spark Plug
Figure 3:

Front of Engine


Object Number: 1277084  Size: LF
(100)Engine Block
(138)Crankshaft Balancer
(139)Crankshaft Balancer Bolt
(140)Crankshaft Front Oil Seal
(200)Camshaft
(201)Camshaft Bearings
(202)Camshaft Sprocket Locating Pin
(203)Camshaft Retainer Plate
(204)Camshaft Retainer Plate Bolt
(205)Camshaft Sprocket
(206)Camshaft Sprocket Bolt
(207)Crankshaft Sprocket
(208)Timing Chain
(300)Water Pump
(301)Water Pump Bolt
(302)Water Inlet Housing Bolt
(303)Water Inlet Housing
(304)O-Ring
(305)Thermostat
(306)Water Pump Gasket
(404)Crankshaft Oil Deflector Nut
(405)Oil Pump Screen Bolt
(406)Oil Pump Screen O-Ring
(407)Oil Pump Screen
(408)Oil Pump Cover Bolt
(409)Oil Pump Cover
(410)Drive Gear
(411)Oil Pump Bolt
(412)Driven Gear
(413)Oil Pump Assembly
(414)Pressure Relief Valve
(415)Pressure Relief Valve Spring
(416)Plug
(417)Oil Level Indicator O-Ring
(418)Oil Level Indicator
(419)Oil Level Indicator Tube Bolt
(420)Oil Level Indicator Tube
(421)Oil Level Indicator Tube Seal
(501)Front Cover Bolt
(502)Front Cover
(503)Front Cover Gasket
Figure 4:

Rear of Engine


Object Number: 1277085  Size: LF
(100)Engine Block
(123)Transmission Bearing - Manual Transmission
(131)Flywheel Spacer
(132)Flex Plate - Automatic Transmission
(133)Flywheel Bolt
(134)Flywheel - Manual Transmission
(135)Clutch Driven Plate - Manual Transmission
(136)Clutch Pressure Plate - Manual Transmission
(137)Clutch Pressure Plate Bolt - Manual Transmission
(141)Crankshaft Rear Oil Seal
(142)Clutch Pressure Plate Locating Pin - Manual Transmission
(147)Flex Plate Locator - RPO HP2
(517)Crankshaft Rear Oil Seal Housing Bolt
(518)Crankshaft Rear Oil Seal Housing
(519)Crankshaft Rear Oil Seal Housing Gasket
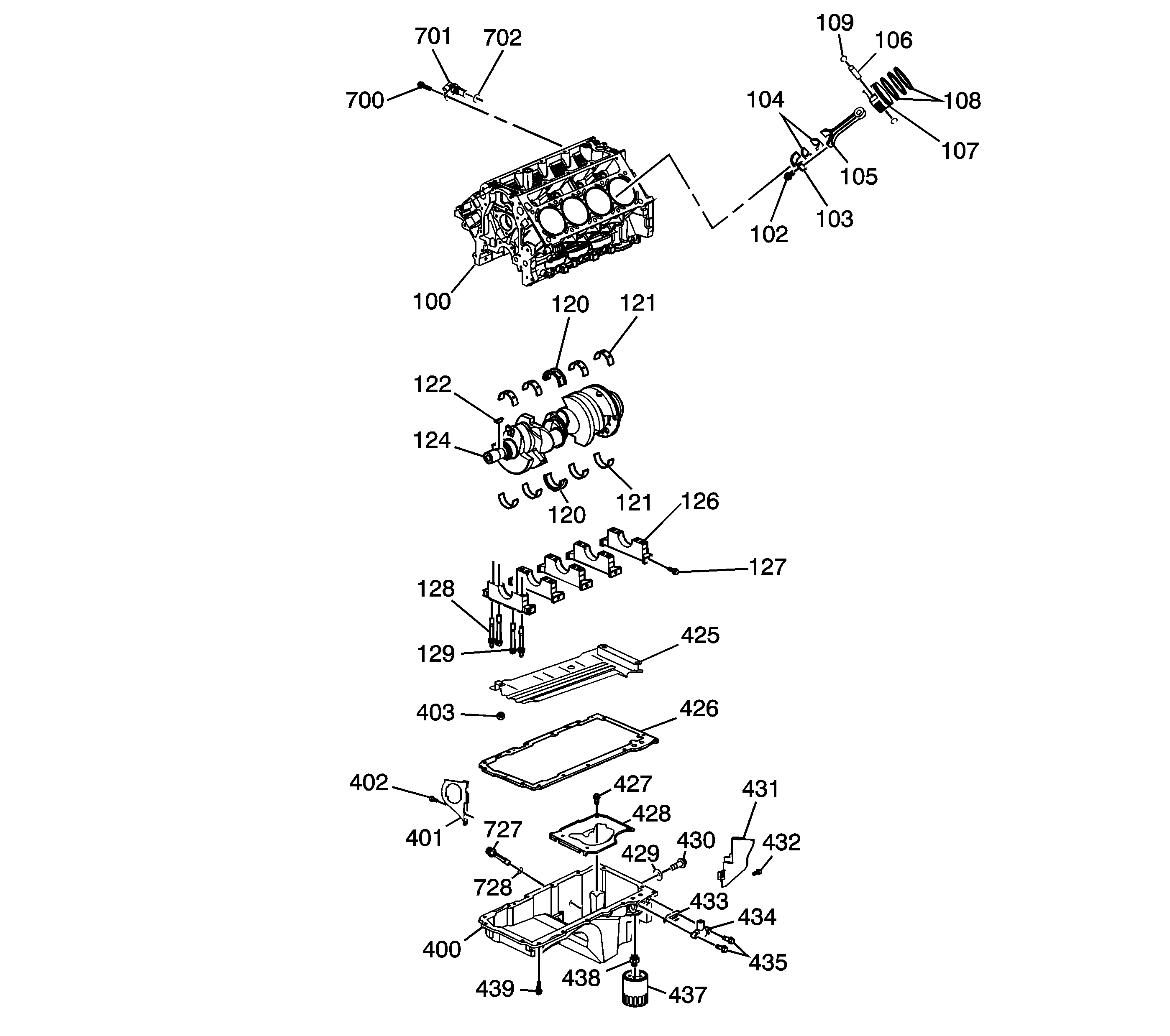
Figure 5:

Lower Engine Assembly


Object Number: 1744515  Size: LF
(100)Engine Block
(102)Connecting Rod Bolt
(103)Connecting Rod Cap
(104)Connecting Rod Bearings
(105)Connecting Rod
(106)Piston Pin
(107)Piston
(108)Piston Rings
(109)Piston Pin Retainer
(120)Crankshaft Thrust Bearing
(120)Crankshaft Thrust Bearing
(121)Crankshaft Main Bearing
(121)Crankshaft Main Bearing
(122)Crankshaft Sprocket Key
(124)Crankshaft
(126)Crankshaft Bearing Cap
(127)Crankshaft Bearing Cap Bolt - M8
(128)Crankshaft Bearing Cap Stud - M10
(129)Crankshaft Bearing Cap Bolt - M10
(400)Oil Pan
(401)Closeout Cover - Right
(402)Closeout Cover Bolt - Right
(403)Crankshaft Oil Deflector Nut
(425)Crankshaft Oil Deflector
(426)Oil Pan Gasket
(427)Oil Pan Baffle Bolt
(428)Oil Pan Baffle
(429)Oil Pan Drain Plug O-Ring
(430)Oil Pan Drain Plug
(431)Closeout Cover - Left
(432)Closeout Cover Bolt - Left
(433)Oil Pan Cover Gasket
(434)Oil Pan Cover
(435)Oil Pan Cover Bolts
(437)Oil Filter
(438)Oil Filter Fitting
(439)Oil Pan Bolt
(700)Crankshaft Position (CKP) Sensor Bolt
(701)CKP Sensor
(702)CKP Sensor O-Ring
(727)Oil Level Sensor
(728)Oil Level Sensor O-Ring
Figure 6:

Engine Block Plugs/Sensors


Object Number: 1277087  Size: LF
(100)Engine Block
(101)Oil Gallery Plug - Front
(110)O-Ring
(110)O-Ring
(111)Oil Gallery Plug - Rear
(111)Oil Gallery Plug - Rear
(112)Oil Gallery Plug - Side
(113)Washer
(114)Engine Block Coolant Heater
(115)Washer
(116)Oil Gallery Plug - Side
(117)Washer
(130)Transmission Housing Locating Pin
(145)Washer
(146)Coolant Drain Hole Plug - Right
(148)Coolant Fitting - RPO HP2
(700)Crankshaft Position (CKP) Sensor Bolt
(701)CKP Sensor
(702)CKP Sensor O-Ring
(703)Camshaft Position (CMP) Sensor
(704)CMP Sensor O-Ring
(705)CMP Sensor Bolt
(706)Oil Pressure Sensor
(707)Washer
Figure 7:

Oil Pump Assembly


Object Number: 1272779  Size: SF
(408)Cover Bolt
(409)Cover
(410)Drive Gear
(412)Driven Gear
(413)Oil Pump
(414)Pressure Relief Valve
(415)Pressure Relief Valve Spring
(416)Plug