GM Service Manual Online
For 1990-2009 cars only

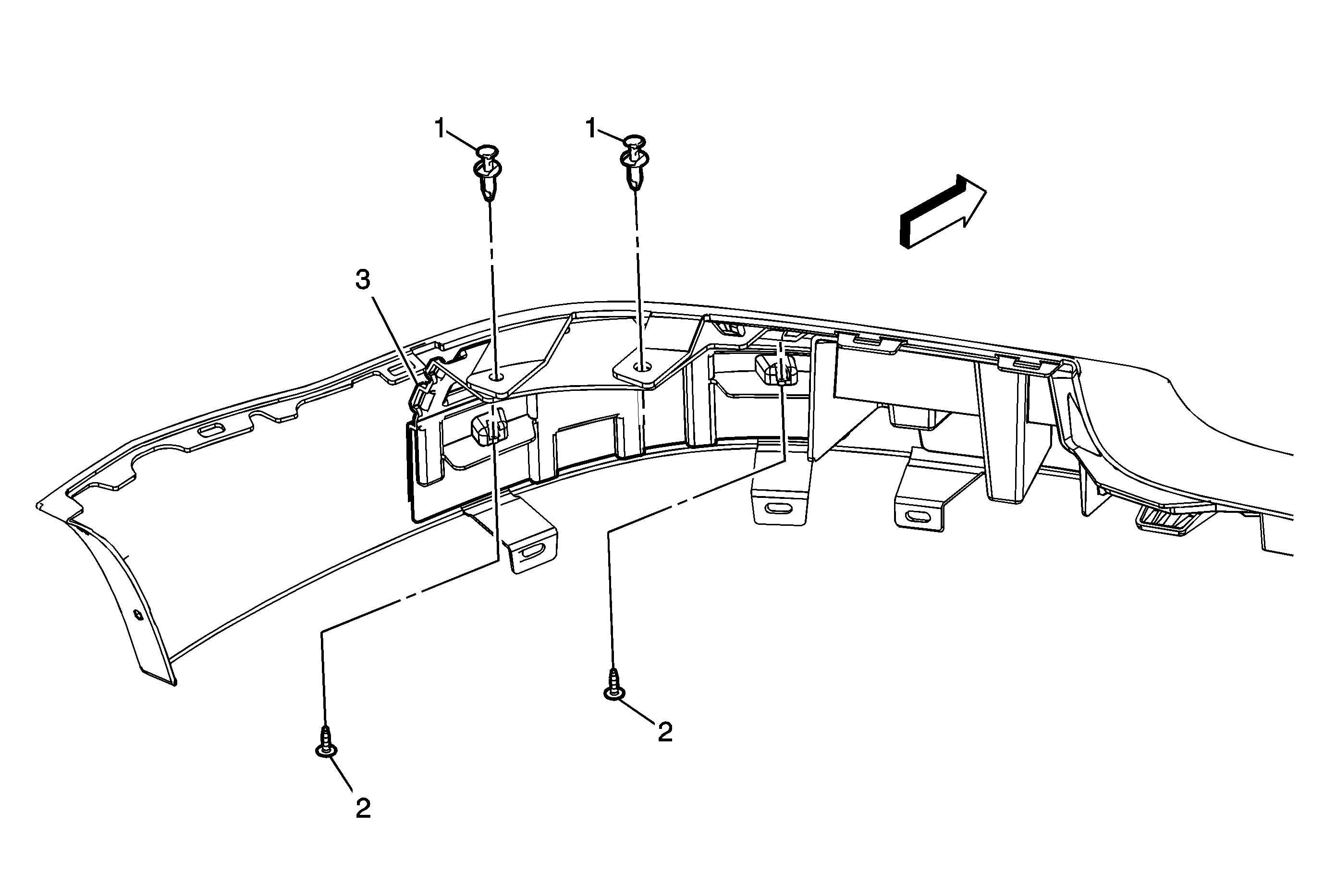
Front Bumper Fascia Outer Support Replacement GMC


Object Number: 1827982  Size: MF

Callout

Component Name

Preliminary Procedure

Remove the front bumper fascia trim cap. Refer to Front Bumper Fascia Trim Cap Replacement.

1

Front Bumper Fascia Outer Support Plastic Retainers (Qty: 2)

2

Front Bumper Fascia Outer Support Screws (Qty: 2)

Notice: Refer to Fastener Notice in the Preface section.

Tighten
3 N·m (27 lb in)

3

Front Bumper Fascia Outer Support