GM Service Manual Online
For 1990-2009 cars only

Caution: Storing a jack, a tire, or other equipment in the passenger compartment of the vehicle could cause injury. In a sudden stop or collision, loose equipment could strike someone. Store all these in the proper place.

Notice: Storing an aluminum wheel with a flat tire under your vehicle for an extended period of time or with the valve stem pointing up can damage the wheel. Always stow the wheel with the valve stem pointing down and have the wheel/tire repaired as soon as possible.

Store the tire under the rear of the vehicle in the spare tire carrier. Use the following art and text to assist you:


  1. Object Number: 1826567  Size: B4

    Spare Tire (Valve Stem Pointed Down)

  2. Hoist Assembly

  3. Hoist Cable

  4. Tire/Wheel Retainer

  5. Hoist Shaft

  6. Hoist End of Extension Tool

  7. Hoist Shaft Access Hole

  8. Wheel Wrench

  9. Jack Handle Extensions

  10. Spare Tire Lock (If Equipped)

  1. Put the tire on the ground at the rear of the vehicle with the valve stem pointed down, and to the rear.

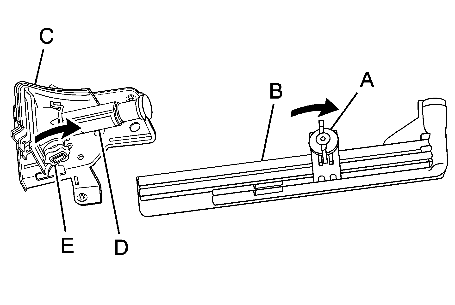
  2. Object Number: 1613524  Size: A2

    Tilt the retainer downward and through the wheel opening. Make sure the retainer is fully seated across the underside of the wheel.


    Object Number: 805764  Size: B2
  3. Attach the wheel wrench (H) and extensions (I) together.

  4. Object Number: 805774  Size: A3

    Insert the hoist end (F) through the hole (G) in the rear bumper and onto the hoist shaft (E).

  5. Raise the tire part way upward. Make sure the retainer (D) is seated in the wheel opening.
  6. Raise the tire fully against the underside of the vehicle by turning the wheel wrench clockwise until you hear two clicks or feel it skip twice. You cannot overtighten the cable.

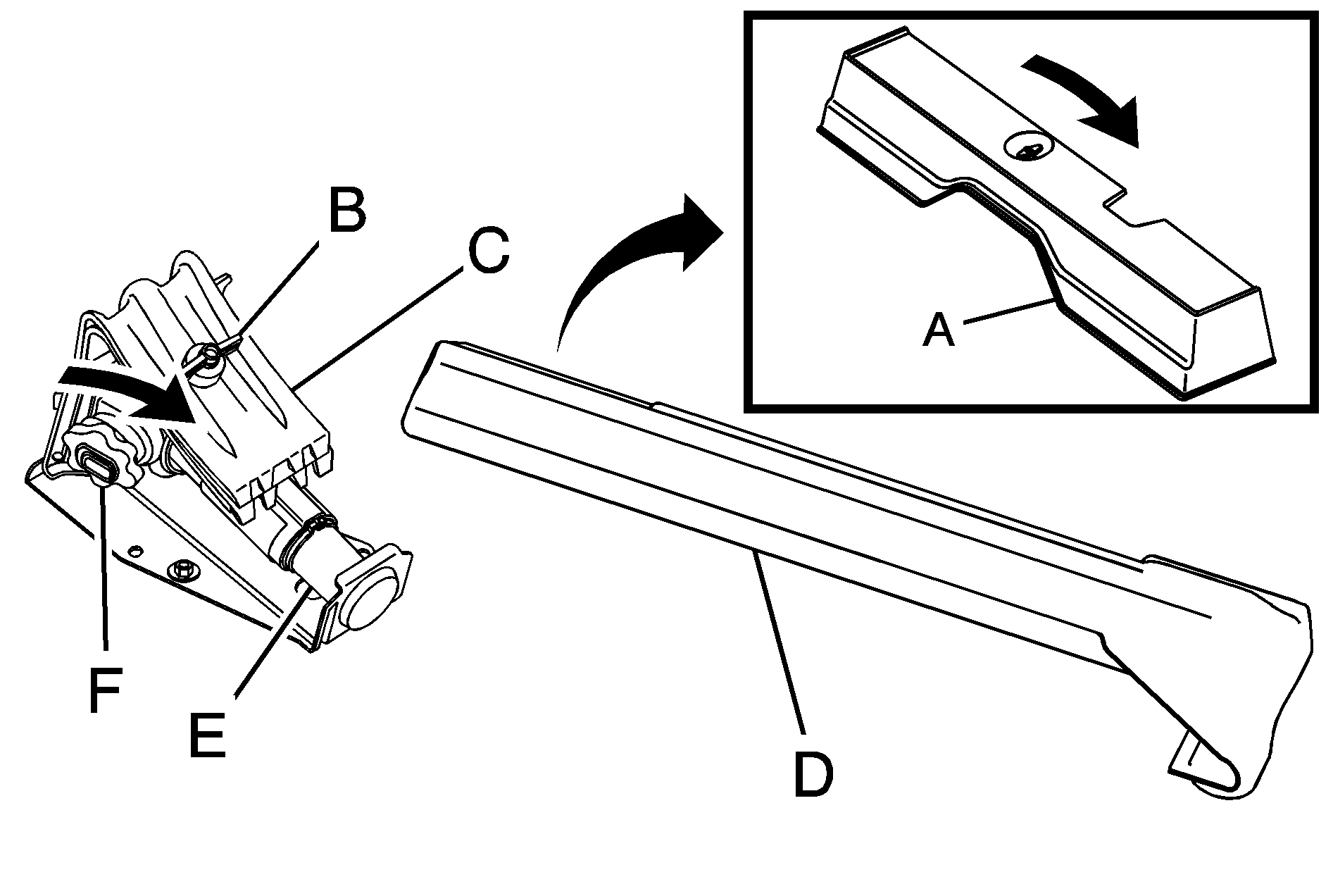
  7. Object Number: 809200  Size: B4
  8. Make sure the tire is stored securely. Push, pull (A), and then try to turn (B) the tire. If the tire moves, use the wheel wrench to tighten the cable.
  9. Reinstall the spare tire lock, if the vehicle has one.

To store the jack and jack tools, do the following:

Crew Cab


Object Number: 1843648  Size: B3
  1. Wing Nut Retaining Tool Kit

  2. Tool Kit

  3. Wheel Blocks

  4. Jack

  5. Wing Nut Retaining Wheel Blocks

Regular Cab


Object Number: 1843650  Size: B3
  1. Tool Cover

  2. Wing Nut Retaining Wheel Blocks

  3. Wheel Blocks

  4. Tool Kit

  5. Jack

  6. Wing Nut Retaining Jack

Extended Cab


Object Number: 1843642  Size: B3
  1. Wing Nut Retaining Tool Kit

  2. Tool Kit

  3. Wheel Blocks

  4. Jack

  5. Wing Nut Retaining Jack

  1. Put the tools in the tool bag and place them in the retaining bracket.
  2. If your vehicle has a cover replace the cover.

  3. Tighten down the wing nut.
  4. Assemble the wheel blocks and jack together with the wing nut and retaining hook.
  5. If you have the Regular Cab, the wheel blocks must be placed straight up and down on the top of the jack.

  6. Position the jack in the mounting bracket. Position the holes in the base of the jack onto the pin in the mounting bracket.
  7. Return them to their original location in the vehicle. For more information, refer to Removing the Spare Tire and Tools for more information.