GM Service Manual Online
For 1990-2009 cars only

Evaporative Emission Canister Replacement Regular Cab w/26 Gal Tank

Removal Procedure

Important: Clean all evaporative emission (EVAP) connections and surrounding areas prior to disconnecting the lines in order to avoid possible system contamination.


    Object Number: 1854542  Size: SH
  1. Raise and suitably support the vehicle. Refer to Lifting and Jacking the Vehicle .
  2. Disconnect the EVAP canister pipe quick connect fitting (2) from the fuel tank EVAP pipe. Refer to Plastic Collar Quick Connect Fitting Service .
  3. Disconnect the EVAP canister vent solenoid pipe quick connect fitting (3) from the EVAP canister. Refer to Plastic Collar Quick Connect Fitting Service .
  4. Disconnect the EVAP canister pipe quick connect fitting (4) from the fuel tank EVAP pipe. Refer to Plastic Collar Quick Connect Fitting Service .

  5. Object Number: 1855652  Size: SH
  6. Remove the EVAP canister nut. (body shown removed, for clarity).
  7. Remove the EVAP canister assembly.
  8. If replacing the EVAP canister perform the following steps, otherwise proceed to step 4 in the installation procedure.

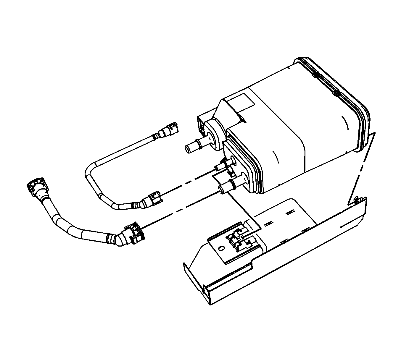
  9. Object Number: 1855653  Size: SH
  10. Remove the EVAP canister from the shield.
  11. Disconnect the EVAP canister pipes from the canister. Refer to Plastic Collar Quick Connect Fitting Service .

Installation Procedure


    Object Number: 1855653  Size: SH
  1. If replacing the EVAP canister perform the following steps, otherwise proceed to step 4.
  2. Connect the EVAP canister pipes to the canister. Refer to Plastic Collar Quick Connect Fitting Service .
  3. Install the EVAP canister to the shield.

  4. Object Number: 1855652  Size: SH
  5. Install the EVAP canister assembly.
  6. Notice: Refer to Fastener Notice in the Preface section.

  7. Install the EVAP canister nut.
  8. Tighten
    Tighten the nut to 25 N·m (18 lb ft).


    Object Number: 1854542  Size: SH
  9. Connect the EVAP canister pipe quick connect fitting (4) to the fuel tank EVAP pipe. Refer to Plastic Collar Quick Connect Fitting Service .
  10. Connect the EVAP canister vent solenoid pipe quick connect fitting (3) to the EVAP canister. Refer to Plastic Collar Quick Connect Fitting Service .
  11. Connect the EVAP canister pipe quick connect fitting (2) to the fuel tank EVAP pipe. Refer to Plastic Collar Quick Connect Fitting Service .
  12. Lower the vehicle.

Evaporative Emission Canister Replacement Extended Cab w/26 Gal Tank

Removal Procedure

Important: Clean all evaporative emission (EVAP) connections and surrounding areas prior to disconnecting the lines in order to avoid possible system contamination.


    Object Number: 1854683  Size: SH
  1. Raise and suitably support the vehicle. Refer to Lifting and Jacking the Vehicle.
  2. Disconnect the fuel tank EVAP pipe quick connect fitting (3) from the EVAP canister. Refer to Plastic Collar Quick Connect Fitting Service.
  3. Disconnect the chassis EVAP pipe quick connect fitting (2) from the EVAP canister. Refer to Plastic Collar Quick Connect Fitting Service.

  4. Object Number: 1855666  Size: SH
  5. Disconnect the EVAP canister vent solenoid pipe quick connect fitting (3) from the EVAP canister. Refer to Plastic Collar Quick Connect Fitting Service.

  6. Object Number: 1855669  Size: SH
  7. Remove the EVAP canister nut (1). (body shown removed, for clarity).
  8. Remove the EVAP canister assembly.
  9. If replacing the EVAP canister perform the following steps, otherwise proceed to step 3 in the installation procedure.

  10. Object Number: 1855746  Size: SH
  11. Remove the EVAP canister bracket from the canister.

Installation Procedure


    Object Number: 1855746  Size: SH
  1. If replacing the EVAP canister perform the following steps, otherwise proceed to step 3.
  2. Install the EVAP canister bracket to the canister.

  3. Object Number: 1855669  Size: SH
  4. Install the EVAP canister assembly.
  5. Notice: Refer to Fastener Notice in the Preface section.

  6. Install the EVAP canister nut.
  7. Tighten
    Tighten the nut to 25 N·m (18 lb ft).


    Object Number: 1855666  Size: SH
  8. Connect the EVAP canister vent solenoid pipe quick connect fitting (3) to the EVAP canister. Refer to Plastic Collar Quick Connect Fitting Service.

  9. Object Number: 1854683  Size: SH
  10. Connect the chassis EVAP pipe quick connect fitting (2) to the EVAP canister. Refer to Plastic Collar Quick Connect Fitting Service.
  11. Connect the fuel tank EVAP pipe quick connect fitting (3) to the EVAP canister. Refer to Plastic Collar Quick Connect Fitting Service.
  12. Lower the vehicle.

Evaporative Emission Canister Replacement Regular Cab w/34 Gal Tank

Removal Procedure

Important: Clean all evaporative emission (EVAP) connections and surrounding areas prior to disconnecting the lines in order to avoid possible system contamination.


    Object Number: 1854924  Size: SH
  1. Raise and suitably support the vehicle. Refer to Lifting and Jacking the Vehicle.
  2. Disconnect the EVAP canister pipe quick connect fitting (2) from the fuel tank EVAP pipe. Refer to Plastic Collar Quick Connect Fitting Service.
  3. Disconnect the EVAP canister vent solenoid pipe quick connect fitting (3) from the EVAP canister. Refer to Plastic Collar Quick Connect Fitting Service.
  4. Disconnect the EVAP canister pipe quick connect fitting (4) from the fuel tank EVAP pipe. Refer to Plastic Collar Quick Connect Fitting Service.

  5. Object Number: 1855692  Size: SH
  6. Remove the EVAP canister nut (1). (body shown removed, for clarity).
  7. Remove the EVAP canister assembly.
  8. If replacing the EVAP canister perform the following steps, otherwise proceed to step 4 in the installation procedure.

  9. Object Number: 1855694  Size: SH
  10. Remove the EVAP canister bracket from the canister.
  11. Disconnect the EVAP canister pipe quick connect fittings from the EVAP canister. Refer to Plastic Collar Quick Connect Fitting Service.

Installation Procedure


    Object Number: 1855746  Size: SH
  1. If replacing the EVAP canister perform the following steps, otherwise proceed to step 4.
  2. Install the EVAP canister bracket to the canister.
  3. Connect the EVAP canister pipe quick connect fittings to the EVAP canister. Refer to Plastic Collar Quick Connect Fitting Service.

  4. Object Number: 1855692  Size: SH
  5. Install the EVAP canister assembly.
  6. Notice: Refer to Fastener Notice in the Preface section.

  7. Install the EVAP canister nut.
  8. Tighten
    Tighten the nut to 25 N·m (18 lb ft).


    Object Number: 1854924  Size: SH
  9. Connect the EVAP canister pipe quick connect fitting (4) to the fuel tank EVAP pipe. Refer to Plastic Collar Quick Connect Fitting Service.
  10. Connect the EVAP canister vent solenoid pipe quick connect fitting (3) to the EVAP canister. Refer to Plastic Collar Quick Connect Fitting Service.
  11. Connect the EVAP canister pipe quick connect fitting (2) to the fuel tank EVAP pipe. Refer to Plastic Collar Quick Connect Fitting Service.
  12. Lower the vehicle.