GM Service Manual Online
For 1990-2009 cars only
Figure 1:

Forward Lamp Harness Routing (Gas except LY6)


Object Number: 1846449  Size: LF
(1)G101
(2)Left Front Fender
(3)Left Front Headlamp
(4)G100
(5)Radiator
(6)X106
(7)J101
(8)J100
(9)X103
(10)X100
(11)Fuse Block - Underhood X1
Figure 2:

Forward Lamp Harness Routing (Diesel/LY6)


Object Number: 1922972  Size: LF
(1)J101
(2)X106
(3)X103
(4)J100
(5)X100
(6)G100
(7)G101
Figure 3:

Engine Harness Routing - Left Side (4.3L)


Object Number: 1846447  Size: LF
(1)Throttle Body
(2)G107
(3)Transmission
(4)X300
(5)X109
(6)X110 (NQG/NQH/NP2)
(7)Fuse Block - Underhood X2
Figure 4:

Engine Harness Routing - Top (4.3L)


Object Number: 1846445  Size: LF
(1)Mega Fuse Ring Terminal
(2)X175 (M30)
(3)J128
(4)J105
(5)J106
(6)J130 (M30 with NQG/NQH/NP2)
(7)Engine Control Module (ECM) X1
(8)Engine Control Module (ECM) X2
(9)G103
(10)X112
(11)Mass Air Flow (MAF)/Intake Air Temperature (IAT) Sensor Connector
Figure 5:

Camshaft Position Sensor Jumper Harness Routing (4.8L/5.3L/6.0L/6.2L)


Object Number: 1922077  Size: LF
(1)X112
(2)Camshaft Position Sensor Jumper Harness
Figure 6:

Engine Harness Routing - Left Front Side (4.8L/5.3L/6.0L/6.2L)


Object Number: 1846441  Size: LF
(1)Air Intake Duct
(2)X111
(3)Fuse Block - Underhood X2
(4)X109
(5)X110 (NQF/NQG/NQH/NP2)
(6)Engine Control Module (ECM) X2
(7)Engine Control Module (ECM) X1
(8)G102
(9)J105
Figure 7:

Engine harness Routing - Right Front Side (4.8L/5.3L/6.0L/6.2L)


Object Number: 1846440  Size: LF
(1)Dash Panel
(2)X113
(3)J106
(4)G103
Figure 8:

Engine Harness Routing - Rear (4.8L/5.3L/6.0L/6.2L)


Object Number: 1846443  Size: LF
(1)Dash Panel
(2)Transmission
(3)X175 (M30/M70)
(4)Transfer Case Shift Control Switch (NQG/NP2)
Figure 9:

Heated Oxygen Sensor (HO2S) Jumper Harness Routing (LY6)


Object Number: 1934388  Size: LF
(1)X125
(2)Heated Oxygen Sensor (H02S) Bank 2 Sensor 2
Figure 10:

Engine Chassis Harness Routing - Top Front (Diesel)


Object Number: 1870628  Size: LF
(1)Battery - Right
(2)Fuse Holder
(3)X127
(4)X108
(5)X107
(6)X123 (PTO)
(7)Fuse Block - Underhood
(8)X109
(9)Battery - Left
(10)Engine Control Module (ECM)
(11)Transmission Control Module (TCM)
Figure 11:

Engine Chassis Harness Routing - Top Rear (Diesel)


Object Number: 1870623  Size: LF
(1)J104
(2)J105
(3)J106
(4)J132 (K76)
(5)J133 (PTO)
(6)X110 (NQF/NQG/NP2)
Figure 12:

Engine Chassis Harness Routing - Rear (Diesel)


Object Number: 2056669  Size: LF
(1)X300
(2)G300
(3)Automatic Transmission Turbine Speed Sensor (MW7)
(4)Automatic Transmission (MW7)
(5)Vehicle Speed Sensor (VSS) (MW7)
(6)X124 (PTO)
(7)Power Take Off (PTO) Module (PTO)
(8)X175 (MW7)
Figure 13:

Auxiliary Battery Harness Routing (TP2)


Object Number: 1934393  Size: LF
(1)Fuse Holder
(2)Auxiliary Battery Run Relay
(3)Auxiliary Battery Harness
(4)Auxilary Battery Relay
(5)X122
Figure 14:

I/P Harness Routing - Engine Compartment


Object Number: 1846432  Size: LF
(1)G110 (XA7)
(2)J113 (NQH)
(3)Fuse Block - Underhood X5
(4)Fuse Block - Underhood X4
(5)Left Front Fender
(6)X103
(7)X109
(8)X115 (JL4) or X126 (except JL4/MEX)
Figure 15:

I/P Harness Routing - Passenger Compartment


Object Number: 1846429  Size: LF
(1)J201
(2)JX221
(3)J200
(4)G201
(5)X201
(6)X205
(7)J203 (Y91)
(8)J206 (CJ2)
(9)Junction Block - Right I/P
(10)X200
(11)Floor Panel
(12)X202
(13)J207 (except MEX)
Figure 16:

I/P Extension Harness Routing (SLT except Y91/MEX)


Object Number: 1846434  Size: LF
(1)JX223 (U2K/UK6/UE1)
(2)X203 (UE1/U3U/UVB)
(3)X204 (U42)
(4)X212
(5)X206 (U42)
(6)X213 (COAX)
(7)Vehicle Communication Interface Module (VCIM) (UE1)
(8)X301 (UQA/D07)
(9)Floor Panel
Figure 17:

I/P Extension Harness Routing (except SLT/Y91/MEX)


Object Number: 2168760  Size: LF
(1)X203 (UE1/U3U/UVB)
(2)X204 (U42)
(3)X206 (U42)
(4)X213 (COAX)
(5)X212
(6)X301 (UQA/D07)
Figure 18:

Fuse Block Jumper Harness Routing (9L4)


Object Number: 1890152  Size: LF
(1)Fuse Block - Mobile Radio
(2)I/P Structure - Right Side
(3)J224
(4)J219
(5)J209
(6)X219
(7)X214
(8)J210
(9)J211
(10)Blunt Cut - Mobile Radio Provision
(11)X226
(12)Instrument Panel
Figure 19:

Brake Clutch Harness Routing


Object Number: 1846991  Size: LF
(1)Driver Door Frame
(2)X205
(3)X102 (JL1)
(4)Accelerator Pedal Position (APP) Sensor Connector
(5)Junction Block - Left I/P (except MEX)
Figure 20:

Steering Column Harness Routing


Object Number: 1933010  Size: LF
(1)X201
(2)X276 (KA9)
(3)Heated Steering Fuse (KA9)
(4)X277 (KA9)
(5)X275
Figure 21:

Overhead Console Harness Routing


Object Number: 1890108  Size: LF
(1)X304 (except MEX)
(2)Inflatable Restraint Passenger Air Bag On/Off Indicator (AL0/C99 except MEX)
(3)Cellular Telephone Microphone (UE1/U3U/UVB)
(4)Roof Beacon Switch (5X7/5Y0/TRW)
(5)Sliding Rear Window Switch (A48)
(6)Dome/Reading Lamps - Front
(7)J322 (TRW/UG1/A48)
(8)J323
(9)X313 (CF5/TRW/5X7/5Y0)
(10)Blunt Cut - Roof Mounted Beacon Provision (TRW)
(11)Roof Beacon Relay (TRW)
Figure 22:

Headliner Harness Routing (Regular Cab)


Object Number: 1846992  Size: LF
(1)X304 (except MEX)
(2)X318
(3)J327 (except MEX)
(4)J328
(5)X203 (UE1/U3U/UVB))
Figure 23:

Headliner Harness Routing (Extended Cab)


Object Number: 1846993  Size: LF
(1)X304
(2)X318
(3)J327
(4)J328
(5)X203 (UE1/U3U/UVB)
Figure 24:

Headliner Harness Routing (Crew Cab)


Object Number: 1846994  Size: LF
(1)X304
(2)X318
(3)J327
(4)J328
(5)X208 (A48)
(6)X203 (UE1/U3U/UVB)
(7)X204 (U42)
(8)I/P Trim
Figure 25:

Body Harness Routing (Regular Cab)


Object Number: 1846438  Size: LF
(1)X200
(2)G302
(3)X319 (AZ3/D07 with UQ3)
(4)JX339 (except MEX)
(5)X305 (except MEX)
(6)G304 (except MEX)
(7)J304 (AG2)
(8)J303
(9)X303 (except MEX)
(10)Inflatable Restraint Sensing and Diagnostic Module (SDM) Connector
(11)X275
(12)X202
(13)X500 (YE9 without AN3/DL3)
(14)X501 (YE9 without AN3/DL3)
(15)X601 (ASF)
(16)X600 (YE9 without AN3/DL3)
Figure 26:

Body Harness Routing (Extended Cab)


Object Number: 1846437  Size: LF
(1)X700
(2)G303
(3)X303
(4)Inflatable Restraint Sensing and Diagnostic Module (SDM) Connector
(5)X501 (YE9 without AN3/DL3)
(6)X275
(7)X208 (A48)
(8)X202
(9)X500 (YE9 without AN3/DL3)
(10)G301
(11)J304
(12)X200
(13)X601 (ASF)
(14)X600 (YE9 without AN3/DL3)
(15)G302
(16)JX339
(17)X305
(18)X319 (AZ3/D07 with UQ3)
(19)X800
(20)J302
(21)G304
(22)X320 (A48)
(23)J303
(24)X322 (UD7)
(25)Floor Panel
Figure 27:

Body Harness Routing (Crew Cab)


Object Number: 1846436  Size: LF
(1)X601 (ASF)
(2)X309 (Y91)
(3)G302
(4)J302
(5)JX339
(6)G301
(7)J304
(8)X305
(9)X800
(10)G304
(11)G307
(12)X320 (A48)
(13)J303
(14)G303
(15)X700
(16)X303
(17)Inflatable Restraint Sensing and Diagnostic Module (SDM) Connector
(18)X501 (YE9 without AN3/DL3)
(19)X502 (ASF without YE9 or with AN3)
(20)J301 (excpet AN3/DL3)
(21)X202
(22)X500 (YE9 without AN3/DL3)
(23)X208 (A48)
(24)X600 (YE9 without AN3/DL3)
Figure 28:

Chassis Harness Routing (LY6/LMM except 31 Series)


Object Number: 1846422  Size: LF
(1)X300
(2)X408 (UD7)
(3)Trailer Connector (UY7)
(4)J411 (JL1)
(5)G401
(6)J331
(7)Fuse Block - Underhood X3
(8)X126 (except JL4)
(9)X102 (JL1)
(10)J300
(11)G300
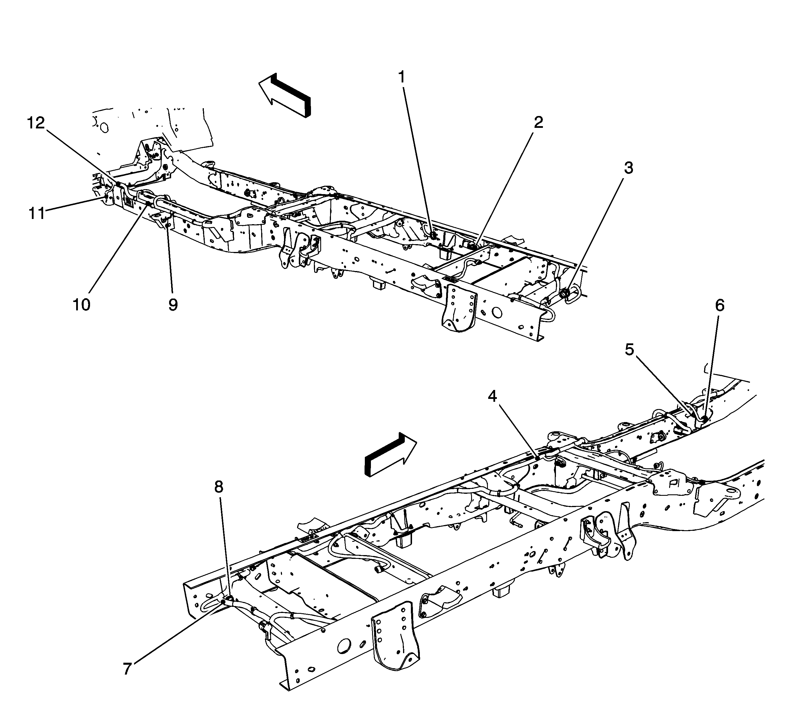
Figure 29:

Chassis Harness Routing (Except LY6/LMM)


Object Number: 1846424  Size: LF
(1)X300
(2)X408 (UD7)
(3)G401
(4)J423 (except LU3/LMG/LC9)
(5)J331
(6)Fuse Block - Underhood X3
(7)X115 (JL4) or X126 (except JL4/MEX)
(8)X102 (JL1)
(9)J338 (except LU3/LMG)
(10)J300
(11)G300
Figure 30:

Chassis Harness - Front Engine Compartment (31 Series)


Object Number: 2085721  Size: LF
(1)X102 (JL1)
(2)Fuel Pump Relay - Secondary (LY6 without NQZ)
(3)Fuse Block - Underhood
(4)X126
Figure 31:

Chassis Harness (31 Series)


Object Number: 2085746  Size: LF
(1)Trailer Brake Control Relay (JL1)
(2)J422 (JL1)
(3)Trailer Connector
(4)J331 (Diesel without NQZ/LY6)
(5)X300 (LY6)
(6)X300 (Diesel)
(7)J411 (JL1)
(8)Junction Block-Rear Lamps
(9)G401
(10)J338 (JL1)
(11)G300
(12)J300 (LY6 without NQZ)
Figure 32:

Camper Harness Routing and Chassis Harness Routing - Rear


Object Number: 1890102  Size: LF
(1)X414 (UY2/8S3)
(2)J420 (UY2)
(3)Camper/Trailer Harness
(4)J415 (UY2)
(5)Chassis Harness
(6)J416 (UY2)
(7)J417 (UY2)
(8)J414 (UY2)
(9)J421 (UY2)
(10)J410 (UY2)
(11)Blunt Cut - Camper Trailer Provision (UY2)
(12)G401 (except LY6/LMM)
(13)Trailer Connector (UY7)
Figure 33:

Driver Door Harness Routing


Object Number: 1846999  Size: LF
(1)Door Frame
(2)Fuse Block - I/P X4
(3)J502 (YE9 without AN3)
(4)X500 (YE9 without AN3/DL3)
(5)X502 (ASF without YE9 or with AN3)
Figure 34:

Passenger Door Harness Routing


Object Number: 1847000  Size: LF
(1)J604 (YE9 without AN3/DL3)
(2)Junction Block - Right I/P X3
(3)Door Frame
(4)X601 (ASF)
(5)X600 (YE9 without AN3/DL3)
(6)J603 (YE9 without AN3/DL3)
Figure 35:

Left Rear Door Harness Routing (Extended Cab)


Object Number: 1846996  Size: LF
(1)X700
(2)Door Frame
Figure 36:

Left Rear Door Harness Routing (Crew Cab)


Object Number: 1846998  Size: LF
(1)Door Frame
(2)X700
Figure 37:

Right Rear Door Harness Routing (Extended Cab)


Object Number: 1846995  Size: LF
(1)Door Frame
(2)X800
Figure 38:

Right Rear Door Harness Routing (Crew Cab)


Object Number: 1846997  Size: LF
(1)X800
(2)Door Handle
(3)Door Frame
Figure 39:

Driver Seat Harness Routing


Object Number: 1913810  Size: LF
(1)Seat Recline Motor - Driver (AN3)
(2)Seat Lumbar Vertical Motor Position Sensor - Driver (AN3)
(3)Seat Lumbar Vertical Motor - Driver (AN3)
(4)X324 (AN3)
(5)Seat Lumbar Horizontal Motor - Driver (AN3)
(6)Seat Lumbar Horizontal Motor Position Sensor - Driver (AN3)
(7)Seat Recline Position Sensor - Driver (AN3)
(8)Seat Lumbar Switch - Driver (AN3)
(9)Seat Adjuster Switch - Driver (AG1)
(10)Memory Seat Module (MSM) (AN3)
(11)Inflatable Restraint Seat Position Sensor (SPS) - Driver (10 Series)
(12)Seat Adjuster Motor Assembly - Driver (AG1)
(13)Seat Belt Buckle - Driver
Figure 40:

Console Harness Routing (Y91/D07/UQA)


Object Number: 1846450  Size: LF
(1)X319 (D07with UQ3)
(2)X301
(3)Console Bracket
Figure 41:

Passenger Seat Harness Routing


Object Number: 1913813  Size: LF
(1)Seat Frame
(2)X325 (AN3)
(3)Seat Lumbar Vertical Motor - Passenger (AN3)
(4)Seat Adjuster Switch - Passenger (AG2)
(5)Seat Lumbar Switch - Passenger (AN3)
(6)Seat Belt Buckle - Passenger
(7)Inflatable Restraint Passenger Presence System (PPS) Module (AL0)
(8)Seat Adjuster Motor Assembly - Passenger (AG2)
(9)Inflatable Restraint Passenger Presence System (PPS) Sensor (AL0)
(10)Seat Recline Motor - Passenger (AN3)
(11)Seat Lumbar Horizontal Motor - Passenger (AN3)
Figure 42:

Sliding Rear Window Jumper Harness Routing (A48)


Object Number: 1847001  Size: LF
(1)X320
(2)Rear Window
(3)J336 (except C49)
(4)J335 (except C49)
Figure 43:

Left and Right Hip Lamp Harness Routing (R05)


Object Number: 1922961  Size: LF
(1)X415
(2)J412
(3)J419
(4)Right Hip Lamp Harness
(5)Left Hip Lamp Harness
(6)J418
(7)J413
(8)X416
Figure 44:

Rear Bumper Harness Routing


Object Number: 1846452  Size: LF
(1)Rear Bumper
(2)J403 (UD7)
(3)J404 (UD7)
(4)Junction Block - Rear Lamps Connector
(5)X408 (UD7)