GM Service Manual Online
For 1990-2009 cars only

Front Wheelhouse Liner Replacement - Left Side Chevrolet


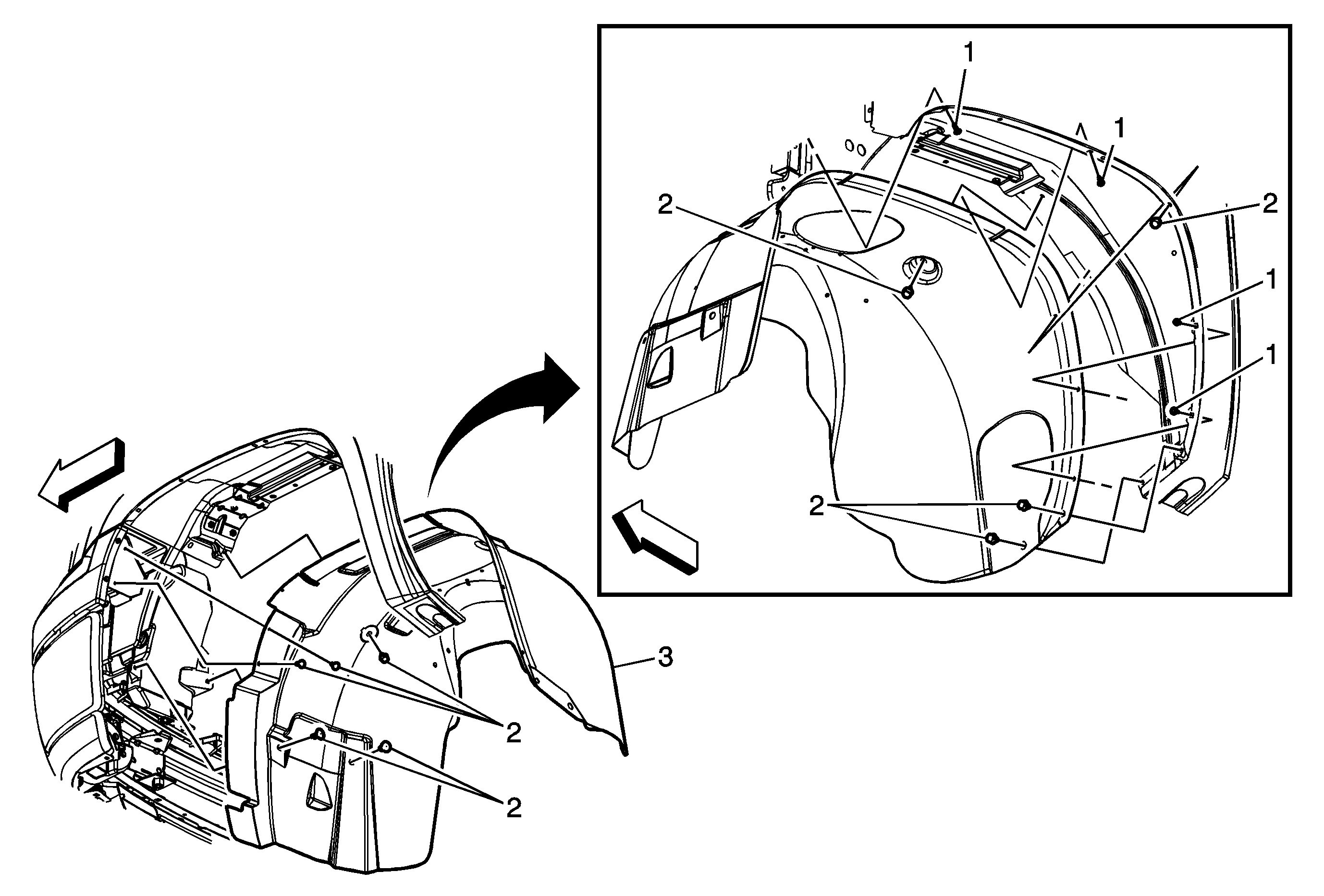
Object Number: 1838172  Size: MF

Callout

Component Name

Preliminary Procedure

Remove the tire/wheel assembly. Refer to Tire and Wheel Removal and Installation .

1

Left Side Front Wheelhouse Liner Screw (Qty: 5)

Notice: Refer to Fastener Notice in the Preface section.

Tighten
2.5 N·m (22 lb in)

2

Left Side Front Wheelhouse Liner Plastic Retainer (Qty: 7)

3

Left Side Front Wheelhouse Liner

Tip

    • Disconnect any electrical harnesses/connectors and attached parts from the left side front wheelhouse liner as needed.
    • Use the reverse procedure to install to help with the proper alignment of the left side front wheelhouse liner.

Front Wheelhouse Liner Replacement - Left Side GMC


Object Number: 1829585  Size: MF

Callout

Component Name

Preliminary Procedure

Remove the tire/wheel assembly. Refer to Tire and Wheel Removal and Installation .

1

Left Side Front Wheelhouse Liner Screw (Qty: 5)

Notice: Refer to Fastener Notice in the Preface section.

Tighten
2.5 N·m (22 lb in)

2

Left Side Front Wheelhouse Liner Plastic Retainer (Qty: 8)

3

Left Side Front Wheelhouse Liner

Tip

    • Disconnect any electrical harnesses/connectors and attached parts from the left side front wheelhouse liner as needed.
    • Use the reverse procedure to install to help with the proper alignment of the left side front wheelhouse liner.