GM Service Manual Online
For 1990-2009 cars only

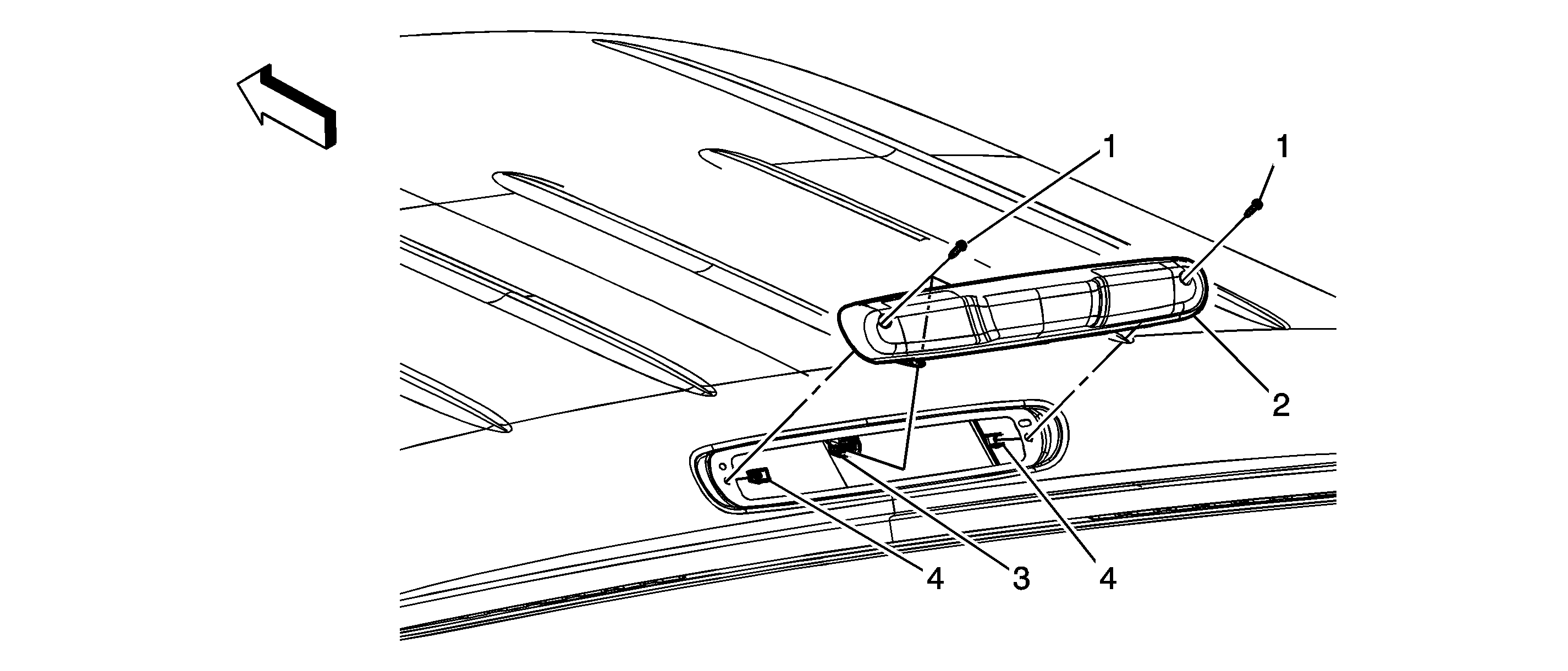
High Mount Stop Lamp Replacement Extended and Crew Cab


Object Number: 1739454  Size: SF

Callout

Component Name

1

High Mounted Stop and Cargo Lamp Opening Cover Screw (Qty: 2)

Notice: Refer to Fastener Notice in the Preface section.

Tighten
2.5 N·m (22 lb in)

2

High Mounted Stop and Cargo Lamp Opening Cover

Tip
Pull the lamp rearward in order to access the electrical connector.

3

Electrical Connector

4

High Mounted Stop and Cargo Lamp Opening Cover Retainer Clip (Qty: 2)

High Mount Stop Lamp Replacement Regular Cab


Object Number: 1839464  Size: SF

Callout

Component Name

1

High Mounted Stop and Cargo Lamp Opening Cover Screw (Qty: 2)

Notice: Refer to Fastener Notice in the Preface section.

Tighten
2.5 N·m (22 lb in)

2

High Mounted Stop and Cargo Lamp Opening Cover

Tip
Pull the lamp rearward in order to access the electrical connector.