GM Service Manual Online
For 1990-2009 cars only

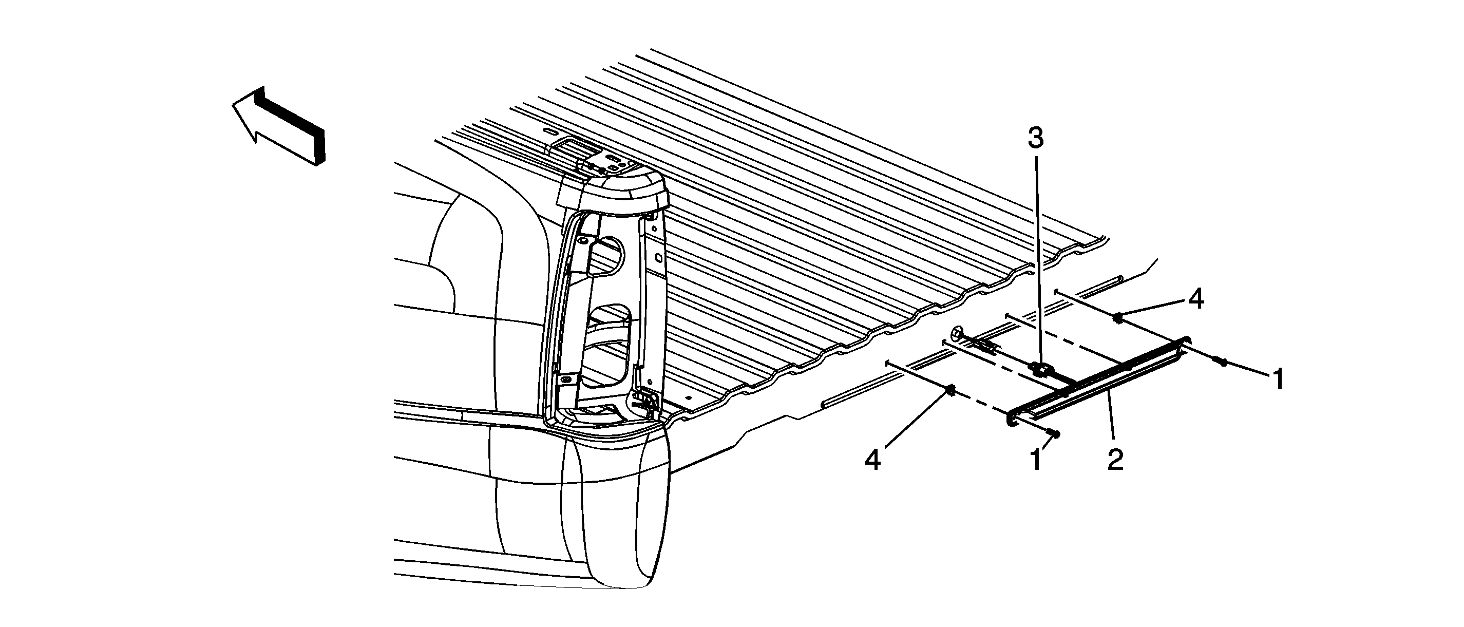
Pickup Box Identification Lamp Replacement GMC HD


Object Number: 1739441  Size: SF

Callout

Component Name

1

Rear Side Marker Lamp Assembly Screw (Qty: 2)

Notice: Refer to Fastener Notice in the Preface section.

Tighten
2.5 N·m (22 lb in)

2

Rear Side Marker Lamp Assembly

3

Rear Side Marker Lamp Electrical Connector

4

Rear Cross Sill Nut (Qty: 2)

Pickup Box Identification Lamp Replacement Chevrolet HD


Object Number: 1739462  Size: SF

Callout

Component Name

1

Rear Side Marker Lamp Assembly

Tip
Release the 3 integral clips securing the lamp assembly to the pick up box end panel.

2

Rear Side Marker Lamp Electrical Connector