GM Service Manual Online
For 1990-2009 cars only

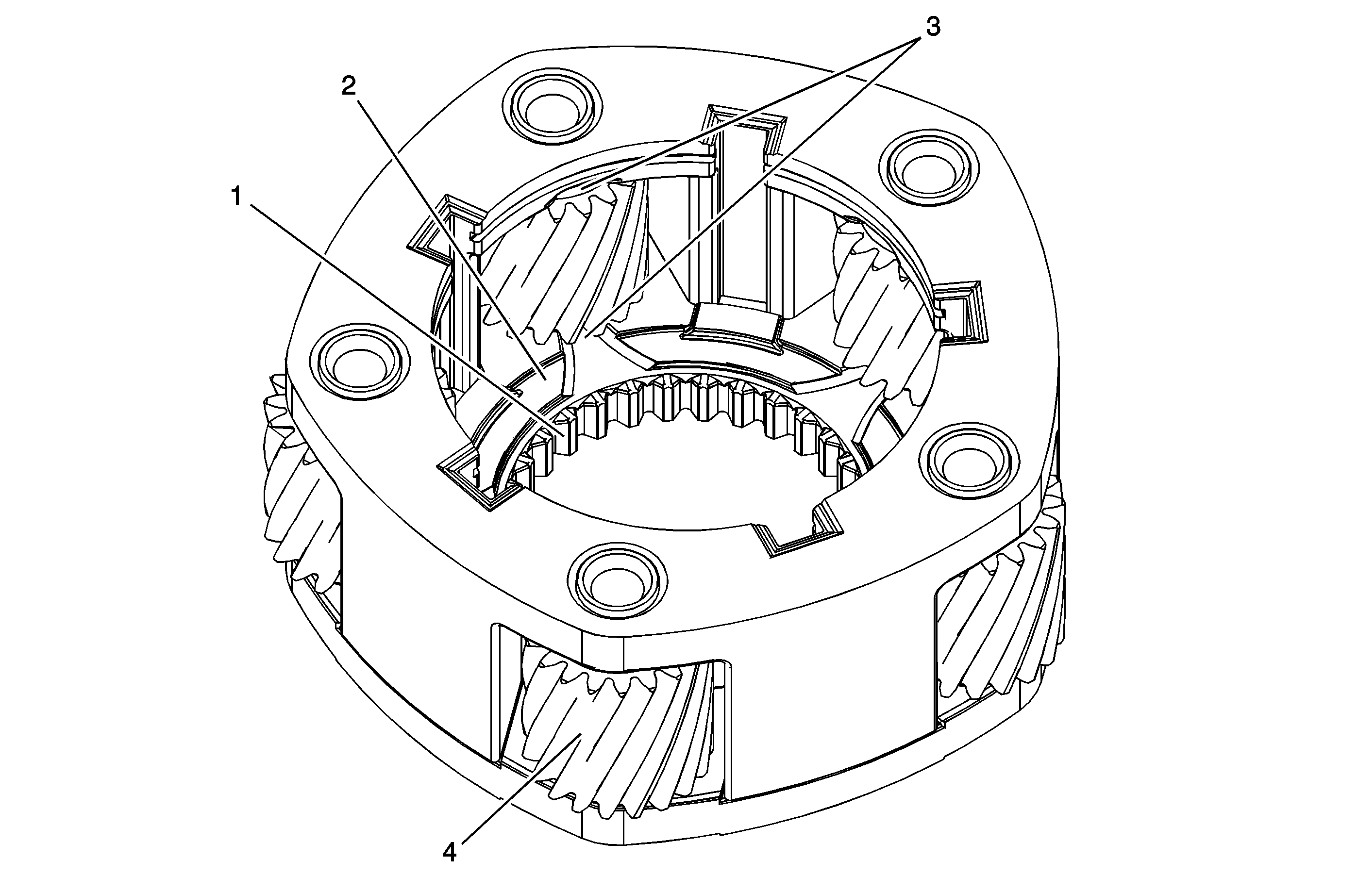
Object Number: 1846036  Size: MF

Callout

Component Name

Preliminary Procedure

    • Inspect all components or sub-components and perform any repair procedure necessary to fix the damage. If the damage cannot be repaired, replace the component or sub-component as indicated.
    • Clean all components in cleaning solvent and air dry. Do not spin the planetary gears with compressed air.
    • The high/low planetary carrier is only serviced as an assembly.

1

Transfer Case High/Low Clutch Engagement Teeth

Tip
Inspect the engagement teeth for chips or excessive wear.

2

Transfer Case Planetary Carrier Sun Gear Thrust Washer Surface

Tip
Inspect the thrust washer surface for scoring or excessive wear.

3

Transfer Case High/Low Planetary Carrier Pinion Gear Thrust Washer

Tip
Inspect for a thrust washer being on each side of the planetary gears.

4

Transfer Case High/Low Planetary Pinion Gear

Tip
Inspect for broken, damaged, or debris embedded in the root of the teeth.