GM Service Manual Online
For 1990-2009 cars only

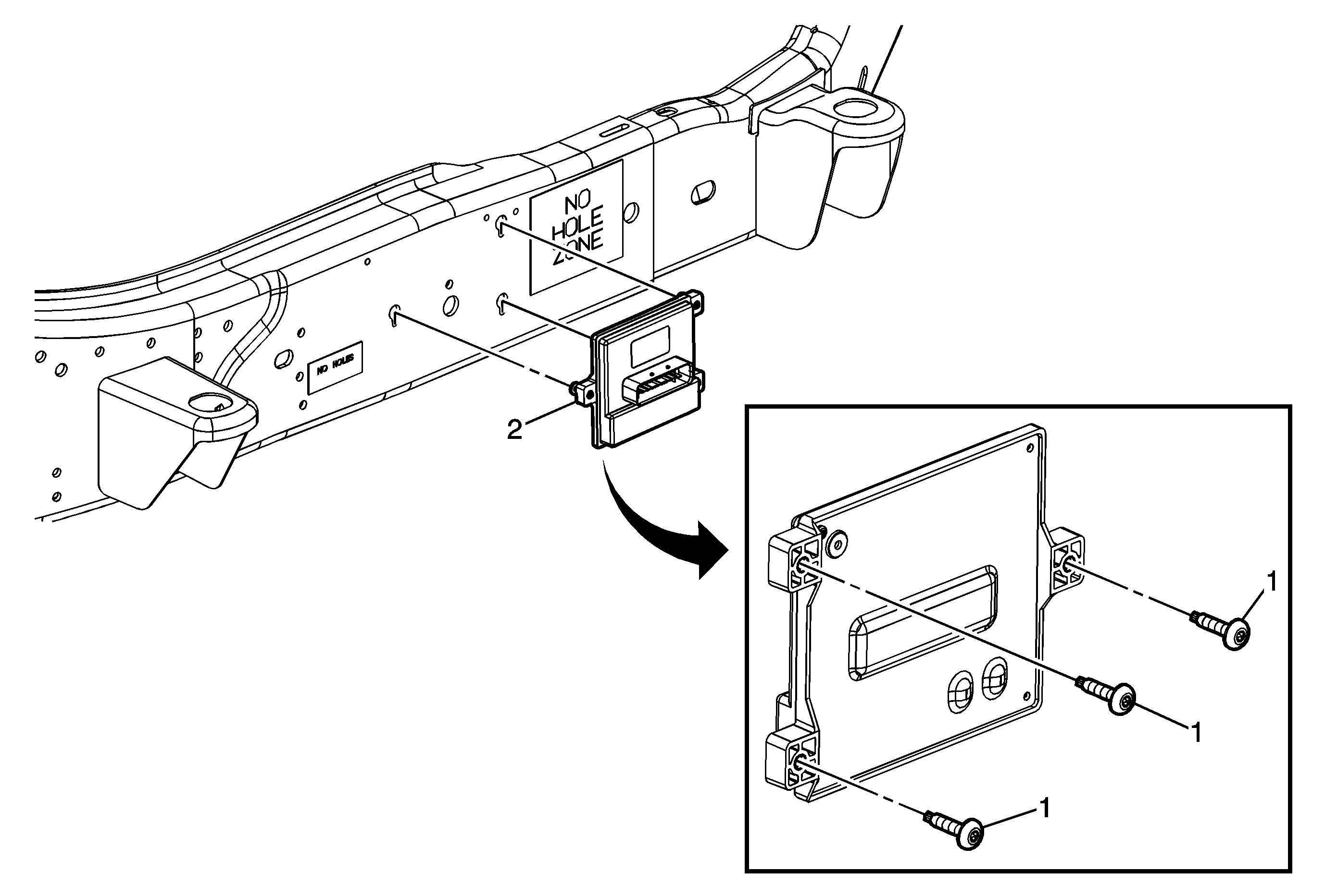
Object Number: 1936375  Size: MF

Callout

Component Name

Preliminary Procedure

Raise the vehicle. Refer to Lifting and Jacking the Vehicle.

1

Power Take Off (PTO) Module Bolt (Qty: 3)

Notice: Refer to Fastener Notice in the Preface section.

Procedure

  1. Install/remove the PTO module to/from the frame with the bolts loosely threaded into the module.
  2. Bolt heads should pass through the holes in the frame.
  3. Position the PTO module so that the bolts engage the narrow slots in the frame before tightening the bolts

Tip
It is not necessary to fully remove the PTO module bolts from the module except when transferring the bolts to a new module.

Tighten
9 N·m (80 lb in)

2

PTO Module

Procedure

    • Disconnect the electrical connector from the PTO module.
    • New PTO module must be programed. Refer to Control Module References.