GM Service Manual Online
For 1990-2009 cars only
Figure 1:

Front of Roof Components (U01)


Object Number: 1858049  Size: LF
(1)Roof Marker Lamp - Right
(2)Roof Marker Lamp - Middle
(3)Roof Marker Lamp - Left
(4)Windshield
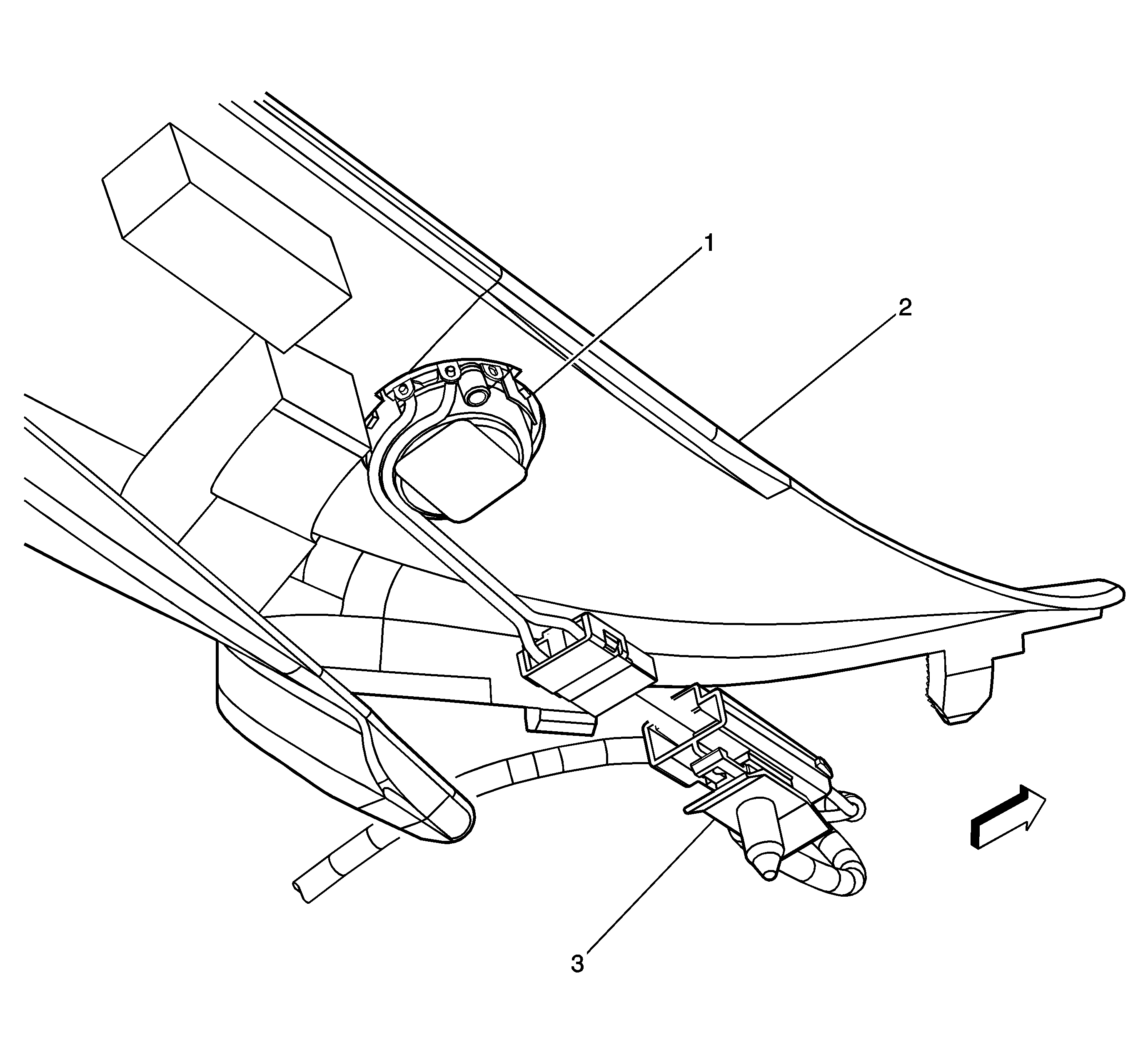
Figure 2:

Front of Roof Components (UE1)


Object Number: 1739414  Size: LF
(1)Windshield
(2)Cellular, Navigation, and Digital Radio Antenna
Figure 3:

Top of Roof Components (CF5)


Object Number: 1860649  Size: LF
(1)Sunroof Control Module
(2)Left Outer Frame Panel
Figure 4:

Overhead Console Components


Object Number: 1890108  Size: LF
(1)X304 (except MEX)
(2)Inflatable Restraint Passenger Air Bag On/Off Indicator (AL0/C99 except MEX)
(3)Cellular Telephone Microphone (UE1/U3U/UVB)
(4)Roof Beacon Switch (5X7/5Y0/TRW)
(5)Sliding Rear Window Switch (A48)
(6)Dome/Reading Lamps - Front
(7)J322 (TRW/UG1/A48)
(8)J323
(9)X313 (CF5/TRW/5X7/5Y0)
(10)Blunt Cut - Roof Mounted Beacon Provision (TRW)
(11)Roof Beacon Relay (TRW)
Figure 5:

Overhead Console and Headliner Components (U42/5Y0)


Object Number: 1934348  Size: LF
(1)Roof Beacon Switch (5Y0)
(2)Video Display (U42)
(3)Infared Transmitter (U42)
(4)Blunt Cut - Emergency Vehicle Provision (5Y0)
(5)Emergency Vehicle Roof Lamp Relay (5Y0)
Figure 6:

Front Headliner Components - 1 of 2


Object Number: 1860657  Size: LF
(1)Sunroof
(2)Sunshade - Right
(3)Windshield Outside Moisture Sensor (CE1)
(4)Inside Rearview Mirror (ISRVM) Window Anchor
Figure 7:

Front Headliner Components - 2 of 2


Object Number: 1855919  Size: LF
(1)Inside Air Temperature Sensor (CJ2)
(2)Cellular Telephone Microphone (UE1/U3U/UVB)
(3)Dome/Reading Lamps - Rear (Extended Cab/Crew Cab)
(4)Sunroof Switch (CF5)
(5)Sunshade - Right (DH6)
(6)Garage Door Opener (UG1)
(7)Onstar Button Assembly (UE1)
(8)Inside Rearview Mirror (ISRVM)
(9)Dome/Reading Lamps - Front
(10)Windshield
(11)Sunshade - Left (DH6)
Figure 8:

Left A-Pillar Components (UQ3/UQA)


Object Number: 851254  Size: LF
(1)Left A-Pillar Trim Panel
(2)Speaker - Left Front Tweeter (except MEX)
(3)Speaker - Left Front Tweeter Connector (except MEX)
Figure 9:

Right A-Pillar Components (UQ3/UQA)


Object Number: 1970093  Size: LF
(1)Speaker - Right Front Tweeter (except MEX)
(2)Right A-Pillar Trim
(3)Speaker - Left Front Tweeter Connector (except MEX)
Figure 10:

Below the Left of the I/P Components - 1 of 2


Object Number: 1860661  Size: LF
(1)Park Brake Release
(2)Park Brake Switch
(3)Dash Panel
(4)Park Brake Lever
Figure 11:

Below the Left of the I/P Components - 2 of 2


Object Number: 1739407  Size: LF
(1)Electronic Adjustable Pedal (EAP) Assembly (JF4)
(2)Stop Lamp Switch
(3)Accelerator Pedal Position (APP) Sensor
Figure 12:

Passenger Compartment Components - 1 of 2 (Regular Cab)


Object Number: 1855921  Size: LF
(1)Rear Window
(2)Speaker - Left Rear
(3)Driver Door Trim
(4)Speaker - Left Front
(5)Speaker - Center I/P (UQA with Y91)
(6)Speaker - Subwoofer (UQA)
(7)Speaker - Right Front
(8)Speaker - Right Rear
Figure 13:

Passenger Compartment Components - 2 of 2 (Regular Cab)


Object Number: 1855932  Size: LF
(1)Inflatable Restraint Roof Rail Module - Driver (ASF)
(2)Inflatable Restraint Roof Rail Module - Passenger (ASF)
(3)Floor Panel
Figure 14:

Passenger Compartment Components - 1 of 2 (Extended Cab/Crew Cab)


Object Number: 1855933  Size: LF
(1)Rear Window Defogger Grid
(2)Inflatable Restraint Roof Rail Module - Driver (ASF)
(3)Floor Panel
(4)Inflatable Restraint Roof Rail Module - Passenger (ASF)
Figure 15:

Passenger Compartment Components - 2 of 2 (Extended Cab/Crew Cab)


Object Number: 1934342  Size: LF
(1)Seat Belt Pretensioner - Driver
(2)Seat Belt Pretensioner - Passenger
Figure 16:

Driver Seat Components - 1 of 2


Object Number: 1913810  Size: LF
(1)Seat Recline Motor - Driver (AN3)
(2)Seat Lumbar Vertical Motor Position Sensor - Driver (AN3)
(3)Seat Lumbar Vertical Motor - Driver (AN3)
(4)X324 (AN3)
(5)Seat Lumbar Horizontal Motor - Driver (AN3)
(6)Seat Lumbar Horizontal Motor Position Sensor - Driver (AN3)
(7)Seat Recline Position Sensor - Driver (AN3)
(8)Seat Lumbar Switch - Driver (AN3)
(9)Seat Adjuster Switch - Driver (AG1)
(10)Memory Seat Module (MSM) (AN3)
(11)Inflatable Restraint Seat Position Sensor (SPS) - Driver (10 Series)
(12)Seat Adjuster Motor Assembly - Driver (AG1)
(13)Seat Belt Buckle - Driver
Figure 17:

Driver Seat Components - 2 of 2


Object Number: 1859595  Size: LF
(1)Heated Seat Element - Driver Back (AN3)
(2)Heated Seat Element - Driver Cushion (AN3)
Figure 18:

Center Seat Components (AZ3)


Object Number: 1934344  Size: LF
(1)Accessory Power Outlet - Center Seat
Figure 19:

Passenger Seat Components - 1 of 2


Object Number: 1913813  Size: LF
(1)Seat Frame
(2)X325 (AN3)
(3)Seat Lumbar Vertical Motor - Passenger (AN3)
(4)Seat Adjuster Switch - Passenger (AG2)
(5)Seat Lumbar Switch - Passenger (AN3)
(6)Seat Belt Buckle - Passenger (10 Series)
(7)Inflatable Restraint Passenger Presence System (PPS) Module (AL0)
(8)Seat Adjuster Motor Assembly - Passenger (AG2)
(9)Inflatable Restraint Passenger Presence System (PPS) Sensor (AL0)
(10)Seat Recline Motor - Passenger (AN3)
(11)Seat Lumbar Horizontal Motor - Passenger (AN3)
Figure 20:

Passenger Seat Components - 2 of 2


Object Number: 1859596  Size: LF
(1)Heated Seat Element - Passenger Back (AN3)
(2)Heated Seat Element - Passenger Cushion (AN3)
Figure 21:

Under the Front Seats Components


Object Number: 1860645  Size: LF
(1)Yaw and Lateral Accelerometer Sensor (JL4)
(2)Inflatable Restraint Sensing and Diagnostic Module (SDM)
(3)Inflatable Restraint Vehicle Rollover Sensor (ASF)
(4)Shifter Housing
(5)Rear HVAC Outlet Duct
(6)Rear Object Sensor Control Module (UD7)
Figure 22:

Left Rear of the Passenger Compartment Components


Object Number: 1860619  Size: LF
(1)Rear Window
(2)Remote Control Door Lock Receiver (RCDLR) (AP3/AP8)
Figure 23:

Right Rear of the Passenger Compartment Components


Object Number: 1855934  Size: LF
(1)Information Center Telltale Assembly (UD7)
(2)Rear Window Defogger Grid (C49)
(3)Sliding Rear Window Open Relay (A48)
(4)Sliding Rear Window Close Relay (A48)
(5)Sliding Rear Window Motor (A48)
Figure 24:

Above the Rear Window Components


Object Number: 1855920  Size: LF
(1)Rear Window
(2)Center High Mounted Stop Lamp (CHMSL)