GM Service Manual Online
For 1990-2009 cars only

Sunroof Sunshade Replacement Extended Cab

Removal Procedure

    Important: If the sunshade spring releases, it will be necessary to rewind it. Turn the sunshade roller end slot  20 times in the counterclockwise direction.

    Important: A new sunshade service part comes pre-loaded with a pin tool holding spring tension on the sunshade. If the sunshade spring releases, it will be necessary to rewind it and reinstall the pin tool. Following installation, retain the pin tool for future applications.

  1. Remove the sunroof window. Refer to Sunroof Window Replacement .
  2. Power the sunroof window guides to the fully open position.

  3. Object Number: 1825473  Size: SH

    Important: The cam locking hole will come in to view when the sunshade is in the fully open position on the passengers side.

  4. Close the sunshade (1) until the cam locking hole (2) come in to view.

  5. Object Number: 1825476  Size: SH
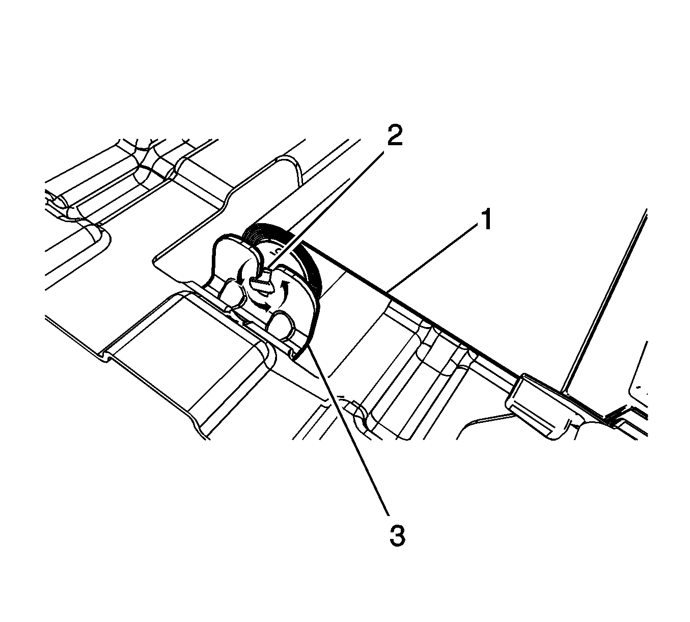
  6. Insert a suitable tool (1) into the sunshade cam locking hole (2).

  7. Object Number: 1825478  Size: SH
  8. Turn the sunshade (1) counterclockwise until the shade cam (2) is align with the bracket (3) notch.

  9. Object Number: 1825482  Size: SH
  10. Lift upward on the sunshade (1) removing it from the bracket (2).

  11. Object Number: 1825483  Size: SH

    Important: The sunshade must be removed from the top of the vehicle.

  12. Push the sunshade (1) inward to the driver side releasing it from the bracket (2) notch.
  13. Remove the sunshade from outside of the vehicle.

Installation Procedure

  1. Install the sunshade to the vehicle from the passengers side.

  2. Object Number: 1825483  Size: SH
  3. Insert the end of the sunshade (1) to the driver side bracket (2) notch.

  4. Object Number: 1825482  Size: SH
  5. Insert the sunshade (1) to the passengers side bracket (2) notch.

  6. Object Number: 1825478  Size: SH
  7. Turn the sunshade cam (2) until it is aligned with the bracket (3) notch.
  8. Install the sunshade.

  9. Object Number: 1825476  Size: SH
  10. Remove the suitable tool (1) from the sunshade cam locking hole (2).
  11. Ensure that the sunshade cam (2) is fully seated in the bracket (3) and the sunshade slides smoothly.
  12. Install the sunroof window. Refer to Sunroof Window Replacement .
  13. Verify the operation of the sunshade.

Sunroof Sunshade Replacement Crew Cab

Removal Procedure

  1. Remove the sunroof window. Refer to Sunroof Window Replacement.

  2. Object Number: 594496  Size: SH
  3. Remove the screws (1) that retain the water trough to the sunroof frame.
  4. Remove the water trough through the roof opening of the vehicle.
  5. It is only necessary to lower the headliner. Only do those steps in the headliner replacement procedure that will lower the headline enough to gain access to the part to be remove. Refer to Headlining Trim Panel Replacement.
  6. Important: Only perform this procedure to the side that is being repair.

  7. Remove the sunroof drain hoses. Refer to Sunroof Housing Front Drain Hose Replacement or Sunroof Housing Rear Drain Hose Replacement

  8. Object Number: 2177985  Size: SH
  9. Slide the sunshade (1) rearward to release it from the tracks.
  10. Remove the sunshade from the of the vehicle.

Installation Procedure

  1. Position the front of the sunshade (1) to the rear of the sunroof frame.
  2. Install the retaining tabs of the sunshade into the left and right sides of the track slots in the sunroof frame.
  3. Slide the sunshade forward while simultaneously inserting the rear retaining tabs into the track slot
  4. Ensure that the sunshade tabs are fully seated in the track slots, and the sunshade slides smoothly.

  5. Object Number: 2177985  Size: SH
  6. Remove the left and right sunroof housing drain gutters (1) from the rear of the sunroof frame (2). Refer to Sunroof Housing Drain Gutter Replacement
  7. Important: Only perform this procedure to the side that is being repair.

  8. Remove the sunroof drain hoses. Refer to Sunroof Housing Front Drain Hose Replacement or Sunroof Housing Rear Drain Hose Replacement
  9. Install the headliner. Refer to Headlining Trim Panel Replacement.
  10. Install the water trough to the sunroof from the top of the vehicle.
  11. Notice: Refer to Fastener Notice in the Preface section.


    Object Number: 594496  Size: SH
  12. Install the screws (1) that retain the water trough to the sunroof.
  13. Tighten
    Tighten the screws to 1 N·m (9 lb in).

  14. Install the sunroof window. Refer to Sunroof Window Replacement.