GM Service Manual Online
For 1990-2009 cars only

Removal Procedure

  1. Drain the engine coolant. Refer to Cooling System Draining and Filling in Engine Cooling.
  2. Disconnect the MAF and IAT sensor electrical connectors. Refer toIAT Sensor Replacement in Engine Cooling.
  3. Remove the cover to the air cleaner.
  4. Remove the top half of the fan shroud. Refer to Fan Shroud Replacement in Engine Cooling.

  5. Object Number: 293979  Size: SH
  6. Disconnect the front and rear brake lines from the master cylinder and cap the lines and the master cylinder.

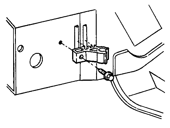
  7. Object Number: 293523  Size: SH
  8. Remove the bolt and the brake line bracket near the right side fender well.
  9. Open the brake line retaining clip near the right side fender well.
  10. Remove the ABS harness connector near the right side fender well.
  11. Remove the lower radiator hose from the radiator. Refer to Radiator Hose Replacement in Engine Cooling.
  12. Remove the power steering and the return lines from the power steering gear and cap the lines and the power steering gear. Refer to Steering Gear Replacement in Power Steering System.
  13. Raise and support the vehicle. Refer to Lifting and Jacking the Vehicle in General Information.
  14. Remove the lower half of the fan shroud. Refer to Fan Shroud Replacement in Engine Cooling.

  15. Object Number: 293951  Size: SH
  16. Remove the bolts and the front cover shield.

  17. Object Number: 293981  Size: SH
  18. Remove the bolts and the brake line bracket below the right side of the core support.

  19. Object Number: 293993  Size: SH
  20. Disconnect the front and rear brake line fittings at the core support and cap the lines.

  21. Object Number: 293995  Size: SH
  22. Remove the bolt and the brake line bracket below the left side of the core support.
  23. Disconnect the power steering pressure line from the power steering pump. Refer to Power Steering Hoses Replacement in Power Steering System.
  24. Lower the vehicle.
  25. Remove the evaporative emission canister and the support bracket. Refer to Evaporative Emission Canister Replacement in Engine Controls.
  26. Disconnect the upper and the lower oil cooler lines from the radiator and cap the lines. Refer to Engine Oil Cooler Hose/Pipe Replacement in Engine Cooling.

  27. Object Number: 293997  Size: SH
  28. Remove the bolt and the brake line bracket near the left side fender well.
  29. Open the brake line retaining clip below the ABS module.

  30. Object Number: 294000  Size: SH
  31. Disconnect the brake line fitting below the ABS module.
  32. Disconnect the brake line fitting at the left front brake hose inlet.

  33. Object Number: 294002  Size: SH
  34. Disconnect the front brake line from the ABS module and cap the ABS module.
  35. Remove the rear brake lines from the vehicle.

Installation Procedure

  1. Install the rear brake lines into the vehicle.

  2. Object Number: 294002  Size: SH

    Notice: Use the correct fastener in the correct location. Replacement fasteners must be the correct part number for that application. Fasteners requiring replacement or fasteners requiring the use of thread locking compound or sealant are identified in the service procedure. Do not use paints, lubricants, or corrosion inhibitors on fasteners or fastener joint surfaces unless specified. These coatings affect fastener torque and joint clamping force and may damage the fastener. Use the correct tightening sequence and specifications when installing fasteners in order to avoid damage to parts and systems.

  3. Connect the front brake line to the ABS module.
  4. Tighten
    Tighten the brake line fittings to 24 N·m (18 lb ft).


    Object Number: 294000  Size: SH
  5. Connect the brake line fitting at the left front brake hose inlet.
  6. Tighten
    Tighten the brake line fitting to 24 N·m (18 lb ft).

  7. Connect the brake line fitting below the ABS module.
  8. Tighten
    Tighten the brake line fitting to 24 N·m (18 lb ft).


    Object Number: 293997  Size: SH
  9. Insert the brake lines and close the brake line retaining clip below the ABS module.
  10. Install the bracket for the brake lines to the left side fender well with the bolt.
  11. Tighten
    Tighten the brake line bracket bolt to 8 N·m (71 lb in).

  12. Connect the upper and the lower oil cooler lines to the radiator. Refer to Engine Oil Cooler Hose/Pipe Replacement in Engine Cooling.
  13. Install the evaporative emission canister and the support bracket. Refer to Evaporative Emission Canister Replacement in Engine Controls.
  14. Raise and support the vehicle. Refer to Lifting and Jacking the Vehicle in General Information.
  15. Connect the power steering pressure line to the power steering pump. Refer to Power Steering Hoses Replacement in Power Steering System.

  16. Object Number: 293995  Size: SH
  17. Install the brake line bracket below the left side of the core support with the bolt.
  18. Tighten
    Tighten the brake line bracket bolt to 8 N·m (71 lb in).


    Object Number: 293993  Size: SH
  19. Connect the front and rear brake line fittings at the core support.
  20. Tighten
    Tighten the brake line fittings to 24 N·m (18 lb ft).


    Object Number: 293981  Size: SH
  21. Install the brake line bracket below the right side of the core support with the bolt.
  22. Tighten
    Tighten the brake line bracket bolt to 8 N·m (71 lb in).


    Object Number: 293951  Size: SH
  23. Install the front cover shield with the bolts.
  24. Tighten
    Tighten the front cover shield bolts to 35 N·m (26 lb ft).

  25. Install the lower half of the fan shroud. Refer to Fan Shroud Replacement in Engine Cooling.
  26. Lower the vehicle.
  27. Install the power steering lines and the return lines to the power steering gear. Refer to Steering Gear Replacement in Power Steering System.
  28. Install the lower radiator hose to the radiator. Refer to Radiator Hose Replacement in Engine Cooling.
  29. Install the ABS harness connector near the right side fender well.
  30. Insert the brake lines and close the retaining clip near the right side fender well.

  31. Object Number: 293523  Size: SH
  32. Install the brake line bracket near the right side fender well with the bolt.
  33. Tighten
    Tighten the brake line fittings to 8 N·m (71 lb in).


    Object Number: 293979  Size: SH
  34. Connect the front and the rear brake lines to the master cylinder.
  35. Tighten
    Tighten the brake line fittings to 24 N·m (18 lb ft).

  36. Install the top half of the fan shroud. Refer to Fan Shroud Replacement in Engine Cooling.
  37. Install the air cleaner cover.
  38. Connect the MAF and IAT sensor electrical connectors. Refer to IAT Sensor Replacement in Engine Cooling.
  39. Refill the engine coolant. Refer to Cooling System Draining and Filling in Engine Cooling.
  40. Bleed the power steering. Refer to Bleeding the Power Steering System in Power Steering System.
  41. Bleed the entire brake system. Refer to Hydraulic Brake System Bleeding in Hydraulic Brakes.