GM Service Manual Online
For 1990-2009 cars only

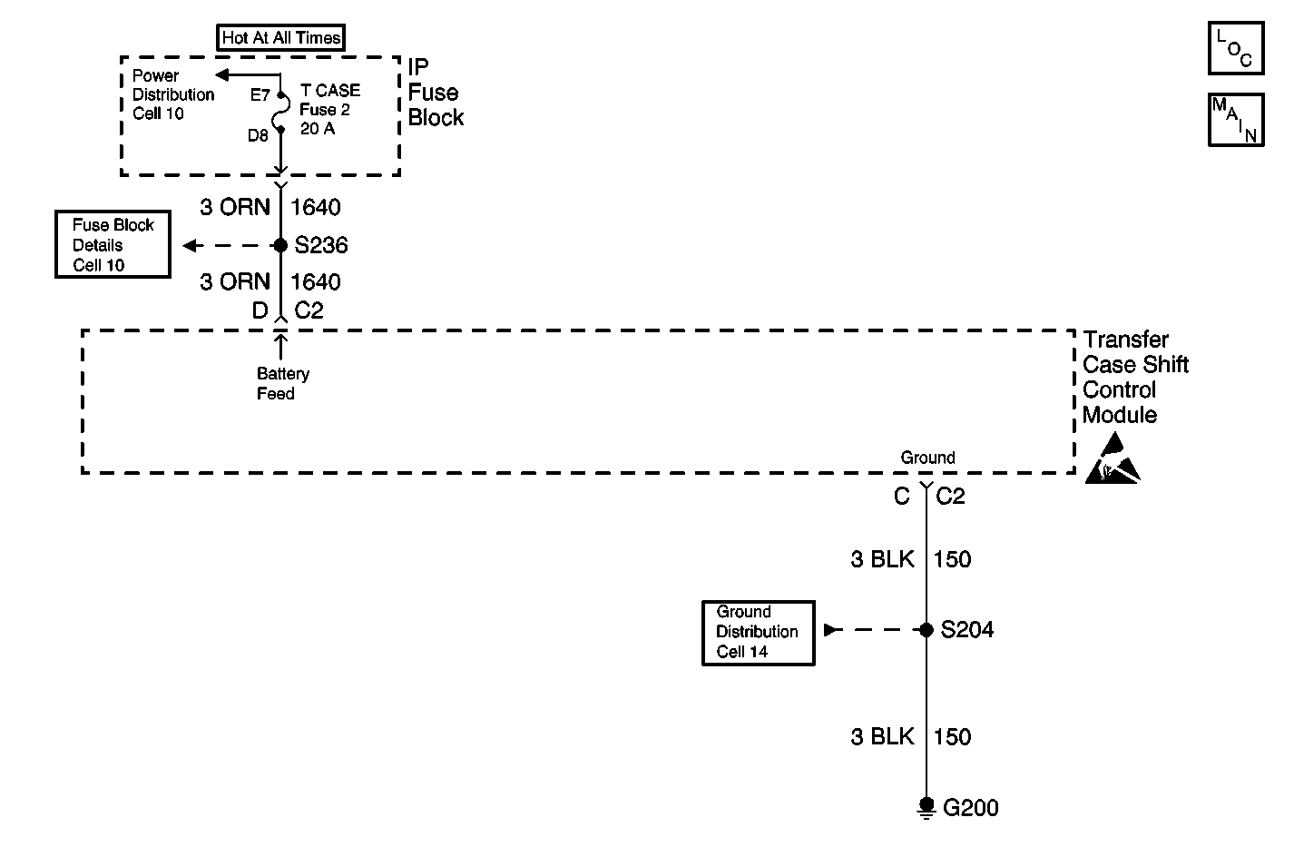
Object Number: 562224  Size: MF
Transfer Case Control Components
Transfer Case Control Schematics

Circuit Description

The transfer case motor is a bi-directional, permanent magnet, D.C. motor. When energized through Motor Feed A or Motor Feed B, the ground is provided by the opposing Motor Feed circuit and then grounded through the transfer case shift control module's ground circuit.

This DTC detects an open in the module's ground circuit and not the Motor Feed circuits.

Conditions for Setting the DTC

The system test the motor circuits:

    • First, the system checks for unwanted voltage.
    • Then, the system supplies voltage on each of the motor circuits and reads the voltage back on the other circuit.
    • After the system checks for opens and shorts on the motor circuits, its applies voltage through the motor and back to the module to ground.
    • If the system detects a high voltage on the ground circuit, the DTC is logged.

Action Taken When the DTC Sets

    • All shifting will be disabled.
    • The SERVICE indicator (4WD/AWD) lamp will be latched on for the remainder of the current ignition cycle.

Conditions for Clearing the DTC

    • The transfer case shift control module will clear the DTC if the condition for setting the DTC no longer exists.
    • A history DTC will clear after 100 consecutive ignition cycles without a fault present.
    • History DTCs can be cleared using a scan tool.

Test Description

The number(s) below refer to the step number(s) on the diagnostic table.

  1. Listen for an audible motor noise when the encoder motor operates. Command both the ON and OFF states. Repeat the commands as necessary.

  2. Tests the Motor Ground circuit for an open.

DTC C0315 Motor Ground Circuit Open

Step

Action

Value(s)

Yes

No

1

Was the Transfer Case Diagnostic System Check performed?

--

Go to Step 2

Go to Diagnostic System Check

2

  1. Install a scan tool.
  2. Turn the ignition ON, with the engine OFF.
  3. With the scan tool, command the Motor A/B control ON and OFF.

Does the encoder motor turn ON and OFF?

--

Go to Testing for Intermittent Conditions and Poor Connections

Go to Step 3

3

  1. Turn the ignition OFF.
  2. Disconnect the transfer case shift control module.
  3. Test the Motor Ground circuit for an open. Refer to Circuit Testing and Wiring Repairs in Wiring Systems.

Was the condition found and corrected?

--

Go to Step 5

Go to Step 4

4

Replace the transfer case shift control module. Refer to Transfer Case Shift Control Module Replacement .

Is the repair complete?

--

Go to Step 5

--

5

  1. Use the scan tool in order to clear the DTCs.
  2. Operate the vehicle within the Conditions for Running the DTC as specified in the supporting text.

Does the DTC reset?

--

Go to Step 2

System OK