GM Service Manual Online
For 1990-2009 cars only
Makes
🢒
Chevrolet
🢒
2000
🢒
Tahoe Limited
🢒
Transmission/Transaxle
🢒
Automatic Transmission - 4L60-E
🢒 Shift Lock Control Schematics
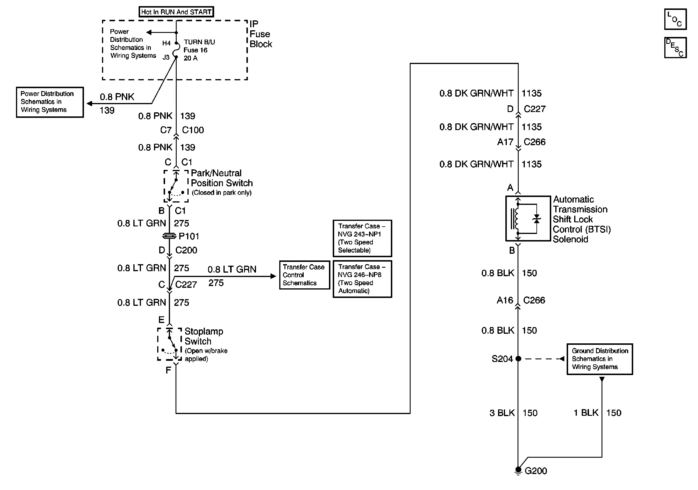
Automatic Transmission Shift Lock Control Circuit
Shift Lock Control Component Views
Automatic Transmission Shift Lock Control Circuit Description
IGN A Fuse and Ignition Switch
IGN A Fuse and Ignition Switch
AIR BAG, TURN B/U, CRANK, and TRANS Fuses
Control Module and Shift Motor/Encoder - Gasoline Engines
Shift Motor/Encoder Circuits, PNP, and PCM/VCM Interfaces
G200 (1 of 4)