GM Service Manual Online
For 1990-2009 cars only
Makes
🢒
Chevrolet
🢒
2000
🢒
Tahoe Limited
🢒
Restraints
🢒
Seat Belts
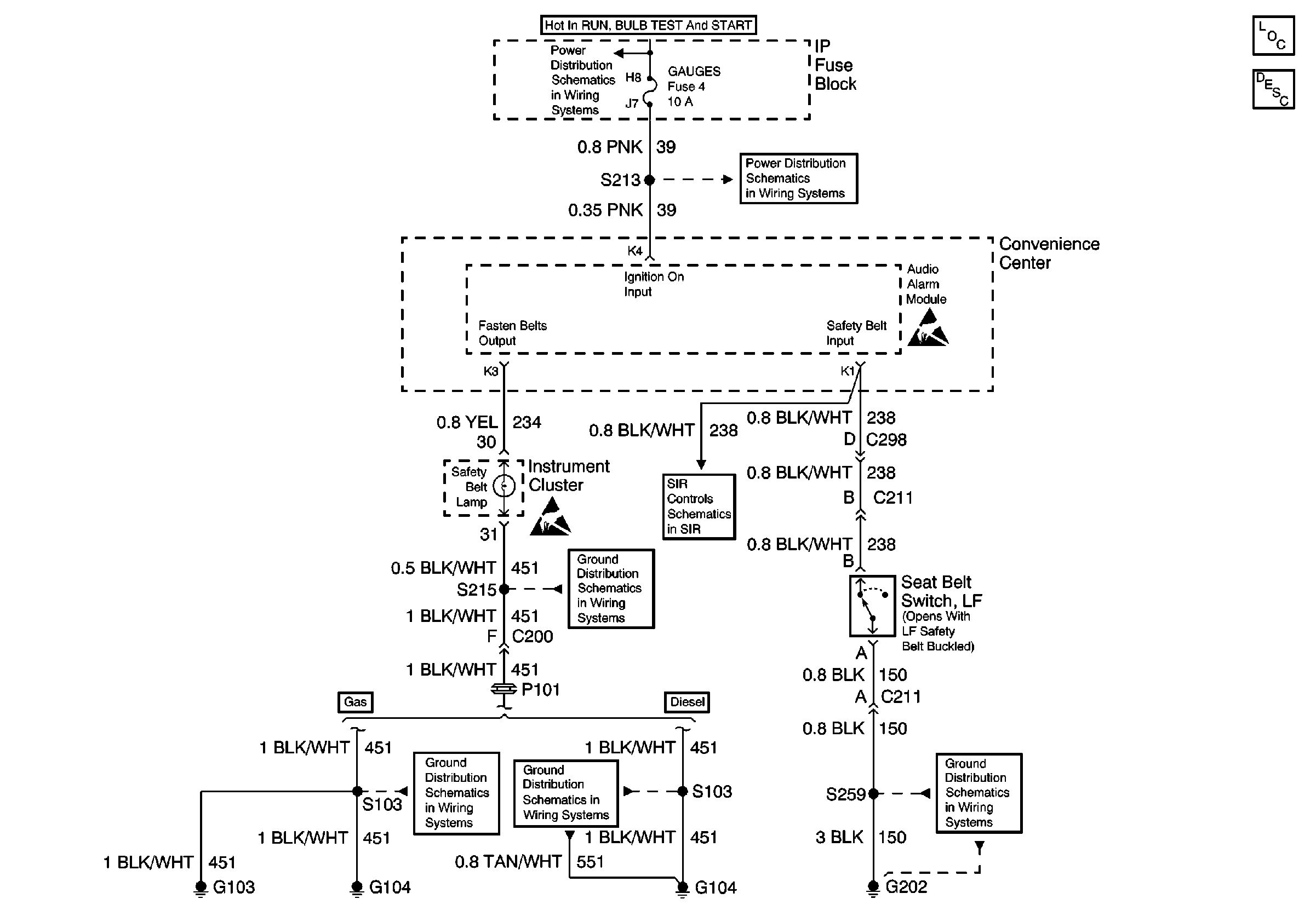
🢒 Seat Belt Schematics
Figure
1:
Base
Figure
2:
Luxury