GM Service Manual Online
For 1990-2009 cars only
Makes
🢒
Chevrolet
🢒
2000
🢒
Tahoe Limited
🢒 Control Module and Shift Motor/Encoder - Diesel Engines
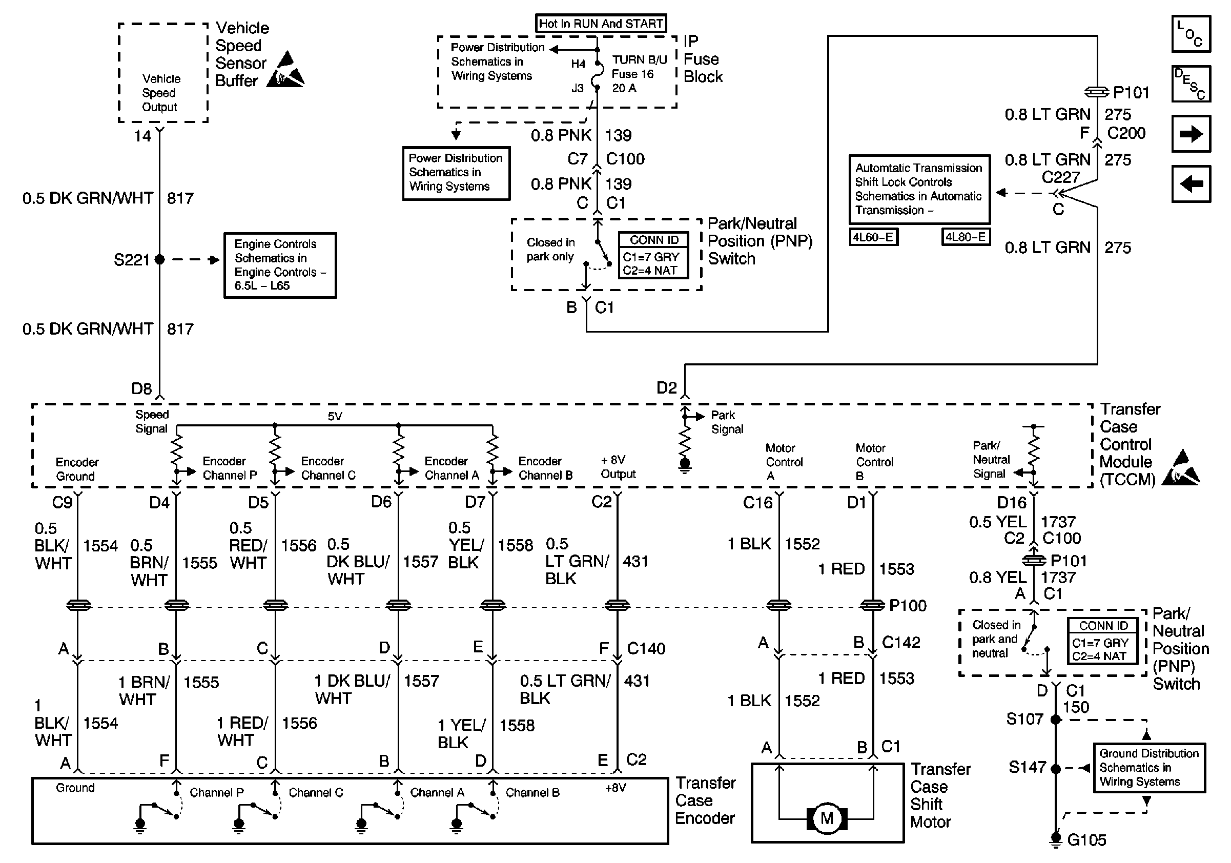
Control Module and Shift Motor/Encoder - Diesel Engines
Control Module and Shift Motor/Encoder -- Diesel Engines
Transfer Case Control Components
Transfer Case System Description
Front Axle Actuator Circuits
Control Module and Shift Motor/Encoder - Gasoline Engines
Handling ESD Sensitive Parts Notice
Handling ESD Sensitive Parts Notice
Automatic Transmission Shift Lock Control Circuit
Automatic Transmission Shift Lock Control Circuit
G105 (1 of 2)
IGN A Fuse and Ignition Switch
AIR BAG, TURN B/U, CRANK, and TRANS Fuses
VSS Circuits