GM Service Manual Online
For 1990-2009 cars only

Tools Required

    • J 22269-01 Piston Remover
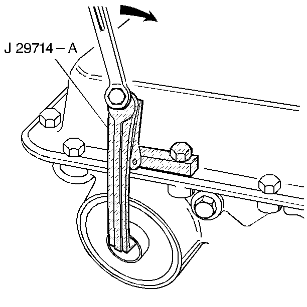
    • J 29714-A Servo Cover Compressor

    Object Number: 7758  Size: SH
  1. Inspect the 4th apply piston, 2-4 servo converter, 2nd apply piston, and servo piston inner housing for the following defects:
  2. • Cracks
    • Scoring
    • Burrs and nicks
  3. Install seals on all the servo piston and the servo cover.

  4. Object Number: 13160  Size: SH
  5. Install the servo cushion spring and the cushion spring retainer in the 2nd apply piston.
  6. Use a piston compressor and compress the second apply piston.
  7. Install the second apply piston retaining ring.

  8. Object Number: 7760  Size: SH
  9. Assemble the 2-4 servo components.

  10. Object Number: 5429  Size: SH
  11. Install the 2-4 servo assembly into the 2-4 servo bore.

  12. Object Number: 5426  Size: SH
  13. Install the servo cover compressor.

  14. Object Number: 5427  Size: SH
  15. Tighten the bolt in order to compress the servo cover.

  16. Object Number: 7764  Size: SH
  17. Install the servo cover retaining ring.