GM Service Manual Online
For 1990-2009 cars only

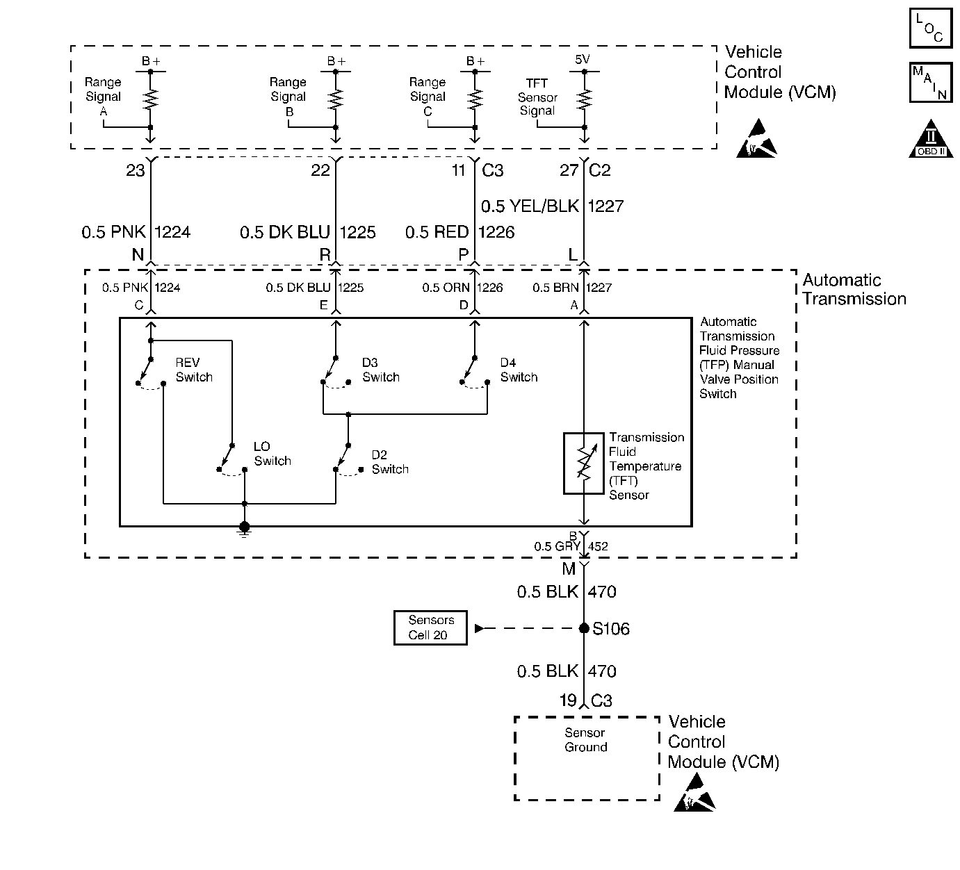
Object Number: 42266  Size: LF
Automatic Transmission Components In Transmission Components
Automatic Transmission Controls Schematics Thumbnails
OBD II Symbol Description Notice
Handling ESD Sensitive Parts Notice
Handling ESD Sensitive Parts Notice

Circuit Description

The Automatic Transmission Fluid Temperature (TFT) sensor is a thermistor within the Automatic Transmission Fluid Pressure Manual Valve Position Switch (TFP Val. Position Sw.). The TFT sensor controls the signal voltage to the VCM. The VCM supplies a 5-volt reference signal to the sensor on circuit 1227. When the transmission fluid is cold, the sensor resistance is high. The VCM detects high signal voltage. As the transmission fluid temperature increases to the normal operating temperature of 100°C (212°F), the sensor resistance becomes less and the voltage decreases to 1.5-2 volts.

When the VCM detects a continuous short to ground in the TFT signal circuit or in the TFT sensor, then DTC P0712 sets. DTC P0712 is a type B DTC.

Conditions for Setting the DTC

DTC P0712 sets if the following conditions occur two consecutive times:

    • The system voltage is 10-17 volts.
    • The ignition switch is in the RUN position.
    • The TFT sensor indicates a voltage less than 0.2 volts.
    • All conditions met for 10 seconds

Action Taken When the DTC Sets

       Important: The scan tool does not display the default temperature.

    • The VCM uses a transmission fluid temperature default value of 135°C (275°F).
    • The VCM freezes shift adapts from being updated.
    • The VCM illuminates the Malfunction Indicator Lamp (MIL).

Conditions for Clearing the MIL/DTC

    • The VCM turns OFF the MIL after three consecutive ignition cycles without a failure reported.
    • A scan tool can clear the DTC from the VCM history. The VCM clears the DTC from the VCM history if the vehicle completes 40 warm-up cycles without a failure reported.
    • The VCM cancels the DTC default actions when the fault no longer exists and the ignition is OFF long enough in order to power down the VCM.

Diagnostic Aids

    • If a Transmission Fluid Overtemperature DTC P1812 is also set, examine the transmission cooling system.
    • Inspect the harness routing for a potential short to ground in circuit 1227. Normally, the scan tool TFT display should rise steadily to about 100°C (212°F), then stabilize.
    • Inspect the wiring for poor electrical connections at the VCM. Inspect the wiring for poor electrical connections at the transmission 20-way connector. Look for the following conditions:
       - A bent terminal
       - A backed out terminal
       - A damaged terminal
       - Poor terminal tension
       - A chafed wire
       - A broken wire inside the insulation
    • When diagnosing for an intermittent short or open condition, massage the wiring harness while watching the test equipment for a change.
    • Use the temperature-to-resistance scale when testing the TFT sensor at various temperature levels. Test the TFT sensor in order to evaluate the possibility of a skewed (mis-scaled) sensor. A skewed sensor can result in delayed garage shifts or TCC complaints.
    • Verify the customer's driving habits, trailer towing, etc. . .

Test Description

The numbers below refer to the step numbers on the diagnostic chart.

  1. This step tests for a short to ground or a skewed sensor.

  2. This step tests for an internal fault within the transmission by creating an open.

DTC P0712 Transmission Fluid Temperature (TFT) Sensor Circuit -- Low Input (High Temperature Indicated)

Step

Action

Value(s)

Yes

No

1

Was the Powertrain On-Board Diagnostic (OBD) System Check performed?

--

Go to Step 2

Go to

Powertrain On Board Diagnostic (OBD) System Check (4.3L)

Powertrain On Board Diagnostic (OBD) System Check (5.0L and 5.7L)

2

Perform the transmission fluid checking procedure.

Refer to Transmission Fluid Check .

Was the fluid checking procedure performed?

--

Go to Step 3

--

3

  1. Install the scan tool (tech 1) ®.
  2. With the engine OFF, turn the ignition switch to the RUN position.
  3. Important: Before clearing the DTCs, use the scan tool in order to record the Freeze Frame and Failure Records for reference. The Clear Info function will erase the data.

  4. Record the DTC Freeze Frame and Failure Records.

Does the scan tool display a TFT sensor signal voltage less than the specified value?

0.2 volts

Go to Step 4

Go to Diagnostic Aids

4

  1. Turn the ignition OFF.
  2. Disconnect the transmission 20-way connector.
  3. With the engine OFF, turn the ignition switch to the RUN position.

Does the scan tool display a TFT sensor signal voltage greater than the specified value?

4.92 volts

Go to Step 5

Go to Step 9

5

  1. Install the J 39775 Jumper Harness on the Connector End View side of the 20-way connector.
  2. Using the J 39200 DVOM and J 35616-A Connector Test Adapter Kit, measure the resistance between terminals L and M.

Is the resistance within specifications?

3088-3942ohms at 20°C (68°F)

159-198ohms at 100°C (212°F)

Go to Diagnostic Aids

Go to Step 6

6

  1. Remove the transmission oil pan.
  2. Refer to Transmission Oil Pan Removal.

  3. Check the Automatic Transmission Wiring Harness Assembly for a short to ground.
  4. Refer to Electrical Diagnosis, Section 8.

Did you find a problem?

--

Go to Step 11

Go to Step 7

7

  1. Disconnect the Automatic Transmission Wiring Harness Assembly at the TFT sensor.
  2. Measure the resistance of the TFT sensor.

Is the resistance within specifications?

3088-3942ohms at 20°C (68°F)

159-198ohms at 100°C (212°F)

Go to Diagnostic Aids

Go to Step 8

8

Replace the TFP Val. Position Sw.

Refer to Automatic Transmission Fluid Pressure Manual Valve Position Switch Replacement, in On-Vehicle Service.

Is the replacement complete?

--

Go to Step 11

--

9

Inspect circuit 1227 for a short to ground.

Refer to Electrical Diagnosis, Section 8.

Did you find a problem?

--

Go to Step 11

Go to Step 10

10

Replace the VCM. Refer to Section 6:

VCM Replacement/Programming (4.3L)

VCM Replacement/Programming (5.0L and 5.7L)

Is the replacement complete?

--

Go to Step 11

--

11

In order to verify your repair, perform the following procedure:

  1. Select DTC.
  2. Select Clear Info.
  3. Ensure the following conditions are met:
  4. • With the engine OFF, the ignition switch is in the RUN position.
    • The scan tool indicates a TFT sensor signal voltage greater than 0.2 volts for 10 seconds.
  5. Select Specific DTC. Enter DTC P0712.

Has the test run and passed?

--

System OK

Begin the diagnosis again. Go to Step 1