Tools Required
| • | J 21363 Intermediate
Clutch Inner Seal Protector |
| • | J 38734 Intermediate
Clutch Piston Compressor Adapter |
- Lubricate the new inner (637) and outer (638) intermediate clutch piston seals
and seal pockets in the housing with DEXRON III® transmission fluid.
- Install the inner (637) and outer (638) intermediate clutch piston
seals onto the intermediate clutch piston (636) with the seal lip facing away
from the spring pockets.
- Install the intermediate clutch piston (636) onto the center support (640)
using the J 21363
. A fine
gauge feeler blade can be used to assist with the piston seal installation.
- Remove J 21363
.
- Install the intermediate clutch piston spring and retainer assembly (635).
Align the springs with the pockets in the intermediate clutch piston.
- Install the intermediate clutch piston retainer ring (634) using J 38734
and J 23327
.
- Remove the tools.
- Preheat the new direct clutch housing oil seals (639) in hot tap water
to aid installation.
- Place J 38735-1
over
the center support hub. Adjust J 38735-1
to the bottom seal groove.
- Place one new seal onto J 38735-1
.
- Place one new seal onto J 38735-3
. Use J 38735-3
in order to push the seal into the lower seal groove.
- Remove the tools.
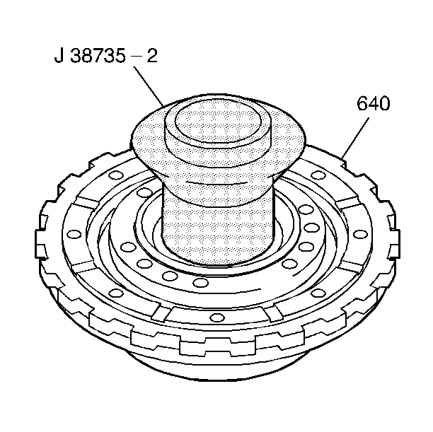
- Place the small bevel end of J 38735-2
over the seal.
- Leave J 38735-2
in place for at least one minute to allow the oil seal to return to the proper
size.
- Use J 36850
or the equivalent in order to keep the seals in place.
- Remove J 38735-2
.
- Repeat the installation procedure for the remaining seals. Adjust J 38735-1
for each seal groove.
- Place the large bevel end of J 38735-2
over the oil seals.
- Leave J 38735-2
in place for at least one minute to allow the oil seals to return to the proper
size.
- Use J 36850
or the equivalent in order to keep the seals in place.