GM Service Manual Online
For 1990-2009 cars only

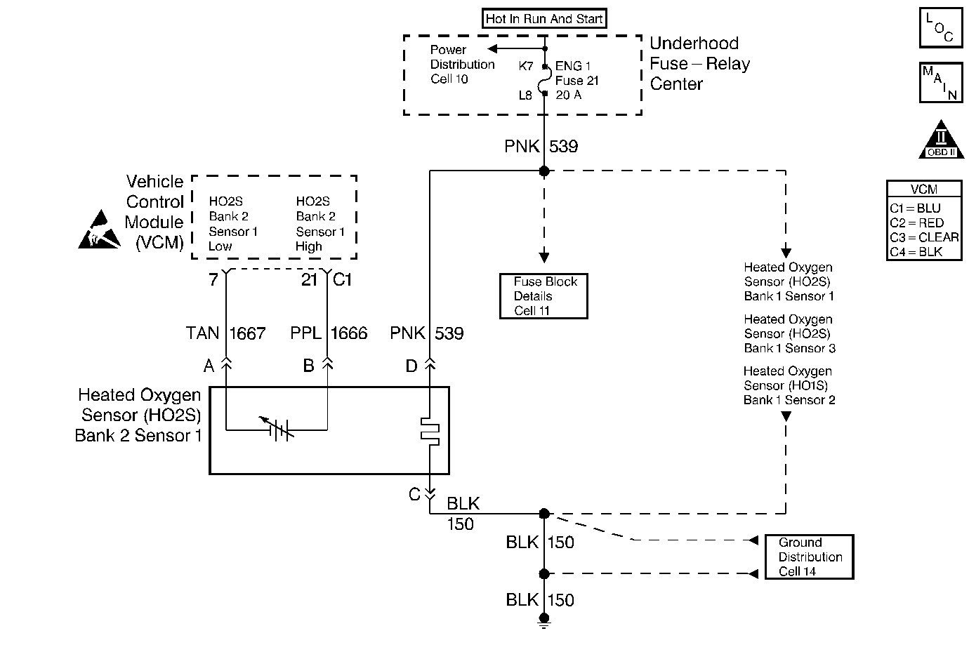
Object Number: 33418  Size: MF
Engine Controls Components
Engine Controls Schematics
OBD II Symbol Description Notice
Handling ESD Sensitive Parts Notice

Circuit Description

Important: If the voltage is measured with a 10 megohm digital voltmeter, the voltage may read as low as 0.32 volt.

The VCM supplies a voltage of about 0.45 volt between the HO2S High and the HO2S Low circuits.

The Heated Oxygen Sensor (HO2S) varies the voltage from approximately 1.0 volt (1000 mV) during rich conditions to 0.10 volt (100 mV) during lean conditions. The HO2S is like an open circuit and produces no voltage when it is below 360°C (600°F).

The HO2S heater provides for a faster sensor warm-up which allows the sensor to become active in a shorter period of time and remain active during a long extended idle. The DTC P0154 determines if the HO2S or the HO2S circuit has developed an open. This is a type A DTC.

Conditions for Setting the DTC

The following conditions will set the DTC.

    • No TP sensor DTCs
    • No EVAP DTCs
    • No IAT sensor DTCs
    • No MAP DTCs
    • No ECT sensor DTCs
    • No MAF DTCs
    • No EGR DTCs
    • No intrusive test in progress
    • No device controls active
    • System Voltage is at least 9 volts
    • The engine run time is at least 2 minutes.

Open Test Enable

    • The engine run time is at least 2 minutes
    • DTC P0151 is not active
    • A Closed Loop
    • The HO2S (Bank 2, Sensor 1) voltage is greater than 299 mV but less than 598 mV

Action Taken When the DTC Sets

The VCM turns the malfunction indicator lamp (MIL) ON after 2 consecutive test failures.

Conditions for Clearing the MIL/DTC

The VCM turns OFF the MIL after 3 consecutive driving trips without a fault condition present. A history DTC will clear if no fault conditions have been detected for 40 warm-up cycles (the coolant temperature has risen 22°C (40°F) from the start-up coolant temperature and the engine coolant temperature exceeds 71°C (160°F) during that same ignition cycle) or the scan tool clearing feature has been used.

Diagnostic Aids

A poor connection, a rubbed through wire insulation, or a wire broken inside the insulation may cause an intermittent.

Check for the following:

    • A poor connection or a damaged harness Inspect the harness connectors for the following conditions:
       - Backed out terminals
       - Improper mating
       - Broken locks
       - An improperly formed or damaged terminal
       - A poor terminal to wire connection
       - A damaged harness
    • A malfunctioning HO2S (Bank 2, Sensor 1) heater or heater circuit:
        1. With the ignition ON and the engine OFF, the HO2S (Bank 2, Sensor 1) voltage displayed on a scan tool should gradually drop to below 0.300 volt, indicating that the heater is working properly.
        2. If not, disconnect the HO2S (Bank 2, Sensor 1) and connect a test lamp between the terminals C and D.
   • If the test light does not light, repair the open in the affected circuit.
   • If the test light lights, replace the HO2S (Bank 2, Sensor 1).
    • An intermittent test: Use a scan tool in order to monitor the HO2S (Bank 2, Sensor 1) signal voltage while moving the related connectors and the wiring harness, with a warm engine running at part throttle in a closed loop. If the failure is induced, the HO2S (Bank 2, Sensor 1) signal voltage reading will change from its normal fluctuating voltage (above 600 mV and below 300 mV) to a fixed value around 450 mV. This may help in order to isolate the location of the malfunction.

Never solder the HO2S wires. For a proper wire and connector repair, refer to Wiring Repairs in Engine Electrical.

Test Description

The numbers below refer to the step numbers in the diagnostic table.

  1. If the conditions for setting DTC P0154 exist, the system will not go into a Closed Loop.

  2. This step will determine if the sensor or the wiring is the cause of DTC P0154.

Step

Action

Value(s)

Yes

No

1

Important: Before clearing DTCs, use the scan tool in order to record freeze frame and the failure records for reference because the Clear Info function will lose the data.

Was the Powertrain On-Board Diagnostic (OBD) System Check performed?

--

Go to Step 2

Go to Powertrain On Board Diagnostic (OBD) System Check

2

  1. Connect the scan tool.
  2. Run the engine at the normal operating temperature.
  3. Run the engine above the specified value for 2 minutes.

Does the scan tool indicate a Closed Loop?

1200 RPM

Go to Step 5

Go to Step 3

3

  1. Disconnect the Heated Oxygen Sensor (HO2S Bank 1, Sensor 2) electrical connector.
  2. Jumper the HO2S (Bank 2, Sensor 1) harness HI and Lo circuits (VCM side) to ground.
  3. Turn ON the ignition leaving the engine off.

Does the scan tool data display indicate HO2S (Bank 2, Sensor 1) voltage less than the specified value?

0.2 V (200 mV)

Go to Step 7

Go to Step 4

4

  1. Remove the jumpers.
  2. Reconnect the HO2S (Bank 2, Sensor 1).
  3. Turn off the ignition.
  4. Disconnect the blue VCM connector.
  5. Probe the HO2S (Bank 2, Sensor 1) with a test lamp to B+.

Is the test lamp on?

--

Go to Step 6

Go to Step 9

5

The DTC is intermittent. If no additional DTCs are stored, refer to the Diagnostic Aids. If additional DTCs are stored, refer to those tables.

--

Go to The Applicable DTC Table

Go to Step 6

6

Check for an open in the HO2S (Bank 2, Sensor 1) signal circuit.

Was a problem found?

--

Go to Step 11

Go to Step 8

7

Check for a faulty HO2S (Bank 2, Sensor 1) connection.

Was a problem found?

--

Go to Step 11

Go to Step 10

8

Check for a poor connection at the VCM.

Was a problem found?

--

Go to Step 11

Go to Step 12

9

Repair the open HO2S (Bank 2, Sensor 1) Low circuit. Refer to Wiring Repairs in Engine Electrical.

Is the action complete?

--

Go to Step 13

--

10

Replace the HO2S (Bank 2, Sensor 1). Refer to Heated Oxygen Sensor (HO2S) Replacement .

Is the action complete?

--

Go to Step 13

--

11

Repair the circuit as necessary. Refer to Wiring Repairs in Engine Electrical.

Is the action complete?

--

Go to Step 13

--

12

Replace the VCM.

Important:  If the VCM is faulty, reprogram the VCM. Refer to VCM Replacement/Programming .

Is the action complete?

--

Go to Step 13

--

13

  1. Using the scan tool, select the DTC and the Clear Info.
  2. Start the Engine.
  3. Idle at the normal operating temperature.
  4. Select the DTC and the Specific.
  5. Enter the DTC number which was set.
  6. Operate the vehicle within the conditions for setting this DTC as specified in the supporting text.

Does the scan tool indicate that this diagnostic ran and passed?

--

Go to Step 14

Go to Step 2

14

Using the scan tool, select the Capture Info and the Review Info.

Are any DTCs displayed that have not been diagnosed?

--

Go to The Applicable DTC Table

System OK