GM Service Manual Online
For 1990-2009 cars only

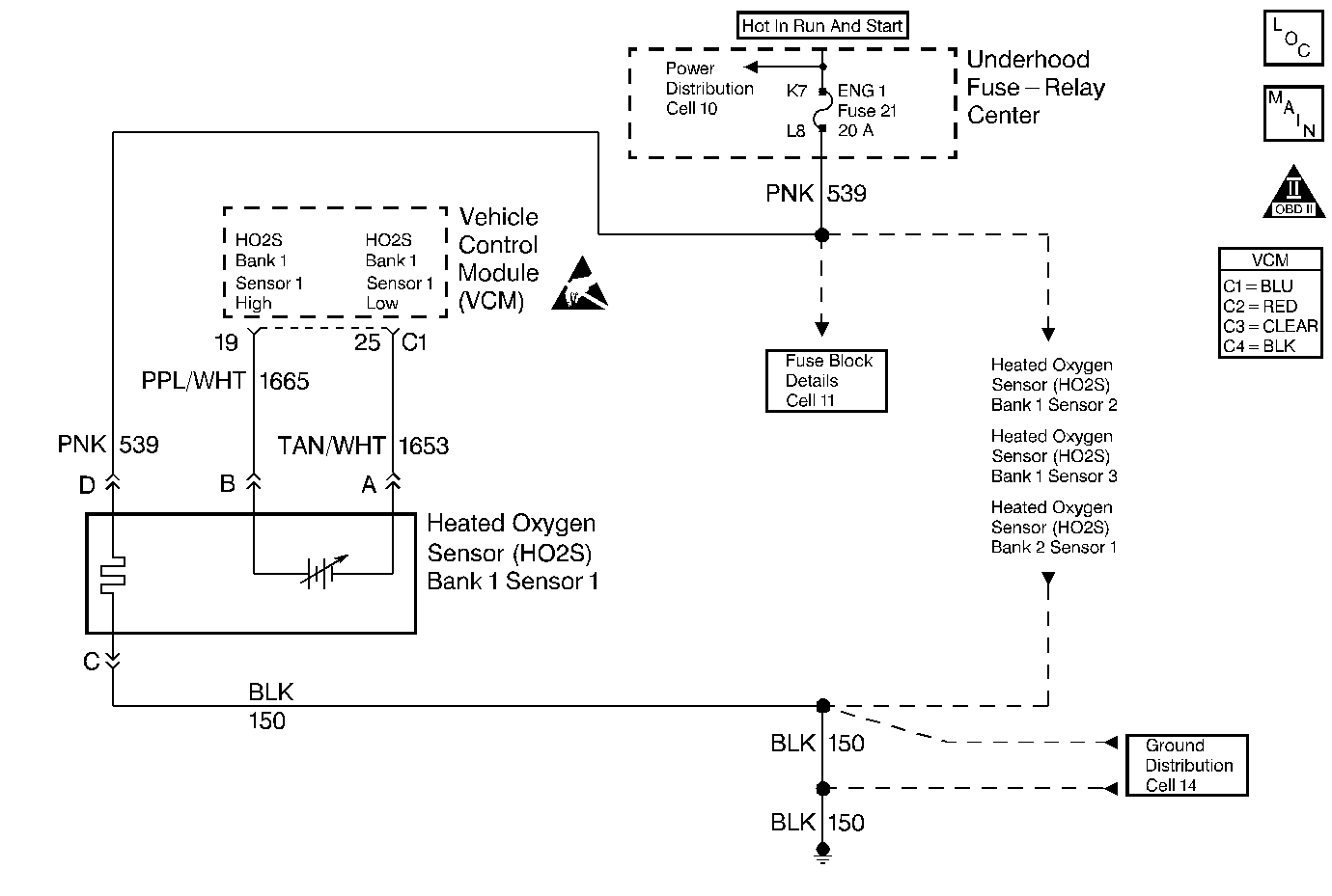
Object Number: 33395  Size: MF
Engine Controls Components
Engine Controls Schematics
OBD II Symbol Description Notice
Handling ESD Sensitive Parts Notice

Circuit Description

In order to provide the best possible combination of driveability, fuel economy, and emission control, the vehicle uses a Closed Loop air and fuel metering system. While in a Closed Loop, the VCM monitors the oxygen sensor signal voltage. The VCM adjusts the fuel delivery based on a signal voltage. The long and short term fuel values, which a scan tool can monitor, indicates a change made to the fuel delivery. Ideal fuel trim values are around 128; if the oxygen sensor signal indicates a lean condition, the VCM adds fuel. This results in fuel trim values above 128. If the oxygen sensor detects a rich condition, the fuel trim values will read below 128. This indicates that the VCM is reducing the amount of fuel delivered. If an excessively lean condition is detected, the VCM sets this DTC which is a type B DTC.

Conditions for Setting the DTC

    • No IAC or idle DTCs
    • No HO2S sensor DTCs
    • No TP sensor DTCs
    • No MAP sensor DTCs
    • No EGR sensor DTCs
    • No EVAP sensor DTCs
    • No ECT sensor DTCs
    • No MAF sensor DTCs
    • No IAT sensor DTCs
    • No VS sensor DTCs
    • No system voltage DTCs
    • No Misfire DTCs
    • Throttle position less than 69.9%
    • Engine speed greater than 525 RPM but less than 4500 RPM
    • The BARO greater than 70 kPa
    • The ECT greater than 0°C but less than 99.7°C for the 5.0L, 5.7L
    • The ECT greater than 60°C but less than 99.7°C for the 7.4L
    • The MAP is greater than 20 kPa but less than 98.9 kPa.
    • The IAT greater than -20° C but less than 69.7° C for the 5.0L, 5.7L
    • The IAT greater than -20° C but less than 80° C for the 7.4L
    • The air flow greater than 3 grams per second but less than 150 grams per second for the 5.0L, 5.7L
    • The air flow greater than 3 grams per second but less than 200 grams per second for the 7.4L
    • The vehicle speed less than 85 mph
    • The average of short term fuel trim is no more than 115.

Action Taken When the DTC Sets

Important: To complete a trip cycle for the fuel trim diagnostic, the fuel trim diagnostic test must enable and run according to the current DTC Will Set When criteria above. A trip is not considered complete until the fuel trim diagnostic has run by the VCM.

When the current DTC initially sets, a software flag indicating an emissions related fault sets for 3 trips. The flag will clear provided the lean condition is no longer present. However, if the VCM detects the conditions for setting the current DTC during a trip while the flag is still set, the VCM turns on the MIL (Malfunction Indicator Lamp). The MIL remains on during all of the subsequent trips until the DTC has been cleared by service or the lean condition has not been detected and the conditions for checking the fuel trim have been met for 3 consecutive trips.

Conditions for Clearing the MIL/DTC

The VCM turns OFF the MIL after 3 consecutive driving trips without a fault condition present. A history DTC will clear if no fault conditions have been detected for 40 warm-up cycles (the coolant temperature has risen 22°C (40°F) from the start-up coolant temperature and the engine coolant temperature exceeds 71°C (160°F) during that same ignition cycle) or the scan tool clearing feature has been used.

Diagnostic Aids

If using the diagnostic tables does not isolate the problem, try monitoring the L. T. fuel trim and fuel trim cell while operating the vehicle under various loads. This may isolate the condition which caused the setting of the current DTC.

A condition that causes the DTC P0300 Engine Misfire Detected may also set the current DTC; conversely an extremely lean condition which sets the current DTC can cause a misfire at idle and the DTC P0300 to set. If the cause of the current DTC cannot be determined and the DTC P0300 is also set, refer to DTC P0300 Engine Misfire Detected .

On vehicles equipped with a 7.4L (California emissions), an AIR Pump that is stuck ON may also cause a DTC P0171, or DTC P0174 to set.

Test Description

The numbers below refer to step numbers on the diagnostic table.

  1. Visually and physically check the items that can cause a lean condition in order to determine the cause of the DTC being set.

  2. This step checks for a fault in the EVAP purge system which can cause DTC P0171 to be set.

Step

Action

Value(s)

Yes

No

1

Important: Before clearing DTC(s) use the scan tool to record freeze frame and failure records for reference, as data will be lost when Clear Info function is used.

Was the Powertrain On-Board Diagnostic (OBD) System Check performed?

--

Go to Step 2

Go to Powertrain On Board Diagnostic (OBD) System Check

2

Visually and physically check the following items:

    • The exhaust system for corrosion and loose or missing hardware.
    • The heated oxygen sensor is installed securely, and the pigtail harness is not contacting the exhaust manifold or ignition wires.
    • The vacuum hoses for splits, kinks, and proper connections.
    • The throttle body, intake manifold, and EGR valve for vacuum leaks.
    • Idle Air Control (IAC); if a high or unsteady idle is being experienced.
    • The Crankcase Ventilation Valve, spring and O-ring for proper installation.
    • The fuel for excessive water, alcohol, or other contaminates.
    • VCM and sensor grounds are clean, tight and in the proper location.

Was a repair made?

--

Go to Step 8

Go to Step 3

3

  1. Connect a fuel pressure gauge to the fuel rail fitting.
  2. Turn off the ignition for 10 seconds. Make sure the A/C is off.
  3. Turn ON the ignition.
  4. The fuel pump should run for 2 seconds.
  5. The ignition may have to be cycled ON more than once in order to obtain maximum pressure.
  6. Monitor the fuel pressure with the fuel pump running. The fuel pressure should be between the specified value.
  7. When the fuel pump stops, the fuel pressure may vary slightly, then should hold steady.

Is pressure between the specified value and does it hold?

Central SFI - 415-455 kPa (60-66 psi)

SFI - 385-430 kPa (56-62 psi)

Go to Step 4

Go to Step 11

4

  1. Start the engine.
  2. Idle the engine at the normal operating temperature.

Does the fuel pressure noted in the above step drop to the specified value?

21-69 kPa (3-10 psi)

Go to Step 5

Go to Step 11

5

Perform the Injector Balance Test. Refer to Fuel Injector Balance Test .

Was an injector problem found?

--

Go to Step 9

Go to Step 6

6

Perform the Canister Purge Solenoid Check. Refer to Evaporative Emission Control System Diagnosis .

Was a problem found?

--

Go to Step 7

Go to Diagnostic Aids

7

  1. Repair the EVAP system. Refer to
  2. Connect the scan tool.
  3. Operate the vehicle in a Closed Loop while monitoring L.T. and S.T. fuel trim values.

Does the L.T. fuel trim decrease below the specified value and the S.T. fuel trim decrease below the second specified value?

158 counts

180 counts

Go to Step 10

Go to Diagnostic Aids

8

  1. Repair the items found in Step 2.
  2. Operate the vehicle in a Closed Loop while monitoring L.T. and S.T. fuel trim values.

Does the L.T. fuel trim decrease below the specified value and the S.T. fuel trim decrease below the second specified value?

158 counts

180 counts

Go to Step 10

Go to Step 3

9

  1. Replace the fuel injector. Refer to Fuel Injector Replacement (Central SFI) for the 5.0L, 5.7L. Refer to Fuel Injector Replacement for the 7.4L.
  2. Operate the vehicle in a Closed Loop while monitoring L.T. and S.T. fuel trim values.

Does the L.T. fuel trim decrease below the specified value and the S.T. fuel trim decrease below the second specified value?

158 counts

180 counts

Go to Step 10

Go to Step 6

10

The lean condition is not present. If a driveability symptom still exists, refer to the Driveability Symptoms.

--

Go to Step 12

--

11

Refer to Fuel System Diagnosis .

Is the action complete?

--

Go to Step 12

--

12

  1. Using the scan tool, select DTC, Clear Info.
  2. Start the engine and idle at the normal operating temperature.
  3. Select DTC, Specific.

  4. Enter the DTC number which was set.
  5. Operate vehicle within the conditions for setting this DTC as specified in the supporting text.

Does scan tool indicate that this diagnostic ran and passed?

--

Go to Step 14

Go to Step 2

14

Using the scan tool, select Capture Info and Review Info.

Are any DTCs displayed that have not been diagnosed?

--

Go to The Applicable DTC Table

System OK