GM Service Manual Online
For 1990-2009 cars only

DTC P0758 2-3 (B) Shift Solenoid Electrical 5.7L and 7.4L Gas

Table 1: Shift Solenoid State and Gear Ratio Table

Object Number: 40800  Size: MF
Automatic Transmission Components 5.7L and 7.4L Gas
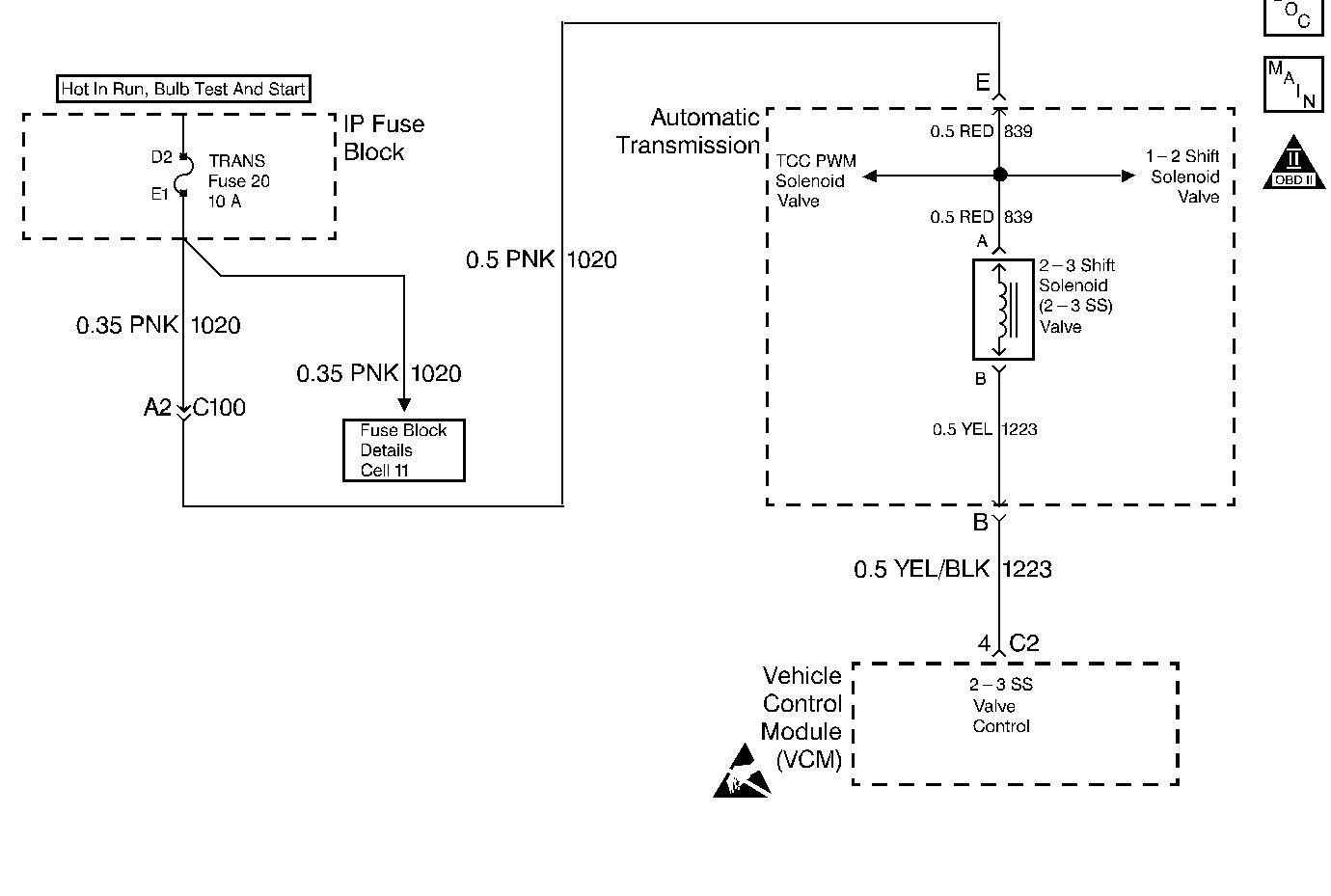
Automatic Transmission Controls Schematics 5.7L and 7.4L
OBD II Symbol Description Notice
Handling ESD Sensitive Parts Notice

Circuit Description

The 2-3 Shift Solenoid Valve (2-3 SS Valve) controls fluid acting on the 2-3 shift valve. The solenoid is a normally-open exhaust valve used with the 1-2 Shift Solenoid Valve in order to allow four different shifting combinations. The 2-3 SS Valve attaches to the control valve body within the transmission. The ignition voltage goes directly to the 2-3 SS Valve. The VCM controls the 2-3 SS Valve by providing the ground path through circuit 1223.

When the VCM detects a continuous open or short in the 2-3 SS valve circuit or the 2-3 SS Valve, then DTC P0758 sets. DTC P0758 is a type D DTC. For California emissions vehicles, DTC P0758 is a type A DTC.

Conditions for Setting the DTC

    • No system voltage DTC P0560.
    • The ignition is ON.
    • The VCM commands the 2-3 SS Valve On, and the voltage remains high ( B+ ).
    • The VCM commands the 2-3 SS Valve Off, and the voltage remains low ( 0 volts).
    • All conditions are met for 5 seconds.

Action Taken When the DTC Sets

    • The VCM commands an immediate landing to second gear.
    • The VCM commands maximum line pressure.
    • The VCM freezes shift adapts form being updated.
    • The VCM illuminates the Malfunction Indicator Lamp (MIL) for California emission vehicles.

Conditions for Clearing the DTC

    • For California emissions vehicles, the VCM turns OFF the MIL after three consecutive ignition cycles without a failure reported.
    • A scan tool can clear the DTC from the VCM history. The VCM clears the DTC from the VCM history if the vehicle completes 40 warm-up cycles without a failure reported.
    • The VCM cancels the DTC default actions when the fault no longer exists and the ignition is OFF long enough in order to power down the VCM.

Diagnostic Aids

    • Inspect the wiring for poor electrical connections at the VCM. Inspect the wiring for poor electrical connections at the transmission 20-way connector. Look for the following conditions:
       - A bent terminal
       - A backed out terminal
       - A damaged terminal
       - Poor terminal tension
       - A chafed wire
       - A broken wire inside the insulation
    • When diagnosing for an intermittent short or open condition, massage the wiring harness while watching the test equipment for a change.
    • First diagnose and clear any engine DTCs or TP Sensor codes that are present. Then inspect for any transmission DTCs that may have reset.

Shift Solenoid State and Gear Ratio Table

Gear

1-2 SS Valve

2-3 SS Valve

Gear Ratio

1

ON

OFF

2.48:1

2

OFF

OFF

1.48:1

3

OFF

ON

1.00:1

4

ON

ON

0.75:1

Test Description

The numbers below refer to the step numbers on the diagnostic table.

  1. This step tests the function of the 2-3 SS Valve and the transmission internal wiring harness.

  2. This step tests the power to the 2-3 SS Valve from the ignition through the fuse.

  3. This step tests circuit 1223 from the transmission 20-way connector to the VCM for an open.

  4. This step tests circuit 1223 from the transmission 20-way connector to the VCM for a short to ground.

Step

Action

Value(s)

Yes

No

1

Was the Powertrain On-Board Diagnostic (OBD) System Check performed?

--

Go to Step 2

Go to Powertrain On Board Diagnostic (OBD) System Check

2

  1. Install the scan tool (tech 1) ®.
  2. With the engine OFF, turn the ignition switch to the RUN position.
  3. Important: Before clearing the DTCs, use the scan tool in order to record the Freeze Frame and Failure Records for reference. The Clear Info function will erase the data.

  4. Record the DTC Freeze Frame and Failure Records.

Are DTCs P0753, P0758, and P1860 set?

--

Go to Step 3

Go to Step 4

3

  1. Inspect the Trans. fuse.
  2. If the fuse is open, inspect circuit 1020 for a short to ground.
  3. Refer to Electrical Diagnosis, Section 8.

  4. Repair the circuit if necessary.

Did you find and correct a problem?

--

Go to Step 19

--

4

Command the 2-3 SS Valve On and Off three times while listening to the bottom of the transmission pan. Use a stethoscope if necessary.

Does the solenoid click when commanded?

--

Go to Diagnostic Aids

Go to Step 5

5

  1. Turn the ignition Off.
  2. Disconnect the transmission 20-way connector (additional DTCs will set).
  3. Install the J 39775 Jumper Harness on the engine harness connector.
  4. With the engine off turn the ignition to the RUN position.
  5. Connect a test lamp from the J 39775 Jumper Harness cavity E to ground.

Is the test lamp on?

--

Go to Step 7

Go to Step 6

6

Repair the open or short to ground in the ignition feed circuit to the 2-3 SS Valve.

Refer to Electrical Diagnosis, Section 8.

Did you find and correct a problem?

--

Go to Step 19

--

7

  1. Turn the ignition switch Off.
  2. Disconnect the C2 (red) VCM connector.
  3. Measure the resistance between C2-J4 and terminal A of the J 39775 Jumper Harness.

Is the measured resistance greater than the specified value?

5ohms

Go to Step 9

Go to Step 8

8

Measure the resistance between C2-J4 and a known good ground.

Is the measured resistance less than the specified value?

1000ohms

Go to Step 10

Go to Step 12

9

  1. Inspect circuit 1223 for an open.
  2. Repair the circuit if necessary.

Refer to Electrical Diagnosis, Section 8.

Did you find a problem?

--

Go to Step 19

Go to Step 11

10

  1. Inspect circuit 1223 for a short to ground.
  2. Repair the circuit if necessary.

Refer to Electrical Diagnosis, Section 8.

Did you find and correct a problem?

--

Go to Step 19

Go to Step 11

11

Replace the VCM.

Refer to VCM Replacement/Programming , Section 6.

Is the replacement complete?

--

Go to Step 19

--

12

  1. Turn the ignition OFF.
  2. Install the J 39775 Jumper Harness on the transmission 20-way connector.
  3. Automatic Transmission Connector End View

  4. Measure the resistance between terminals B and E.

Is the resistance within the specified values?

20-40ohms at 20°C (68°F)

Go to Step 14

Go to Step 13

13

  1. Disconnect the internal wiring harness from the 2-3 SS Valve.
  2. Measure the resistance of the 2-3 SS Valve.

Is the resistance within the specified value?

20-40ohms at 20°C (68°F)

Go to Step 15

Go to Step 18

14

Measure the resistance between terminals B and E and ground.

Are both readings greater than the specified value?

250kohms

Go to Diagnostic Aids

Go to Step 16

15

  1. Inspect the internal wiring harness for an open circuit.
  2. Repair the harness if necessary.

Refer to Electrical Diagnosis, Section 8.

Did you find and correct a problem?

--

Go to Step 19

--

16

  1. Disconnect the internal wiring harness from the 2-3 SS Valve.
  2. Measure the resistance from the component's terminals to ground.

Are both readings greater than the value shown?

250kohms

Go to Step 17

Go to Step 18

17

  1. Inspect the internal wiring harness for a short to ground.
  2. Repair the harness if necessary.

Refer to Electrical Diagnosis, Section 8.

Did you find a problem and correct it?

--

Go to Step 19

--

18

Replace the 2-3 SS Valve.

Refer to 2-3 Shift Solenoid Valve Replacement, in On-Vehicle Service.

Is the replacement complete?

--

Go to Step 19

--

19

In order to verify your repair, perform the following procedure:

  1. Select DTC.
  2. Select Clear Info.
  3. Operate the vehicle under the following conditions:
  4. • The 2-3 SS Valve is commanded On and the volts drop to zero.
    • The 2-3 SS Valve is commanded Off and the volts increase to B+.
    • All conditions are met for 5 seconds.
  5. Select Specific DTC. Enter DTC P0758.

Has the test run and passed?

System OK

Begin the diagnosis again. Go to Step 1

DTC P0758 2-3 (B) Shift Solenoid Electrical 6.5L Diesel

Table 1: Shift Solenoid State and Gear Ratio Table
Table 2: DTC P0758 2-3 Shift Solenoid Circuit Electrical (6.5L Diesel)

Object Number: 40789  Size: MF
Automatic Transmission Components 6.5L Diesel
Automatic Transmission Controls Schematics 6.5L
OBD II Symbol Description Notice
Handling ESD Sensitive Parts Notice

Circuit Description

The 2-3 Shift Solenoid Valve controls fluid acting on the 2-3 shift valves. The 2-3 SS Valve is a normally-open exhaust valve used with the 1-2 Shift Solenoid Valve in order to allow four different shifting combinations. The 2-3 SS Valve attaches to the control valve body within the transmission. The ignition voltage goes directly to the 2-3 SS Valve. The PCM controls the 2-3 SS Valve by providing the ground path through circuit 1223.

When the PCM detects a continuous open or short to ground in the 2-3 SS valve circuit or the 2-3 SS Valve, then DTC P0758 sets. DTC P0758 is a type A DTC.

Conditions for Setting the DTC

    • The ignition is ON.
    • No system voltage DTC P0560.
    • The PCM commands the 2-3 SS Valve On, and the voltage remains high ( B+ ).
    • The PCM commands the 2-3 SS Valve Off, and the voltage remains low ( 0 volts).
    • A fault is detected for 5 seconds.

Action Taken When the DTC Sets

    • The PCM commands an immediate landing to second gear.
    • The PCM commands maximum line pressure.
    • The PCM freezes shift adapts from being updated.
    • The PCM inhibits TCC engagement.
    • The PCM illuminates the Malfunction Indicator Lamp (MIL).

Conditions for Clearing the MIL/DTC

    • The PCM turns OFF the MIL after three consecutive ignition cycles without a failure reported.
    • A scan tool can clear the DTC from the PCM history. The PCM clears the DTC from the PCM history if the vehicle completes 40 warm-up cycles without a failure reported.
    • The PCM cancels the DTC default actions when the fault no longer exists and the ignition is OFF long enough in order to power down the PCM.

Diagnostic Aids

    • Inspect the wiring for poor electrical connections at the PCM. Inspect the wiring for poor electrical connections at the transmission 20-way connector. Look for the following conditions:
       - A bent terminal
       - A backed out terminal
       - A damaged terminal
       - Poor terminal tension
       - A chafed wire
       - A broken wire inside the insulation
    • When diagnosing for an intermittent short or open condition, massage the wiring harness while watching the test equipment for a change.
    • First diagnose and clear any engine DTCs or APP Sensor codes that are present. Then inspect for any transmission DTCs that may have reset.

Shift Solenoid State and Gear Ratio Table

Gear

1-2 SS Valve

2-3 SS Valve

Gear Ratio

1

ON

OFF

2.48:1

2

OFF

OFF

1.48:1

3

OFF

ON

1.00:1

4

ON

ON

0.75:1

Test Description

The numbers below refer to the step numbers on the diagnostic table.

  1. This step tests the function of the 2-3 SS Valve and the transmission internal wiring harness.

  2. This step tests the power to the 2-3 SS Valve from the ignition through the fuse.

  3. This step tests circuit 1223 for an open.

  4. This step tests circuit 1223 for a short to ground.

DTC P0758 2-3 Shift Solenoid Circuit Electrical (6.5L Diesel)

Step

Action

Value(s)

Yes

No

1

Was the Powertrain On-Board Diagnostic (OBD) System Check performed?

--

Go to Step 2

Go to Powertrain On Board Diagnostic (OBD) System Check

2

  1. Install the scan tool (tech 1) ®.
  2. With the engine OFF, turn the ignition switch to the RUN position.
  3. Important: Before clearing the DTCs, use the scan tool in order to record the Freeze Frame and Failure Records for reference. The Clear Info function will erase the data.

  4. Record the DTC Freeze Frame and Failure Records.

Are DTCs P0753, P0758, and P1860 set?

--

Go to Step 3

Go to Step 4

3

  1. Inspect the Trans. fuse.
  2. If the fuse is open, inspect the following components for a short to ground.
  3. Refer to Electrical Diagnosis, Section 8.

    • Circuit 1020
    • The solenoid
    • The internal wiring harness
  4. Repair the circuit, the solenoid, and the harness if necessary.

Did you find and correct a condition?

--

Go to Step 19

--

4

Command the 2-3 SS Valve On and Off three times while listening to the bottom of the transmission pan. Use a stethoscope if necessary.

Does the solenoid click when commanded?

--

Go to Diagnostic Aids

Go to Step 5

5

  1. Turn the ignition Off.
  2. Disconnect the transmission 20-way connector (additional DTCs will set).
  3. Install the J 39775 Jumper Harness on the engine harness connector.
  4. With the engine off turn the ignition to the RUN position.
  5. Connect a test lamp from the J 39775 Jumper Harness cavity E to ground.

Is the test lamp on?

--

Go to Step 7

Go to Step 6

6

Repair the open or short to ground in the ignition feed circuit to the 2-3 SS Valve.

Refer to Electrical Diagnosis, Section 8.

Did you find and correct a condition?

--

Go to Step 19

--

7

  1. Turn the ignition switch Off.
  2. Disconnect the C3 (Blue) PCM connector.
  3. Measure the resistance between C3-C6 and terminal B of the J 39775 Jumper Harness.

Is the measured resistance greater than the specified value?

5 ohms

Go to Step 9

Go to Step 8

8

Measure the resistance between C3-C6 and a known good ground.

Is the measured resistance less than the specified value?

1000 ohms

Go to Step 10

Go to Step 12

9

  1. Inspect circuit 1223 for an open or poor PCM connection.
  2. Repair the circuit if necessary.

Refer to Electrical Diagnosis, Section 8.

Did you find a condition?

--

Go to Step 19

Go to Step 11

10

  1. Inspect circuit 1223 for a short to ground.
  2. Repair the circuit if necessary.

Refer to Electrical Diagnosis, Section 8.

Did you find and correct a condition?

--

Go to Step 19

Go to Step 11

11

Replace the PCM.

Refer to Powertrain Control Module Replacement/Programming , Section 6.

Is the replacement complete?

--

Go to Step 19

--

12

  1. Turn the ignition OFF.
  2. Install the J 39775 Jumper Harness on the transmission 20-way connector.
  3. Automatic Transmission Connector End View

  4. With the J 39200 DVOM and the J 35616-A Connector Test Adapter Kit, Measure the resistance between terminals B and E.

Is the resistance within the specified values?

20-40 ohms at 20°C (68°F)

Go to Step 14

Go to Step 13

13

  1. Disconnect the internal wiring harness from the 2-3 SS Valve.
  2. Measure the resistance of the 2-3 SS Valve

Is the resistance within the specified value?

20-40 ohms at 20°C (68°F)

Go to Step 15

Go to Step 18

14

Measure the resistance between terminals B and E and ground. Use the J 39200 DVOM.

Are both readings greater than the specified value?

250 K ohms

Go to Diagnostic Aids

Go to Step 16

15

  1. Inspect the internal wiring harness for an open circuit.
  2. Repair the harness if necessary.

Refer to Electrical Diagnosis, Section 8.

Did you find and correct a condition?

--

Go to Step 19

--

16

  1. Disconnect the internal wiring harness from the 2-3 SS Valve.
  2. Measure the resistance from the component's terminals to ground. Use the J 39200 DVOM.

Are both readings greater than the value shown?

250 K ohms

Go to Step 17

Go to Step 18

17

  1. Inspect the internal wiring harness for a short to ground.
  2. Repair the harness if necessary.

Refer to Electrical Diagnosis, Section 8.

Did you find a condition and correct it?

--

Go to Step 19

--

18

Replace the 2-3 SS Valve.

Refer to 2-3 Shift Solenoid Valve Replacement, in On-Vehicle Service.

Is the replacement complete?

--

Go to Step 19

--

19

In order to verify your repair, perform the following procedure:

  1. Select DTC.
  2. Select Clear Info.
  3. Operate the vehicle under the following conditions:
  4. • The 2-3 SS Valve is commanded On and the volts drop to zero.
    • The 2-3 SS Valve is commanded Off and the volts increase to B+.
    • All conditions are met for 5 seconds.
  5. Select Specific DTC. Enter DTC P0758.

Has the test run and passed?

--

System OK

Begin diagnostic again. Go to Step 1