GM Service Manual Online
For 1990-2009 cars only

Removal Procedure


    Object Number: 277261  Size: SH

    Caution: Unless directed otherwise, the ignition and start switch must be in the OFF or LOCK position, and all electrical loads must be OFF before servicing any electrical component. Disconnect the negative battery cable to prevent an electrical spark should a tool or equipment come in contact with an exposed electrical terminal. Failure to follow these precautions may result in personal injury and/or damage to the vehicle or its components.

  1. Disconnect the negative battery cable.
  2. Remove the knee bolster. Refer to Knee Bolster Replacement in IP, Gauges and Console.

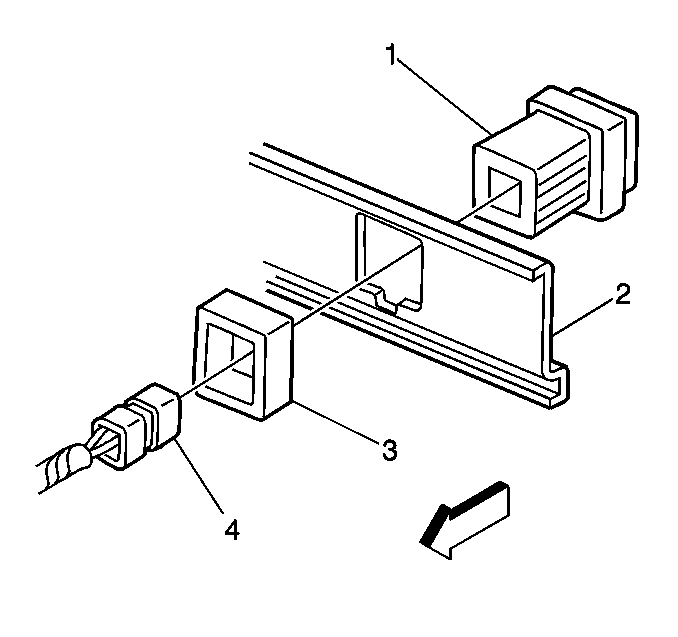
  3. Object Number: 277262  Size: SH
  4. Disconnect the electrical connector (4).
  5. Remove the retainer (3) from the rear of the faceplate.
  6. Remove the switch from the faceplate.

Installation Procedure


    Object Number: 277262  Size: SH
  1. Install the switch to the faceplate.
  2. Install the retainer (3).
  3. 2.1. Align the indexing tab on the nut to the tab on the switch (1).
    2.2. Slide the nut to the faceplate until the nut snaps into position.
  4. Connect the electrical connector (4).

  5. Object Number: 277261  Size: SH
  6. Install the knee bolster. Refer to Knee Bolster Replacement in IP, Gauges and Console.
  7. Connect the negative battery cable.