GM Service Manual Online
For 1990-2009 cars only
Makes
🢒
Chevrolet
🢒
1999
🢒
Tahoe - 2WD
🢒
Body and Accessories
🢒
Body Control System
🢒 Cellular Communication Component Views
Figure
1:
Vehicle Communication Unit (VIU) & Vehicle Interface Unit (VIU)
(1)
IP Dash, Passenger Side
(2)
Crossbody Harness
(3)
Vehicle Interface Unit (VIU)
(4)
C250
(5)
C251
(6)
C252
(7)
GPS Antenna Cable
(8)
Vehicle Communications Unit (VCU)
Figure
2:
Cellular Phone Wiring
(1)
Cellular Phone Connector
(2)
Cellular Phone
(3)
Heated Seat Switch, RR
(4)
Heated Seat Switch, LR
(5)
Modem/Fax Line
(6)
Celluluar Phone Connection
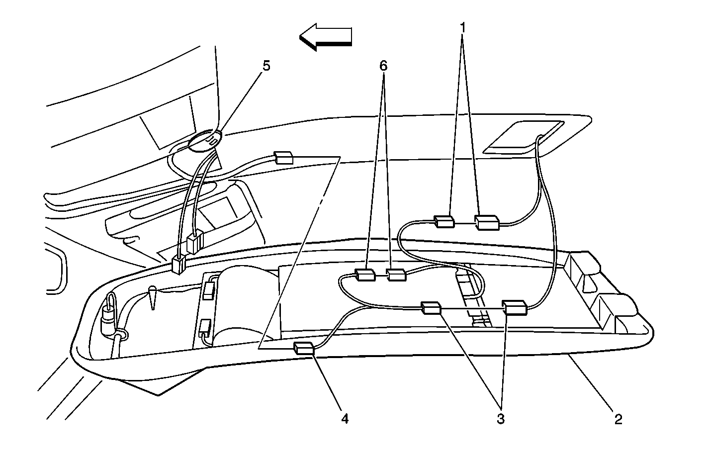
Figure
3:
Overhead Console Wiring, Escalade
(1)
C315
(2)
Overhead Console
(3)
C306
(4)
Microphone Connector
(5)
Microphone
(6)
Keypad Connector