GM Service Manual Online
For 1990-2009 cars only

Removal Procedure

  1. Drain the cooling system. Refer to Cooling System Draining and Filling in Engine Cooling.

  2. Object Number: 612571  Size: SH
  3. Remove the auxiliary heater pipes (1,2) from the heater inlet and outlet tees (3,4).
  4. Loosen the right front wheelhouse to gain access to the clamp behind the wheelhouse. Refer to Wheelhouse Panel Replacement in Body Front End.
  5. Raise the vehicle. Refer to Lifting and Jacking the Vehicle in General Information.

  6. Object Number: 612548  Size: SH
  7. Remove the auxiliary heater pipes (2,3) from the auxiliary heater core.

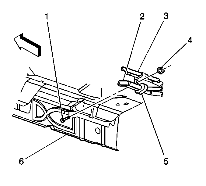
  8. Object Number: 691870  Size: SH
  9. Remove the heater/A/C tubes retaining nut (4) from the stud (1) at the frame (6).
  10. Remove the auxiliary heater pipes (2) from the clamps (5).
  11. Remove the auxiliary heater pipes from the vehicle.

Installation Procedure

  1. Install the auxiliary heater pipes to the vehicle.

  2. Object Number: 691870  Size: SH
  3. Install the auxiliary heater pipes (2) to the clamps (5).
  4. Notice: Use the correct fastener in the correct location. Replacement fasteners must be the correct part number for that application. Fasteners requiring replacement or fasteners requiring the use of thread locking compound or sealant are identified in the service procedure. Do not use paints, lubricants, or corrosion inhibitors on fasteners or fastener joint surfaces unless specified. These coatings affect fastener torque and joint clamping force and may damage the fastener. Use the correct tightening sequence and specifications when installing fasteners in order to avoid damage to parts and systems.

  5. Install the heater/A/C tubes retaining nut (4) to the stud (1) at the frame (6).
  6. Tighten
    Tighten the heater/A/C tubes retaining nut to 7 N·m (62 lb in).


    Object Number: 612548  Size: SH
  7. Install the auxiliary heater pipes (2,3) to the auxiliary heater core.
  8. Lower the vehicle. Refer to Lifting and Jacking the Vehicle in General Information.
  9. Install the right front wheelhouse. Refer to Wheelhouse Panel Replacement in Body Front End.

  10. Object Number: 612571  Size: SH
  11. Install the auxiliary heater pipes (1,2) to the heater inlet and outlet tees (3,4).
  12. Fill the cooling system. Refer to Cooling System Draining and Filling .