GM Service Manual Online
For 1990-2009 cars only

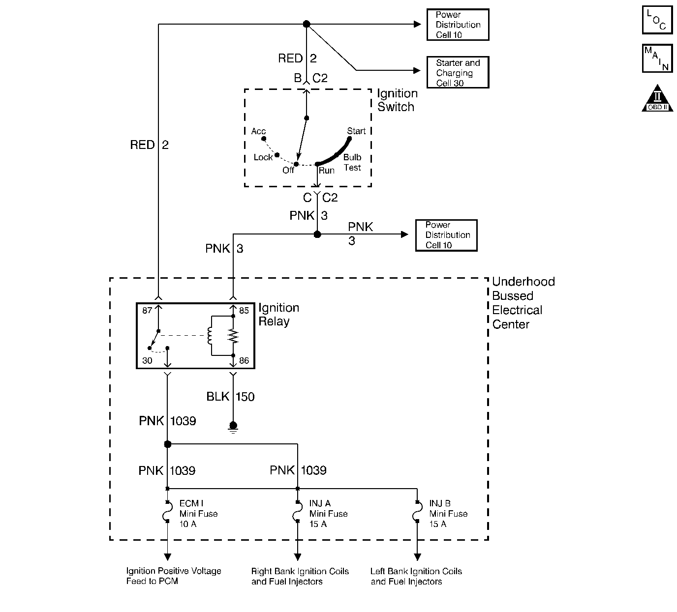
Object Number: 337600  Size: LF
Engine Controls Components
ECM B, ECM 1, IGN 1, IGN 0 Fuses G103, IPC, PCM
OBD II Symbol Description Notice

Circuit Description

The ignition relay supplies ignition voltage to the following components:

    • Injectors and ignition coils
    • AIR relay

Diagnostic Aids

The following may cause an intermittent:

    • Poor connections -- Check for adequate terminal tension. Refer to Testing for Intermittent Conditions and Poor Connections in Wiring Systems.
    • Corrosion
    • Mis-routed harness
    • Rubbed through wire insulation
    • Broken wire inside the insulation

Test Description

The numbers below refer to the step numbers on the diagnostic table.

  1. Refer to Thumbnail Schematic for proper relay terminal identification.

  2. This step is testing the relay ground circuit.

  3. This step isolates the circuit from the IGN relay. All of the circuits at the relay are good if the test lamp illuminates.

  4. The open circuit will be between the splice and the IGN relay.

  5. Remove the underhood electrical center cover and inspect the circuits that are supplied a voltage by the IGN relay.

Step

Action

Value(s)

Yes

No

1

Did you perform the Powertrain On-Board Diagnostic (OBD) System Check?

--

Go to Step 2

Go to Powertrain On Board Diagnostic (OBD) System Check

2

  1. Turn OFF the ignition.
  2. Remove the underhood electrical center cover.
  3. Remove the IGN relay.
  4. Probe the IGN relay battery positive voltage circuit at the underhood electrical center terminal with the J 35616-200 test lamp connected to a ground. Refer to Probing Electrical Connectors in Wiring Systems.

Does the test lamp illuminate?

--

Go to Step 3

Go to Step 8

3

  1. Turn ON the ignition, with the engine OFF.
  2. Probe the IGN relay ignition positive voltage circuit at the underhood electrical center with the J 35616-200 test lamp connected to a ground.

Does the test lamp illuminate?

--

Go to Step 4

Go to Step 9

4

  1. Turn OFF the ignition.
  2. Measure the resistance of the IGN relay ground circuit at the underhood electrical center terminal using the DMM connected to the battery ground.

Is the resistance less than the specified value?

0-5 ohms

Go to Step 5

Go to Step 10

5

  1. Turn OFF the ignition.
  2. Jumper the IGN relay battery positive voltage circuit and the IGN relay load circuit together using a fused jumper wire. Refer to Using Fused Jumper Wires in Wiring Systems.
  3. Probe the fuses for the following components with the J 35616-200 test lamp connected to a ground.
  4. • ENG I
    • INJR A
    • INJR B

Does the test lamp illuminate?

--

Go to Step 6

Go to Step 10

6

Inspect for poor terminal contact at the IGN relay underhood electrical center connector. Refer to Testing for Intermittent Conditions and Poor Connections in Wiring Systems.

Did you find and correct the condition?

--

System OK

Go to Step 7

7

Replace the IGN relay.

Is the action complete?

--

System OK

--

8

Repair the open or short to ground in the battery positive voltage supply to the IGN relay. Refer to Wiring Repairs in Wiring Systems.

Is the action complete?

--

System OK

--

9

Repair the ignition positve voltage circuit to the IGN relay. Refer to Wiring Repairs in Wiring Systems.

Is the action complete?

--

System OK

--

10

Replace the underhood electrical center. Refer to Underhood Fuse Block Replacement in Engine Electrical.

Is the action complete?

--

System OK

--