GM Service Manual Online
For 1990-2009 cars only
Makes
🢒
Chevrolet
🢒
2000
🢒
Tahoe - 2WD
🢒
Body and Accessories
🢒
Seats
🢒 Lumbar Support Schematics
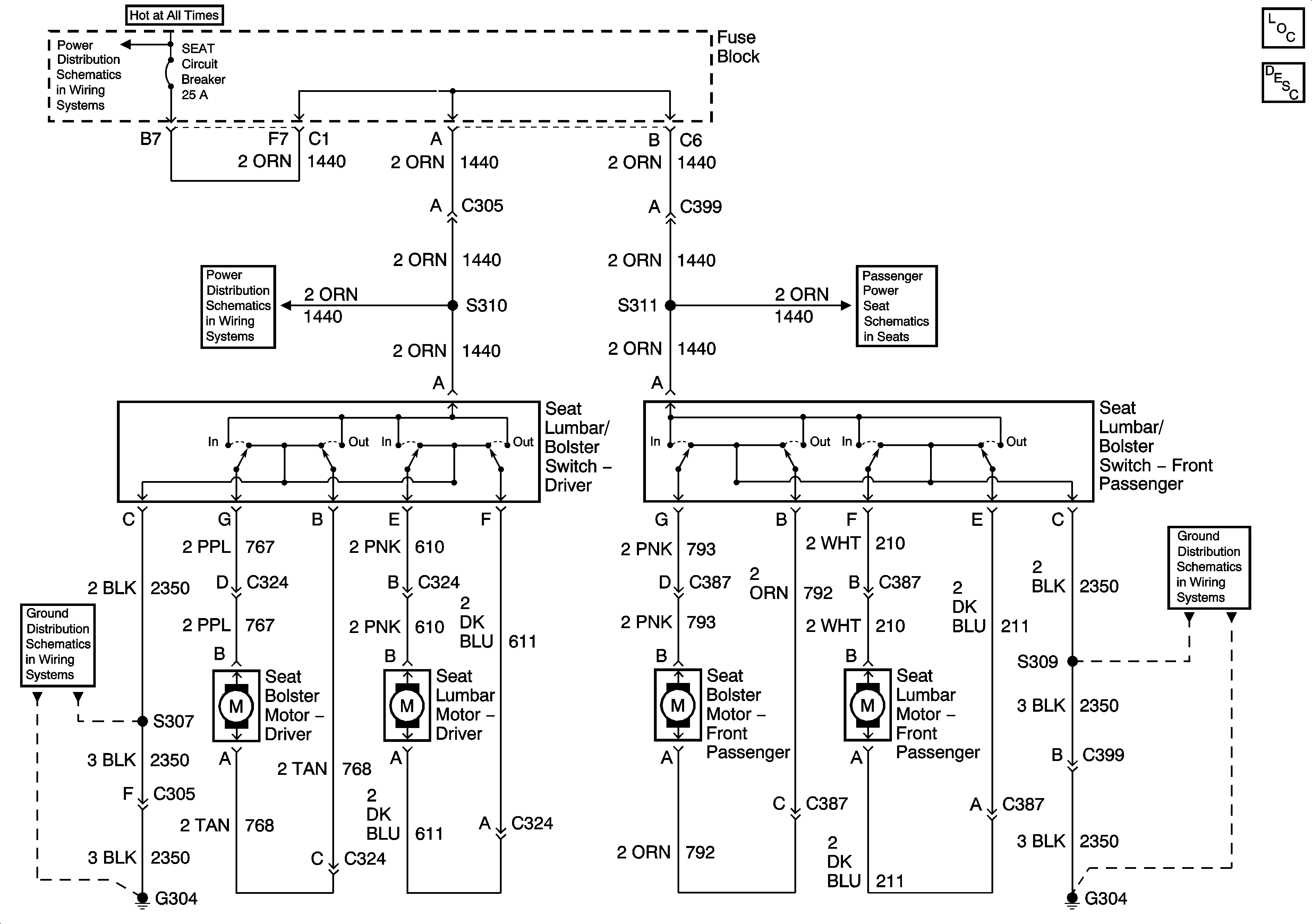
Lumbar Support Schematics Pickup
Power Seat Systems Components
Power Lumbar Circuit Description
BCM, AIR Pump Relay, Power Door Lock
Power Seat Switch, Memory Seat Switch
G302, G304, Full Feature Seat
G302, G304, Full Feature Seat
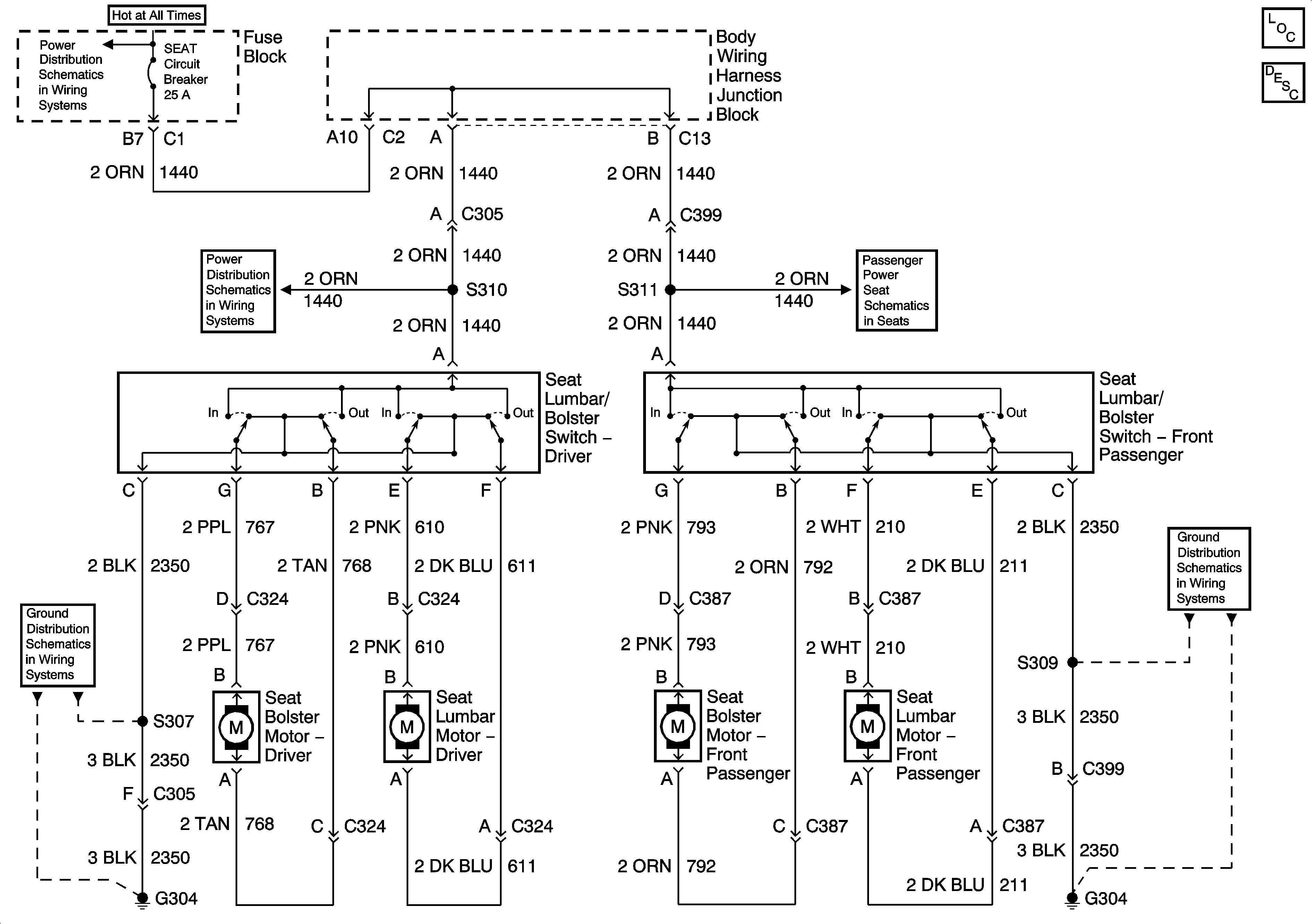
Lumbar Support Schematics Utilities
Power Seat Systems Components
Power Lumbar Circuit Description
BCM, AIR Pump Relay, Power Door Lock
Power Seat Switch, Memory Seat Switch
G302, G304, Full Feature Seat
G302, G304, Full Feature Seat