GM Service Manual Online
For 1990-2009 cars only

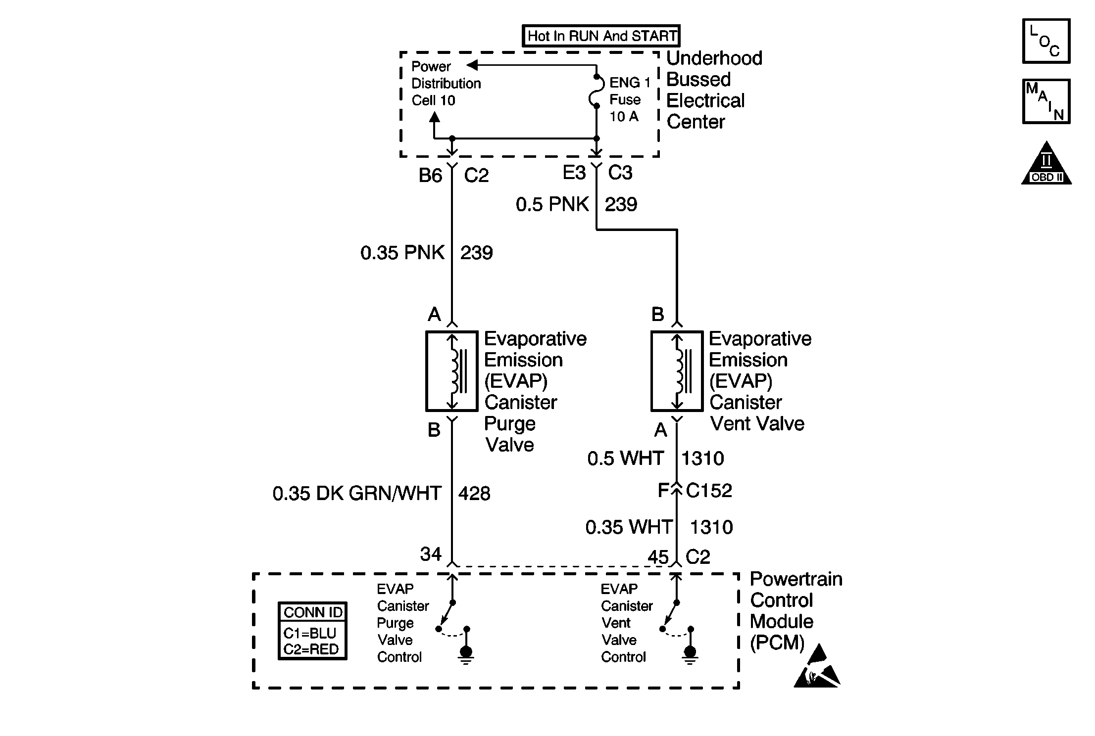
Object Number: 597756  Size: MF
Engine Controls Components
EGR Valve, ENG 1 Fuse, EVAP Purge Valve, Vent Solenoid
OBD II Symbol Description Notice
Handling ESD Sensitive Parts Notice

Circuit Description

The powertrain control module (PCM) monitors the amount of vacuum pressure in the evaporative emissions (EVAP) system by monitoring the fuel tank pressure sensor signal. The PCM seals the EVAP system by commanding the EVAP purge solenoid OFF and the EVAP vent valve ON. The PCM monitors the fuel tank pressure sensor in order to determine if the EVAP purge solenoid is leaking vacuum to the EVAP system. This DTC sets if the vacuum in the EVAP system is more than a predetermined value within a predetermined time.

Conditions for Running the DTC

    •  DTCs P0107, P0108, P0112, P0113, P0121, P0122, P0123, P0131-P0161, P0420, P0430, P0500, P0502, P0503, P0562, P0563, P1111, P1112, P1114, P1115, are not set.
    • No active manifold absolute pressure (MAP) DTCs
    • No active intake air temperature (IAT) DTCs
    • No active throttle position (TP) DTCs
    • No active heated oxygen sensor (HO2S) DTCs
    • No active vehicle speed sensor (VSS) DTCs
    • No active system voltage DTCs
    • The ignition voltage is between 10 volts and 18 volts.
    • The barometric pressure is more than 75 kPa.
    • The fuel level is between 15 percent and 85 percent of full capacity.
    • The engine coolant temperature is between 4°C (39°F) and 30°C (86°F).
    • The intake air temperature is between 4°C(39°F) and 30°C(86°F).
    • The start up engine coolant and intake air temperatures are within 8°C (14°F) of each other.
    • The TP angle is between 0 percent and 99.6 percent.

Conditions for Setting the DTC

The EVAP system develops a vacuum more than a predetermined value when purge is not commanded.

Action Taken When the DTC Sets

    • The PCM illuminates the malfunction indicator lamp (MIL) on the second consecutive ignition cycle that the diagnostic runs and fails.
    • The PCM records the operating conditions at the time the diagnostic fails. The first time the diagnostic fails, the PCM stores this information in the Failure Records. If the diagnostic reports a failure on the second consecutive ignition cycle, the PCM records the operating conditions at the time of the failure. The PCM writes the conditions to the Freeze Frame and updates the Failure Records.

Conditions for Clearing the MIL/DTC

    • The PCM turns OFF the malfunction indicator lamp (MIL) after 3 consecutive ignition cycles that the diagnostic runs and does not fail.
    • A last test failed, or current DTC, clears when the diagnostic runs and does not fail.
    • A history DTC clears after 40 consecutive warm-up cycles, if no failures are reported by this or any other emission related diagnostic.
    • Use a scan tool in order to clear the MIL and the DTC.

Diagnostic Aids

Important: Remove any debris from the PCM connector surfaces before servicing the PCM. Inspect the PCM connector gaskets when diagnosing/replacing the PCM. Ensure that the gaskets are installed correctly. The gaskets prevent water intrusion into the PCM.

Before replacing any components, visually and physically check for the following:

    • Mis-routed harness
    • Rubbed through wire insulation
    • Broken wire inside the insulation
    • Kinked or damaged vacuum hoses
    • Physically damaged system components
    • Inspect components and vacuum lines for traces of carbon or other contaminants. The presence of foreign material may be causing a restriction in the system or preventing the solenoid valve from closing properly. Either condition may cause a DTC to set.

For an intermittent condition, refer to Symptoms .

Test Description

The numbers below refer to the step numbers on the Diagnostic Table.

  1. This step checks for a EVAP Purge Solenoid Valve that is leaking vacuum to the EVAP system when EVAP system purge is not commanded by the PCM.

    Check for possible carbon contamination of the EVAP Purge Solenoid Valve and the purge line.

Step

Action

Value(s)

Yes

No

1

Did you perform the Powertrain On-Board Diagnostic (OBD) System Check?

--

Go to Step 2

Go to Powertrain On Board Diagnostic (OBD) System Check

2

  1. Install a scan tool.
  2. Disconnect the EVAP purge line from the EVAP purge solenoid valve.
  3. Connect a vacuum gauge (in. Hg) to the solenoid purge port.
  4. Idle the engine.
  5. Command the EVAP purge solenoid valve OFF with a scan tool.

Does the vacuum gauge indicate a vacuum?

--

Go to Step 3

Go to Diagnostic Aids

3

Turn OFF the ignition.

Important: Check for carbon contamination. Refer to Evaporative Emission System Cleaning .

Replace the EVAP purge solenoid valve. Refer to Evaporative Emission Canister Purge Solenoid Valve Replacement .

Is the action complete?

--

Go to Step 4

--

4

  1. Select the Diagnostic Trouble Code (DTC) option and the Clear DTC Information option using the scan tool.
  2. Idle the engine at the normal operating temperature.
  3. Select the Diagnostic Trouble Code (DTC) option and the Specific DTC option, then enter the DTC number using the scan tool.
  4. Operate the vehicle within the Conditions for Running the DTC as specified in the supporting text, if applicable.

Does the scan tool indicate that this test ran and passed?

--

Go to Step 5

Go to Step 2

5

Select the Capture Info option and the Review Info option using the scan tool.

Does the scan tool display any DTCs that you have not diagnosed?

--

Go to the applicable DTC table

System OK