GM Service Manual Online
For 1990-2009 cars only

Object Number: 597750  Size: MF
Engine Controls Components
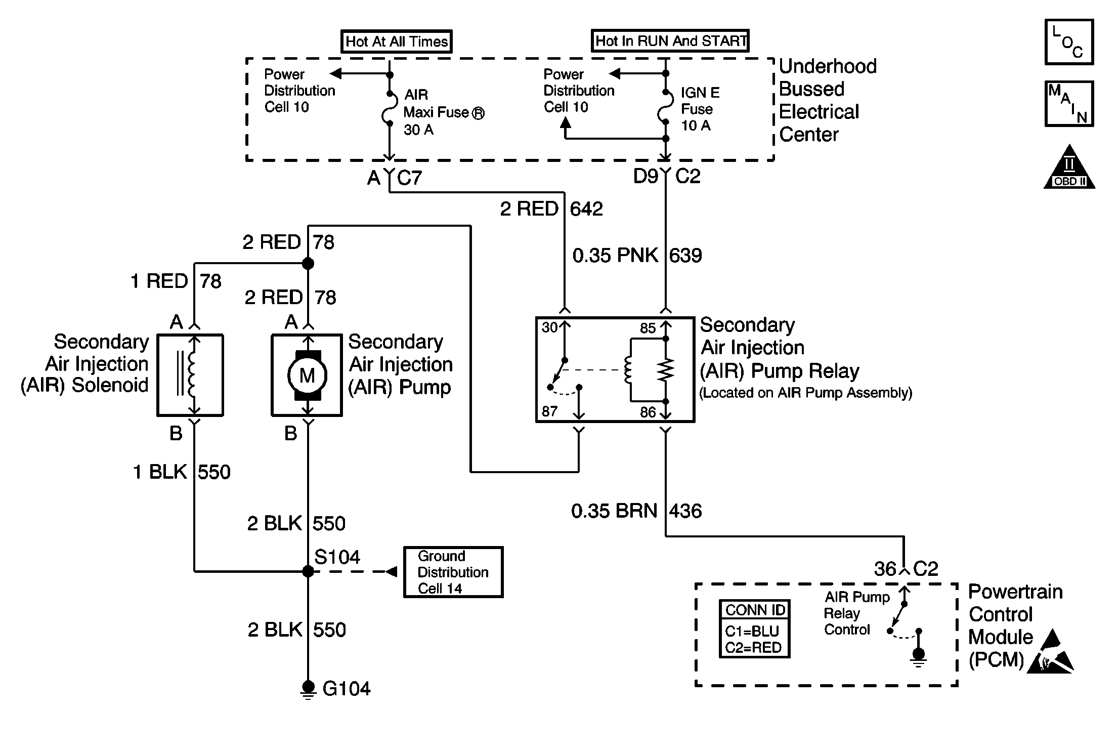
AIR Fuse, AIR Pump, AIR Relay, AIR Valve
OBD II Symbol Description Notice
Handling ESD Sensitive Parts Notice

Circuit Description

An secondary air injection (AIR) pump is used on this vehicle to lower tail pipe emissions on start-up. The powertrain control module (PCM) supplies a ground to the AIR pump relay, which energizes the AIR pump and the AIR solenoid valve. Engine vacuum is applied to the AIR Shut-off valve when the AIR solenoid is energized. The engine vacuum opens the AIR shut-off valve which allows air to flow to the exhaust manifolds.

The PCM monitors the heated oxygen sensor (HO2S) voltages to diagnose the AIR system.

During the AIR test, the PCM activates the AIR pump during Closed Loop operation. When the AIR system is activated, the PCM monitors the HO2S voltages and short term fuel trim values for both banks of the engine. If the AIR system is operating properly, the HO2S voltages should go low and the short term fuel trim should go high.

If the PCM determines that the HO2S voltages for both banks did not respond as expected during the tests, DTC P0410 sets. If only one sensor responded, the PCM sets either a DTC P1415 or P1416 to indicate on which bank the AIR system is inoperative.

Conditions for Running the DTC

    • No active mass air flow (MAF) DTCs
    • No active manifold absolute pressure (MAP) DTCs
    • No active intake air temperature (IAT) DTCs
    • No active engine coolant temperatute (ECT) DTCs
    • No active throttle position (TP) DTCs
    • No active HO2S DTCs
    • No active fuel trim DTCs
    • No active injector DTCs
    • No active misfire DTCs
    • No active crankshaft position (CKP) sensor DTCs
    • No active ignition control DTCs
    • No active idla air control (IAC) DTCs
    • No active engine protection DTCs
    • The engine run time is more than 2 seconds.
    • The engine load is less than 43 percent.
    • The engine air flow is less than 22 g/s.
    • Engine speed is more than 900 RPM.
    • The ignition voltage is more than 11.4 volts.
    • The air fuel ratio is 14.7:1.
    • The ECT is -10°C (14°F) or more, but less than 110°C (230°F).
    • The IAT is more than -10°C (14°F).
    • The fuel system is not operating in power enrichment or deceleration fuel cut-off.
    • The short term fuel trim is in cells 5 or 6.

Conditions for Setting the DTC

    • The HO2S voltage does not go below 222 mV for 1.2 seconds or more.
    • Short term fuel trim does not go above a predetermined amount.

Action Taken When the DTC Sets

    • The PCM illuminates the malfunction indicator lamp (MIL) on the second consecutive ignition cycle that the diagnostic runs and fails.
    • The PCM records the operating conditions at the time the diagnostic fails. The first time the diagnostic fails, the PCM stores this information in the Failure Records. If the diagnostic reports a failure on the second consecutive ignition cycle, the PCM records the operating conditions at the time of the failure. The PCM writes the conditions to the Freeze Frame and updates the Failure Records.

Conditions for Clearing the MIL/DTC

    • The PCM turns OFF the malfunction indicator lamp (MIL) after 3 consecutive ignition cycles that the diagnostic runs and does not fail.
    • A last test failed, or current DTC, clears when the diagnostic runs and does not fail.
    • A history DTC clears after 40 consecutive warm-up cycles, if no failures are reported by this or any other emission related diagnostic.
    • Use a scan tool in order to clear the MIL and the DTC.

Diagnostic Aids

Important: Remove any debris from the PCM connector surfaces before servicing the PCM. Inspect the PCM connector gaskets when diagnosing or replacing the PCM. Ensure that the gaskets are installed correctly. The gaskets prevent water intrusion into the PCM.

    • Casting flash in the exhaust manifold may restrict the amount of air flow necessary to affect the HO2S voltage. If this is suspected, remove the air pipe from the manifold and inspect the passage.
    • Using the Freeze Frame and Failure Records data may aid in locating an intermittent condition. If you cannot duplicate the DTC, the information included in the Freeze Frame and Failure Records data can help determine how many miles since the DTC set. The Fail Counter and Pass Counter can also help determine how many ignition cycles the diagnostic reported a pass and/or a fail. Operate the vehicle within the same Freeze Frame conditions such as RPM, load, vehicle speed, temperature etc. that you observed. This will isolate when the DTC failed.
    • For an intermittent condition, refer to Symptoms .

Test Description

The number below refers to the step number on the diagnostic table.

  1. A check valve that flows in both directions causes heat damage to the AIR system components.

Step

Action

Value(s)

Yes

No

1

Did you perform the Powertrain On-Board Diagnostic (OBD) System Check?

--

Go to Step 2

Go to Powertrain On Board Diagnostic (OBD) System Check

2

Important: Before proceeding with this diagnostic table, ensure that the AIR pump is operating and that air is present at the outlet of the AIR shut-off valve. If the AIR pump is inoperative and no air is present at the outlet of the AIR shut off valve, refer to DTC P0410 Secondary Air Injection (AIR) System for further diagnosis.

  1. Install scan tool.
  2. The engine is idling in Closed Loop.
  3. Turn OFF all accessories.
  4. Monitor the bank 2 sensor 1 right front HO2S voltage display on the Engine 1 Data List using a scan tool.
  5. Enable the AIR pump using a scan tool.
  6. Observe and record the Bank 2 Sensor 1 (Right Front) HO2S voltage, as the AIR pump is enabled.

Does the HO2S voltage drop below the specified value?

350 mV

Go to Diagnostic Aids

Go to Step 3

3

Visually and physically inspect all hoses and pipes for:

    • Being connected
    • Clamps are secure on pipes and hoses
    • No kinks, holes, or pinched hoses and pipes
    • Components with evidence of heat damage

Are all of the above OK?

--

Go to Step 4

Go to Step 6

4

  1. Disconnect the hose from the check valve at the right exhaust manifold.
  2. Enable the AIR pump using a scan tool.

Is air present at the hose outlet?

--

Go to Step 7

Go to Step 5

5

Repair the restriction or the blockage in the AIR hoses/pipes between the right exhaust manifold and the point where the system branches to both sides of the engine.

Is the action complete?

--

Go to Step 8

--

6

Repair the condition found.

Is the action complete?

--

Go to Step 8

--

7

Replace the check valve. Refer to Secondary Air Injection Check Valve and Check Valve Pipe Replacement - Bank 2 .

Is the action complete?

--

Go to Step 8

--

8

  1. Select the Diagnostic Trouble Code (DTC) option and the Clear DTC Information option using the scan tool.
  2. Idle the engine at the normal operating temperature.
  3. Select the Diagnostic Trouble Code (DTC) option and the Specific DTC option, then enter the DTC number using the scan tool.
  4. Operate the vehicle within the Conditions for Running the DTC as specified in the supporting text, if applicable.

Does the scan tool indicate that this test ran and passed?

--

Go to Step 9

Go to Step 2

9

Select the Capture Info option and the Review Info option using the scan tool.

Does the scan tool display any DTCs that you have not diagnosed?

--

Go to the applicable DTC table

System OK