GM Service Manual Online
For 1990-2009 cars only

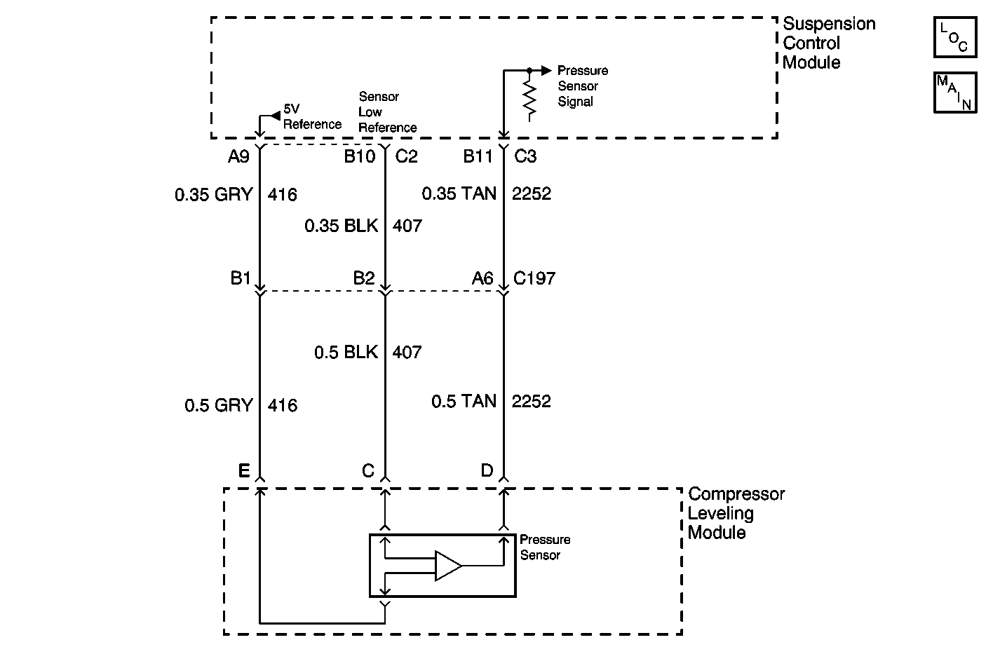
Object Number: 598856  Size: MF
Suspension Controls Components
Fuse Block, Compressor Leveling Module, Suspension COnTrol Module

Circuit Description

The suspension control module supplies 5 volts to the RTD air pressure sensor. The pressure sensor uses this reference voltage to produce an analog output of approx. 0.15 to 4.85 volts. The signal voltage is a reference of the air pressure in the rear leveling system.

Conditions for Running the DTC

Continuously after ignition on.

Conditions for Setting the DTC

The suspension control module detects a signal voltage of below 0.15 volts or above 4.85 volts.

Action Taken When the DTC Sets

    • The system assumes a default pressure.
    • Disables intake sequences.
    • DTC C0711 will be stored in memory.

Conditions for Clearing the MIL/DTC

    • The suspension control module no longer detects the malfunction that caused the DTC to set.
    • A history DTC will clear after 100 consecutive ignition cycles if the condition for the malfunction is no longer present.
    • Using the scan tool.

Diagnostic Aids

If DTC C0870 is present, preform the diagnosis for that DTC first.

The following conditions may cause a malfunction to occur:

    • An open in the 5 volt reference circuit of the RTD air pressure sensor.
    • A short to ground in the 5 volt reference circuit of the RTD air pressure sensor.
    • An open in the signal circuit of the RTD air pressure sensor.
    • A short to ground in the signal circuit of the RTD air pressure sensor.
    • An open in the low reference circuit of the RTD air pressure sensor
    • A malfunction in the RTD air pressure sensor.
    • A leak in the air tube at the RTD air pressure sensor may cause a faulty sensor voltage reading.

Test Description

The number(s) below refer to the step number(s) on the diagnostic table.

  1. Check sensor data parameter

  2. Tests for the proper operation of the circuit in the low voltage range.

  3. Tests for the proper operation of the circuit in the high voltage range. If the fuse in the jumper opens when you perform this test, the signal circuit is shorted to ground.

  4. Tests for a short to voltage in the 5 volt reference circuit.

  5. Tests for a high resistance or an open in the ground circuit.

  6. Check for open or high resistance in the sensor ground circuit.

  7. The replacement control module must be calibrated.

Step

Action

Value(s)

Yes

No

1

Important: If DTC C0870 is present, perform the diagnosis for DTC C0870 first.

Did you perform the RTD Diagnostic System Check?

--

Go to Step 2

Go to Diagnostic System Check

2

  1. Install a scan tool.
  2. Turn ON the ignition, with the engine OFF.
  3. With the scan tool, observe the RTD air pressure sensor data parameter in the suspension Control Module data list.

Does the scan tool indicate that the RTD air pressure sensor parameter is within the specified range?

0.15 - 4.85 V

Go to Diagnostic Aids

Go to Step 3

3

  1. Turn OFF the ignition.
  2. Disconnect the RTD pressure sensor (compressor leveling module connector).
  3. Turn ON the ignition, with the engine OFF.
  4. With a scan tool, observe the RTD air pressure sensor data parameter.

Does the scan tool indicate that the RTD air pressure sensor data parameter is less than the specified value?

0.15 V

Go to Step 4

Go to Step 10

4

  1. Turn OFF the ignition.
  2. Connect a 3 amp fused jumper wire between the 5 volt reference circuit of the pressure sensor and the signal circuit of the pressure sensor.
  3. Turn ON the ignition, with the engine OFF.
  4. With a scan tool, observe the RTD air pressure sensor data parameter.

Does the scan tool indicate that the RTD air pressure sensor data parameter is less than the specified value?

4.8 - 5.2 V

Go to Step 8

Go to Step 5

5

  1. Disconnect the fused jumper wire.
  2. Measure the voltage between the 5 volt reference circuit of the pressure sensor and the low reference circuit of the pressure sensor.

Does the voltage measure less than the specified value?

4.8 V

Go to Step 6

Go to Step 7

6

  1. Turn OFF the ignition.
  2. Measure the resistance from the low reference circuit of the pressure sensor to a good ground.

Does the resistance measure less than the specified value?

5 ohms

Go to Step 12

Go to Step 11

7

Test the 5 volt reference circuit of the pressure sensor for a short to voltage. Refer to Circuit Testing and Wiring Repairs in Wiring Systems.

Did you find and correct the condition?

--

Go to Step 16

Go to Step 13

8

Test the 5 volt reference circuit of the pressure sensor for a short to ground, a high resistance, and a open. Refer to Circuit Testing and Wiring Repairs in Wiring Systems.

Did you find and correct the condition?

--

Go to Step 16

Go to Step 9

9

Test the signal circuit of the pressure sensor for a short to ground, a high resistance, and a open. Refer to Circuit Testing and Wiring Repairs in Wiring Systems.

Did you find and correct the condition?

--

Go to Step 16

Go to Step 13

10

Test the signal circuit of the pressure sensor for a short to voltage. Refer to Circuit Testing and Wiring Repairs in Wiring Systems.

Did you find and correct the condition?

--

Go to Step 16

Go to Step 13

11

  1. Disconnect the suspension control module.
  2. Test the low reference circuit of the pressure sensor for a high resistance, short to voltage and an open. Refer to Circuit Testing and Wiring Repairs in Wiring Systems.

Did you find and correct the condition?

--

Go to Step 16

Go to Step 13

12

Inspect for poor connections at the harness connector of the pressure sensor. Refer to Testing for Intermittent Conditions and Poor Connections and Connector Repairs in Wiring Systems.

Did you find and correct the condition?

--

Go to Step 16

Go to Step 14

13

Inspect for poor connections at the harness connector of the suspension control module. Refer to Testing for Intermittent Conditions and Poor Connections and Connector Repairs in Wiring Systems.

Did you find and correct the condition?

--

Go to Step 16

Go to Step 15

14

Replace the pressure sensor. Refer to Automatic Level Control Air Dryer and Pressure Sensor Replacement .

Did you complete the replacement?

--

Go to Step 16

--

15

Replace the suspension control module. Refer to Electronic Suspension Control Module Replacement .

Did you complete the replacement?

--

Go to Step 16

--

16

  1. Use the scan tool in order to clear the DTCs.
  2. Operate the vehicle within the Conditions for Running the DTC as specified in the supporting text.

Does the DTC reset?

--

Go to Step 2

System OK