GM Service Manual Online
For 1990-2009 cars only
Figure 1:

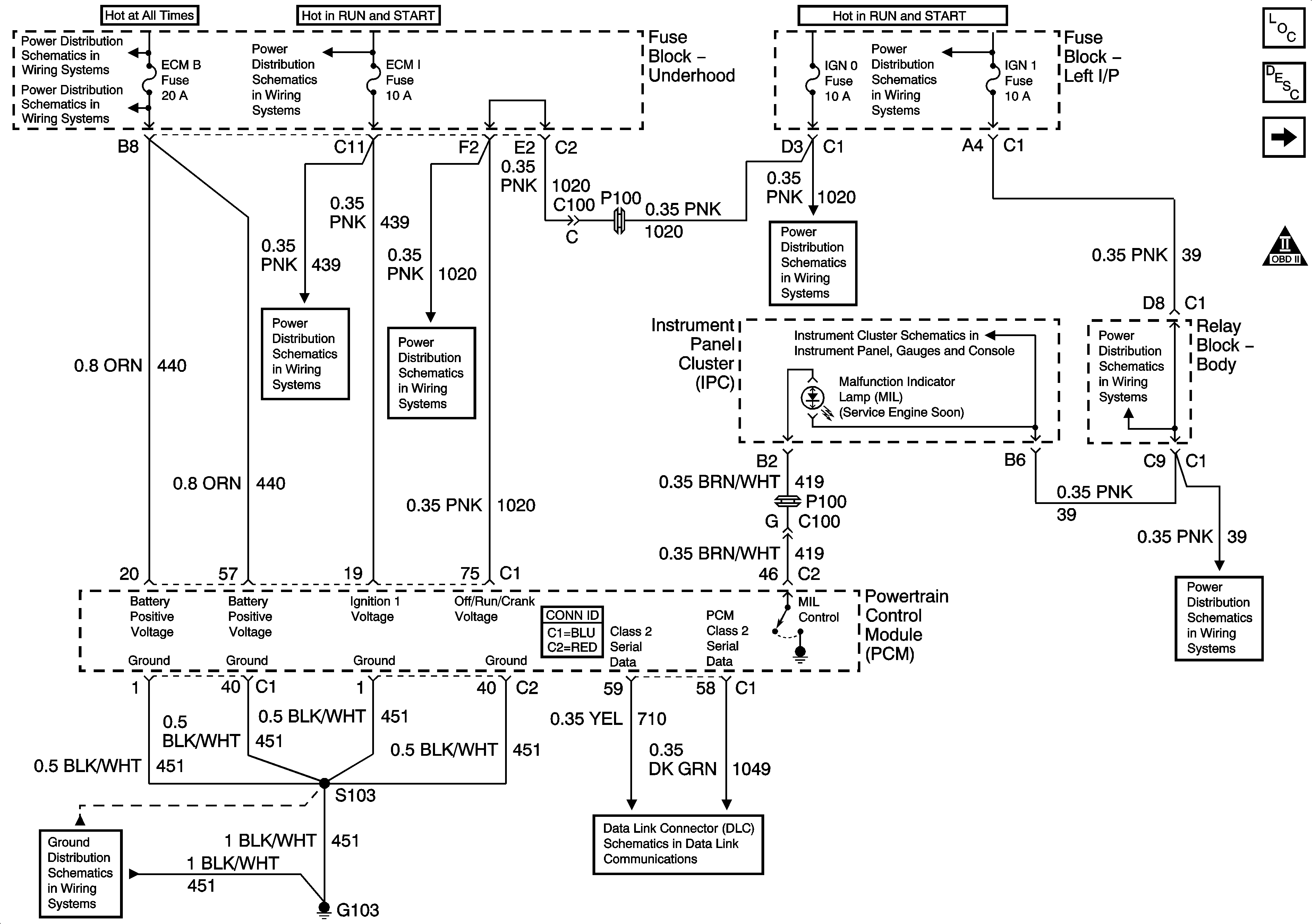
Module Power, Ground, Serial Data, and MIL


Object Number: 744096  Size: FS
Master Electrical Component List
Powertrain Control Module Description
Engine Data Sensors - Pressure and Temperature
OBD II Symbol Description Notice
B+ Bus Bar
AIR, RADIO, ECM B, FRT HVAC, and CIGAR Fuses
ECM 1, ETC, INJ A and INJ B Fuses
RTD, RDO AMP, CRANK, and IGN 0 Fuses
IGN 1, SEO IGN, and AIR BAG Fuses
Indicators and Serial Data
IGNITION, RUN, and START Bus Bar
G103, G105, and G106
ECM 1, ETC, INJ A and INJ B Fuses
Figure 2:

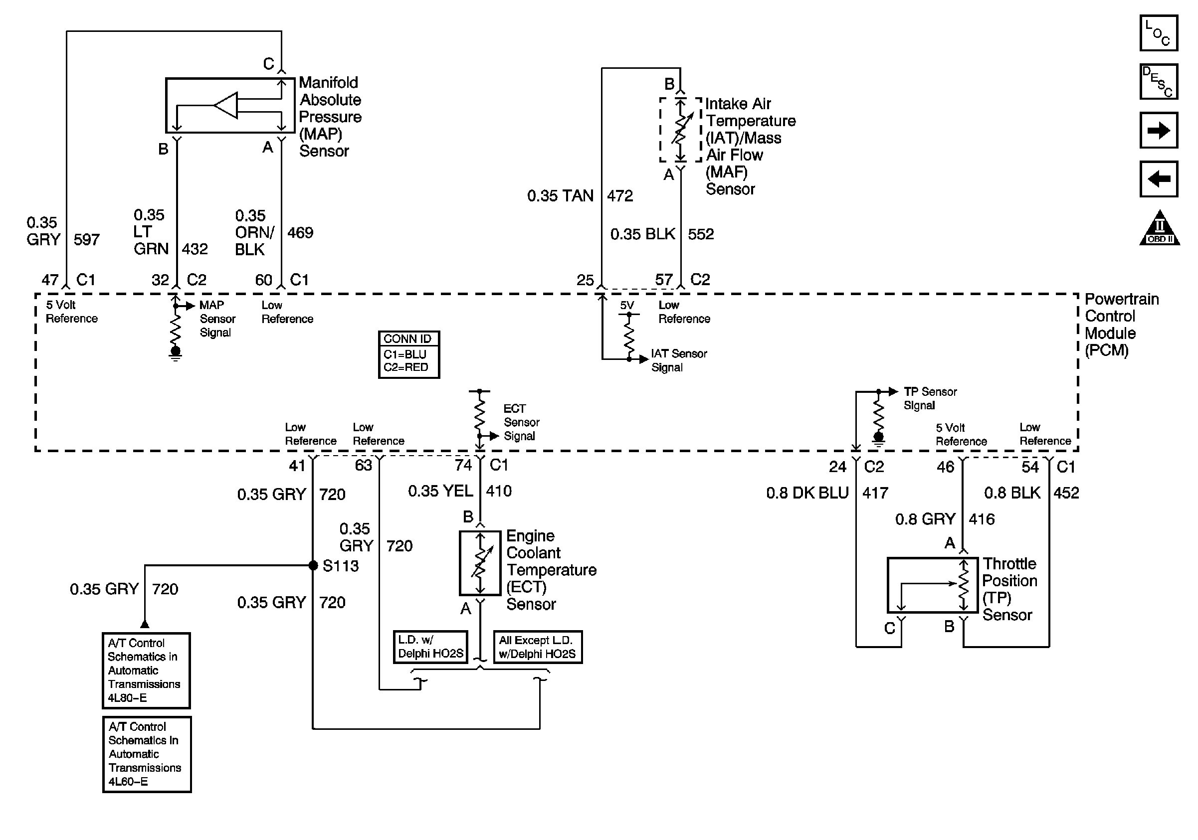
Engine Data Sensors - Pressure and Temperature


Object Number: 744098  Size: FS
Engine Controls Component Views
Powertrain Control Module Description
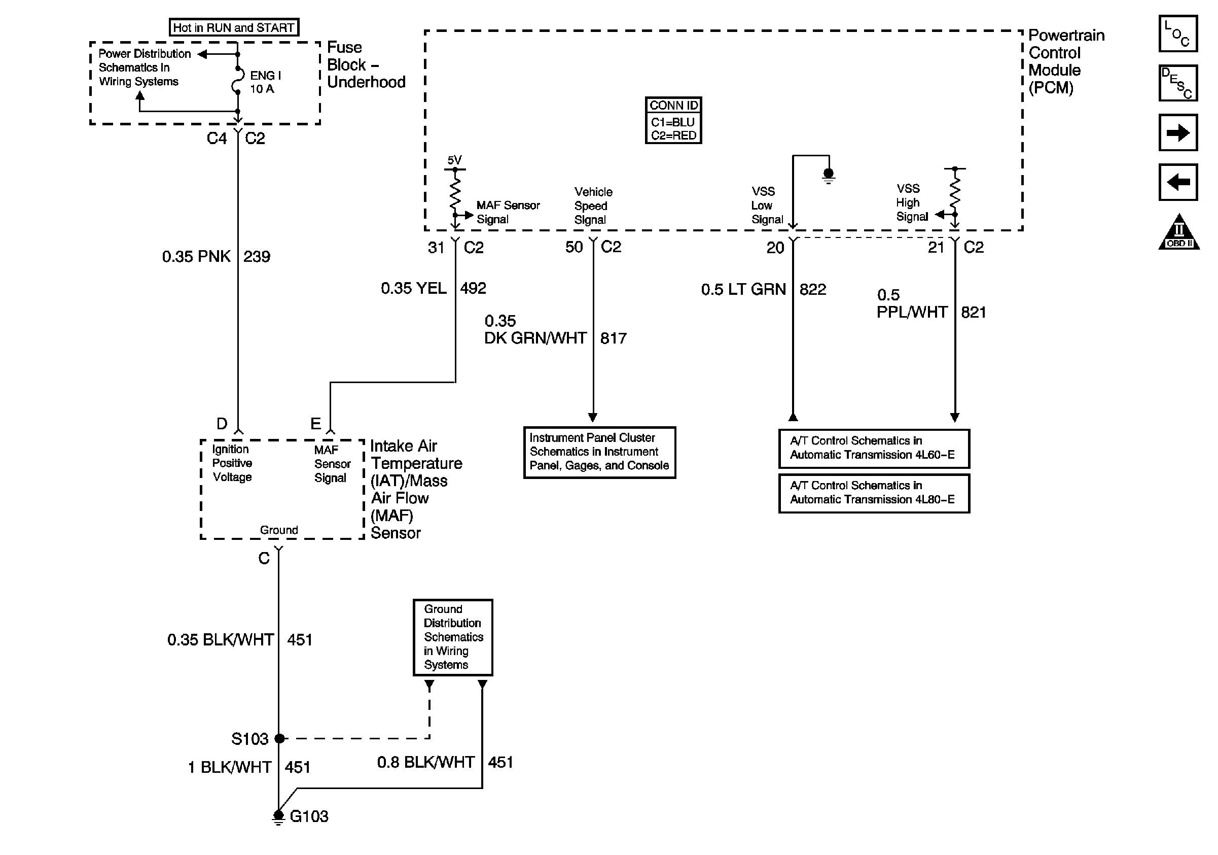
Engine Data Sensors - MAF and VSS
Module Power, Ground, Serial Data and MIL
OBD II Symbol Description Notice
Switch Inputs
Switch Inputs
Figure 3:

Engine Data Sensors - MAF and VSS


Object Number: 744102  Size: FS
Master Electrical Component List
Powertrain Control Module Description
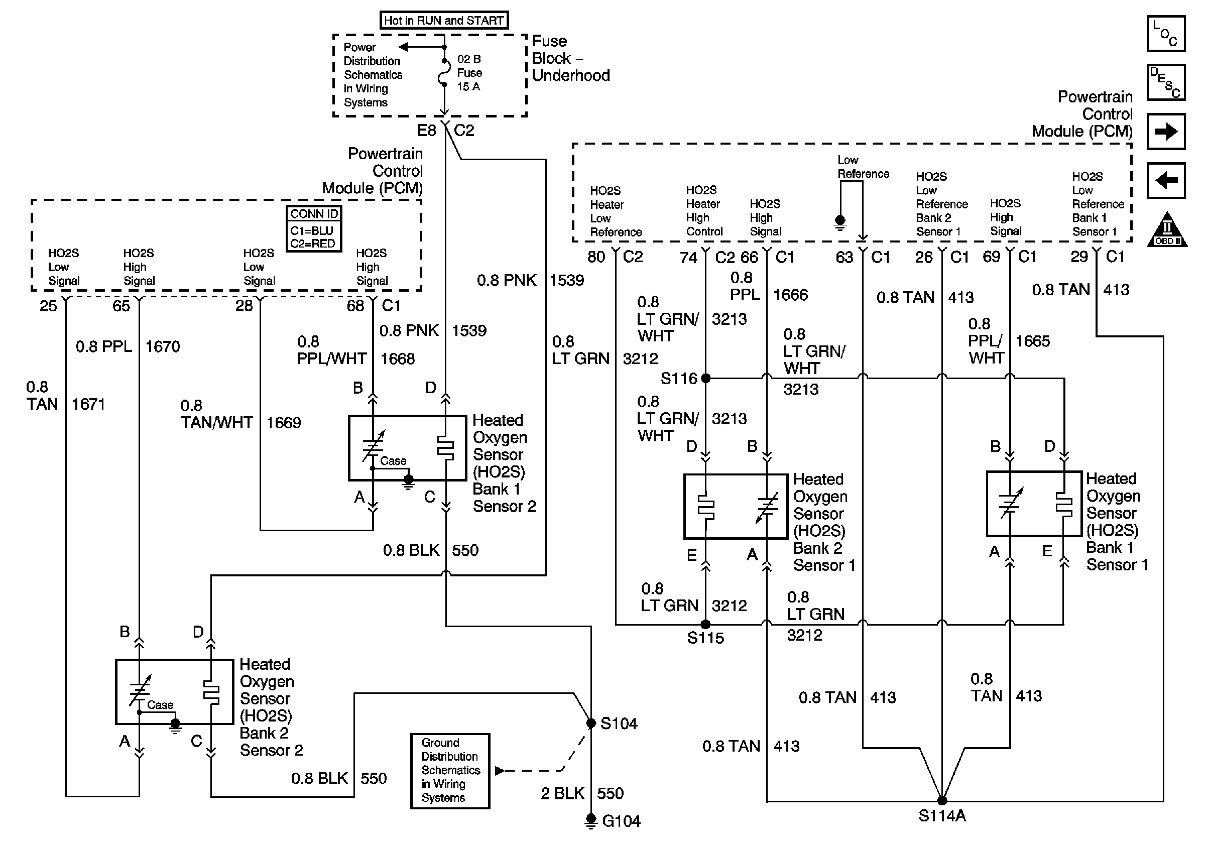
Engine Data Sensors - HO2S 4.8, 5.3L w/Case Grounded Sensors
Engine Data Sensors - Pressure and Temperature
OBD II Symbol Description Notice
Vehicle Speed Signal and 4WD Low Signal
Vehicle Speed Signal and 4WD Low Signal
O2 B, O2 A, ENG 1, and IGN E Fuses
G103, G105, and G106
Figure 4:

Engine Data Sensors - HO2S 4.8, 5.3L w/Case Grounded Sensors


Object Number: 744105  Size: FS
Engine Controls Component Views
Powertrain Control Module Description
Engine Data Sensors - HO2S 4.8, 5.3L w/Isolated Grounded Sensors
Engine Data Sensors - MAF and VSS
OBD II Symbol Description Notice
O2 B, O2 A, ENG 1, and IGN E Fuses
G104
Figure 5:

Engine Data Sensors - HO2S 4.8, 5.3L w/Isolated Grounded Sensors


Object Number: 744107  Size: FS
Master Electrical Component List
Powertrain Control Module Description
Engine Data Sensors - HO2S 6.0L w/Isolated and Case Grounded Sensors
Engine Data Sensors - HO2S 4.8, 5.3L w/Case Grounded Sensors
OBD II Symbol Description Notice
O2 B, O2 A, ENG 1, and IGN E Fuses
O2 B, O2 A, ENG 1, and IGN E Fuses
G104
Figure 6:

Engine Data Sensors - HO2S 6.0L w/Isolated and Case Grounded Sensors


Object Number: 744110  Size: FS
Master Electrical Component List
Powertrain Control Module Description
Engine Data Sensors - HO2S 6.0L w/Isolated Grounded Sensors
Engine Data Sensors - HO2S 4.8, 5.3L w/Isolated Grounded Sensors
OBD II Symbol Description Notice
O2 B, O2 A, ENG 1, and IGN E Fuses
G104
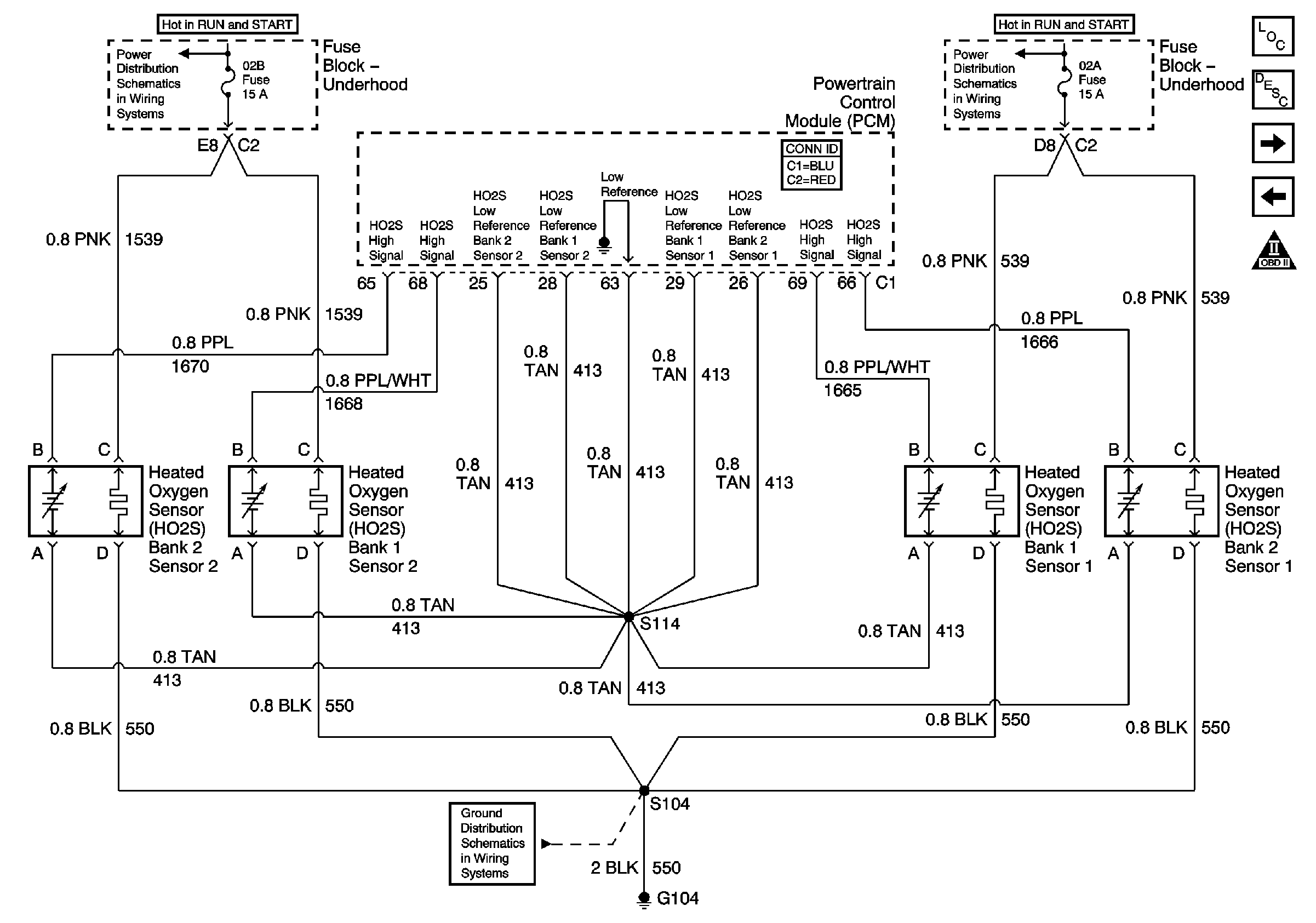
Figure 7:

Engine Data Sensors - HO2S 6.0L w/Isolated Grounded Sensors


Object Number: 744112  Size: FS
Master Electrical Component List
Powertrain Control Module Description
Engine Data Sensors - Electronic Throttle Controls, TAC Motor and TP Sensor
Engine Data Sensors - HO2S 6.0L w/Isolated and Case Grounded Sensors
OBD II Symbol Description Notice
O2 B, O2 A, ENG 1, and IGN E Fuses
G104
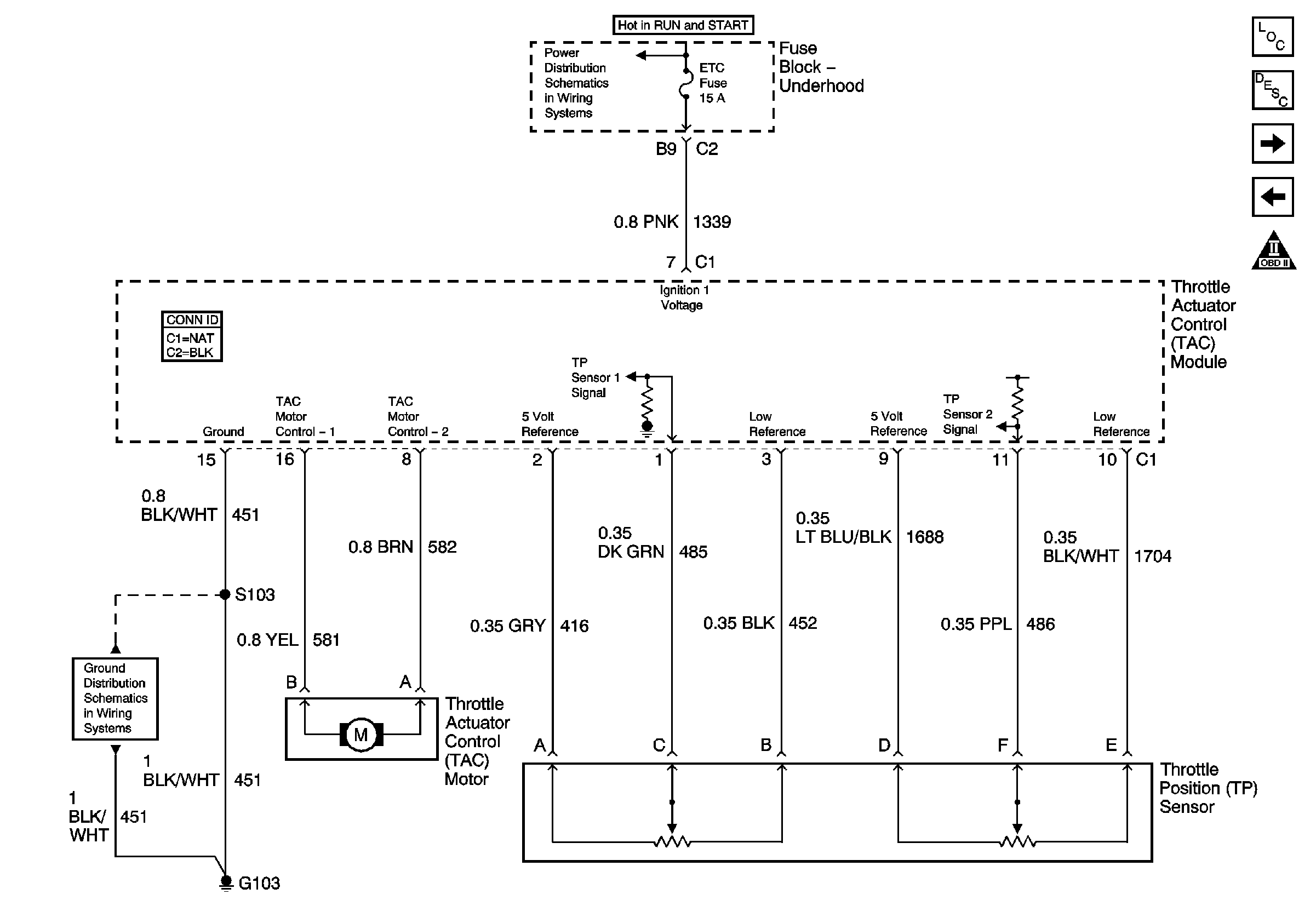
Figure 8:

Engine Data Sensors - Electronic Throttle Controls, TAC Motor and TP Sensor


Object Number: 744114  Size: FS
Master Electrical Component List
Powertrain Control Module Description
Engine Data Sensors - Electronic Throttle Controls, Accelerator Pedal Position Sensor and Cruise Control
Engine Data Sensors - HO2S 6.0L w/Isolated Grounded Sensors
OBD II Symbol Description Notice
ECM 1, ETC, INJ A and INJ B Fuses
G103, G105, and G106
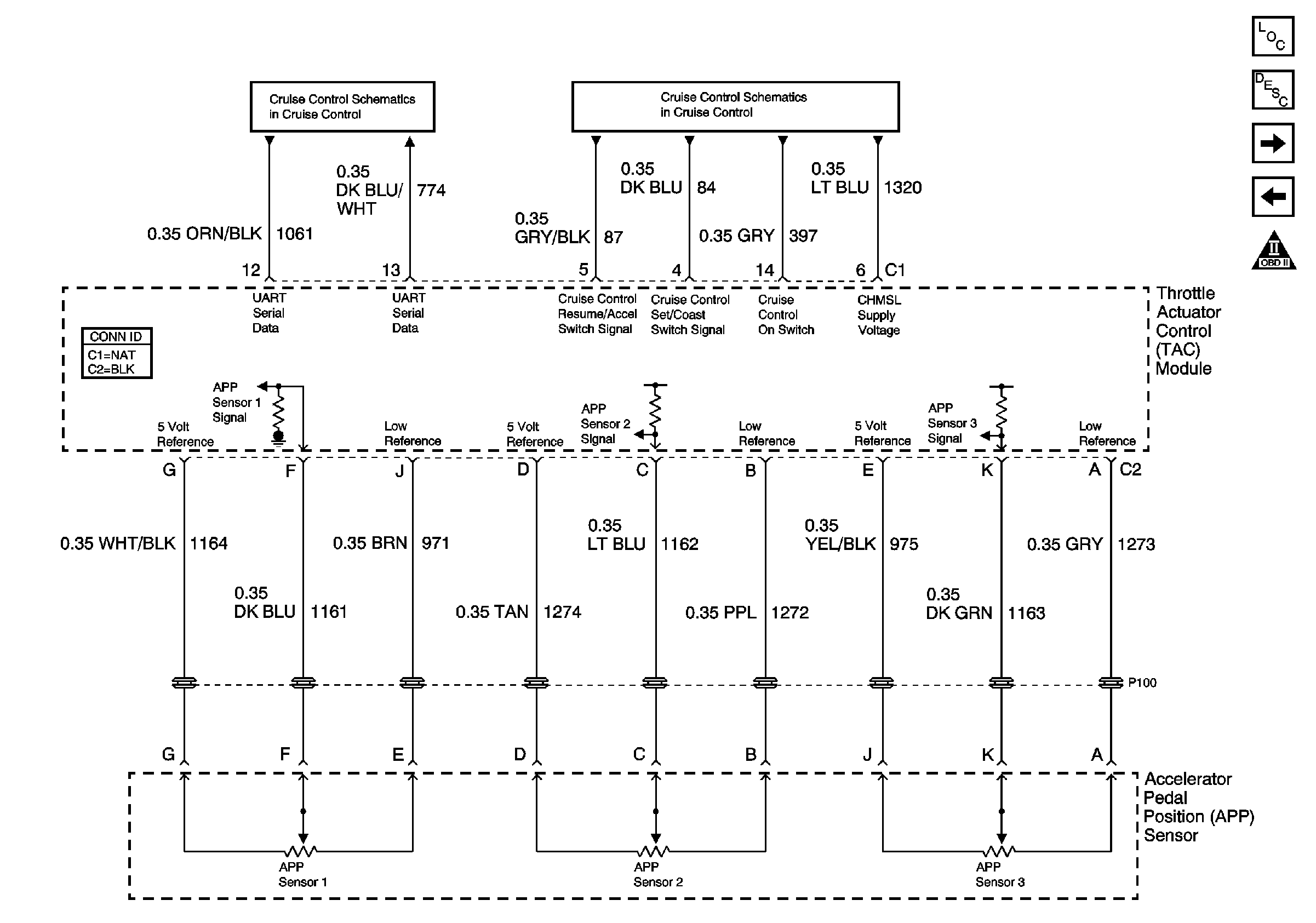
Figure 9:

Engine Data Sensors - Electronic Throttle Controls, Accelerator Pedal Position Sensor and Cruise Control


Object Number: 744115  Size: FS
Master Electrical Component List
Powertrain Control Module Description
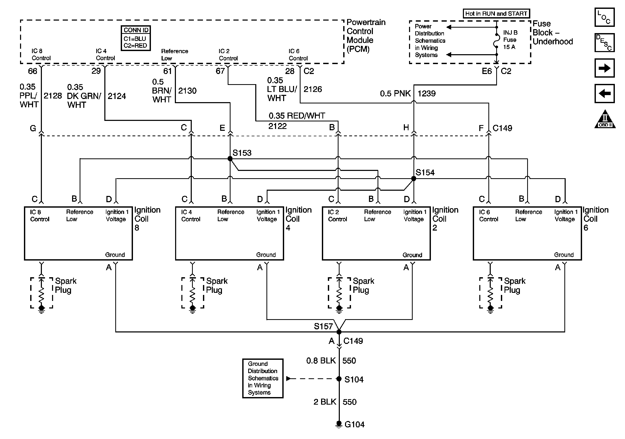
Ignition Controls - Ignition System Coils 2, 4, 6, 8
Engine Data Sensors - Electronic Throttle Controls, TAC Motor and TP Sensor
ETC Fuse, PCM, TAC Module, TAC Module, TP Sensor, and Ground (w/ETC)
Power, Cruise Control On/Off Switch, Stop Lamp Switch Input, TAC Module, APP Sensor (w/ETC)
Figure 10:

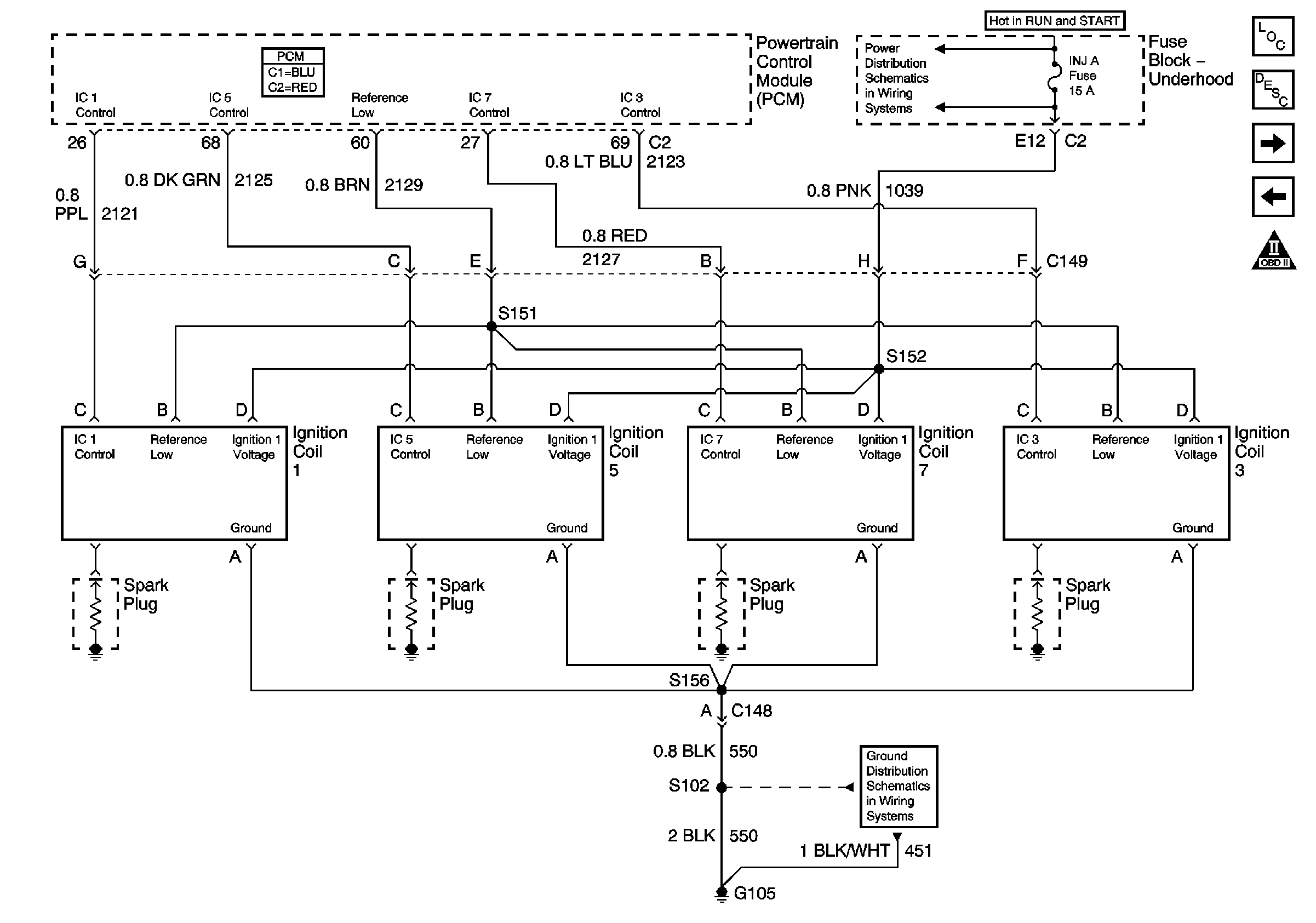
Ignition Controls - Ignition System Coils 2, 4, 6, 8


Object Number: 744118  Size: FS
Master Electrical Component List
Powertrain Control Module Description
Ignition Controls - Ignition System Coils 1, 3, 5, 7
Engine Data Sensors - Electronic Throttle Controls, Accelerator Pedal Position Sensor and Cruise Control
OBD II Symbol Description Notice
ECM 1, ETC, INJ A and INJ B Fuses
G104
Figure 11:

Ignition Controls - Ignition System Coils 1, 3, 5, 7


Object Number: 750639  Size: FS
Master Electrical Component List
Powertrain Control Module Description
Ignition Controls - Sensors
Ignition Controls - Ignition System Coils 2, 4, 6, 8
OBD II Symbol Description Notice
ECM 1, ETC, INJ A and INJ B Fuses
G103, G105, and G106
Figure 12:

Ignition Controls - Sensors


Object Number: 744119  Size: FS
Master Electrical Component List
Powertrain Control Module Description
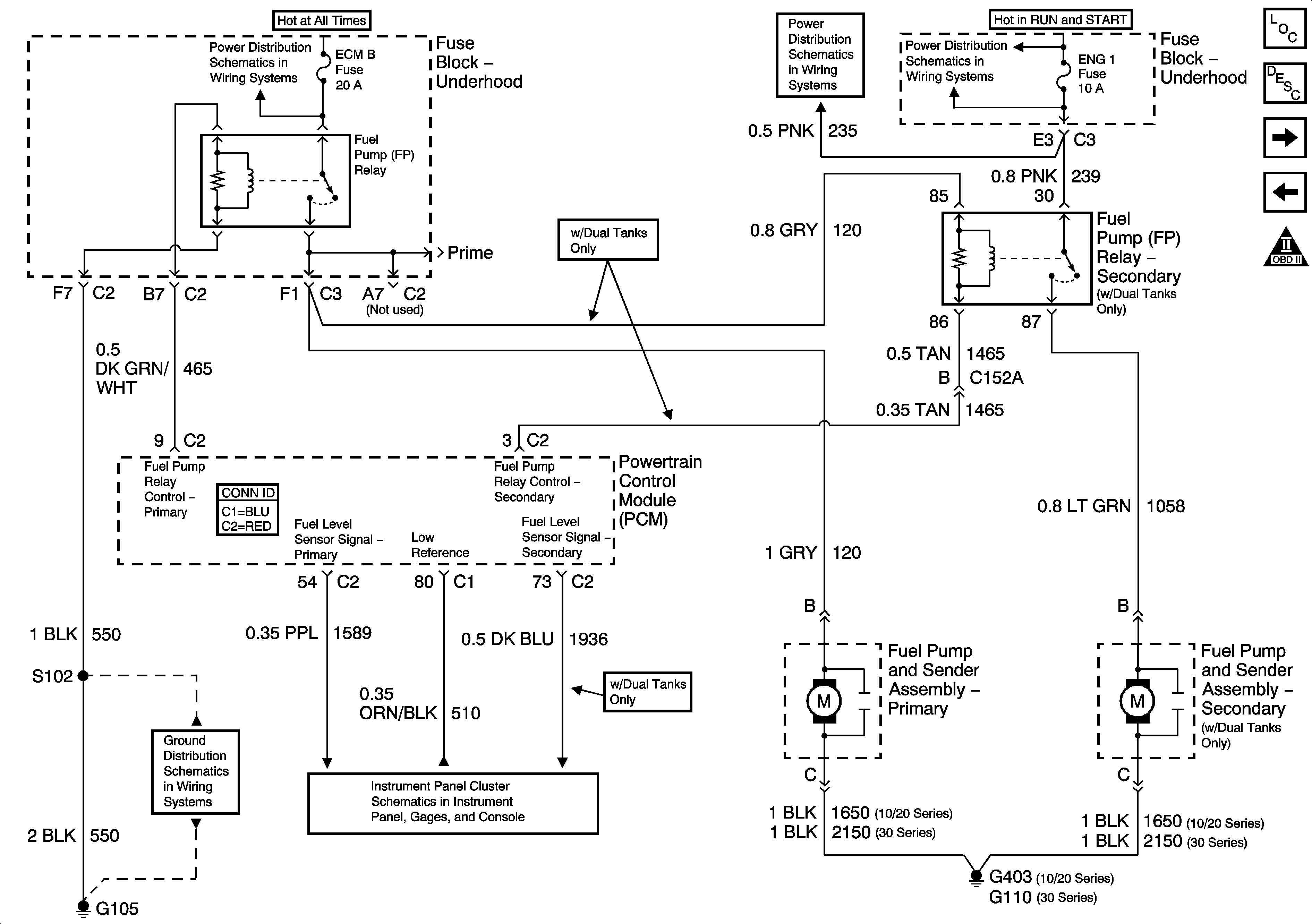
Fuel Controls - Fuel Pump Controls
Ignition Controls - Ignition System Coils 1, 3, 5, 7
OBD II Symbol Description Notice
Gages, VSS, and Engine Oil Signals
Figure 13:

Fuel Controls - Fuel Pump Controls


Object Number: 744121  Size: FS
Master Electrical Component List
Powertrain Control Module Description
Fuel Controls - Fuel Injectors
Ignition Controls - Sensors
OBD II Symbol Description Notice
B+ Bus Bar
IGNITION, RUN, and START Bus Bar
O2 B, O2 A, ENG 1, and IGN E Fuses
G103, G105, and G106
Figure 14:

Fuel Controls - Fuel Injectors


Object Number: 744122  Size: FS
Master Electrical Component List
Powertrain Control Module Description
Fuel Controls - EVAP Controls and Fuel Composition Sensor
Fuel Controls - Fuel Pump Controls
OBD II Symbol Description Notice
ECM 1, ETC, INJ A and INJ B Fuses
ECM 1, ETC, INJ A and INJ B Fuses
Figure 15:

Fuel Controls - EVAP Controls and Fuel Composition Sensor


Object Number: 744123  Size: FS
Master Electrical Component List
Powertrain Control Module Description
Device Controls - EGR and IAC
Fuel Controls - Fuel Injectors
OBD II Symbol Description Notice
ECM 1, ETC, INJ A and INJ B Fuses
O2 B, O2 A, ENG 1, and IGN E Fuses
G104
Figure 16:

Device Controls - EGR and IAC


Object Number: 744124  Size: FS
Master Electrical Component List
Powertrain Control Module Description
Controlled/Monitored Subsystem References
Fuel Controls - EVAP Controls and Fuel Composition Sensor
OBD II Symbol Description Notice
Figure 17:

Controlled/Monitored Subsystem References


Object Number: 744126  Size: FS
Master Electrical Component List
Powertrain Control Module Description
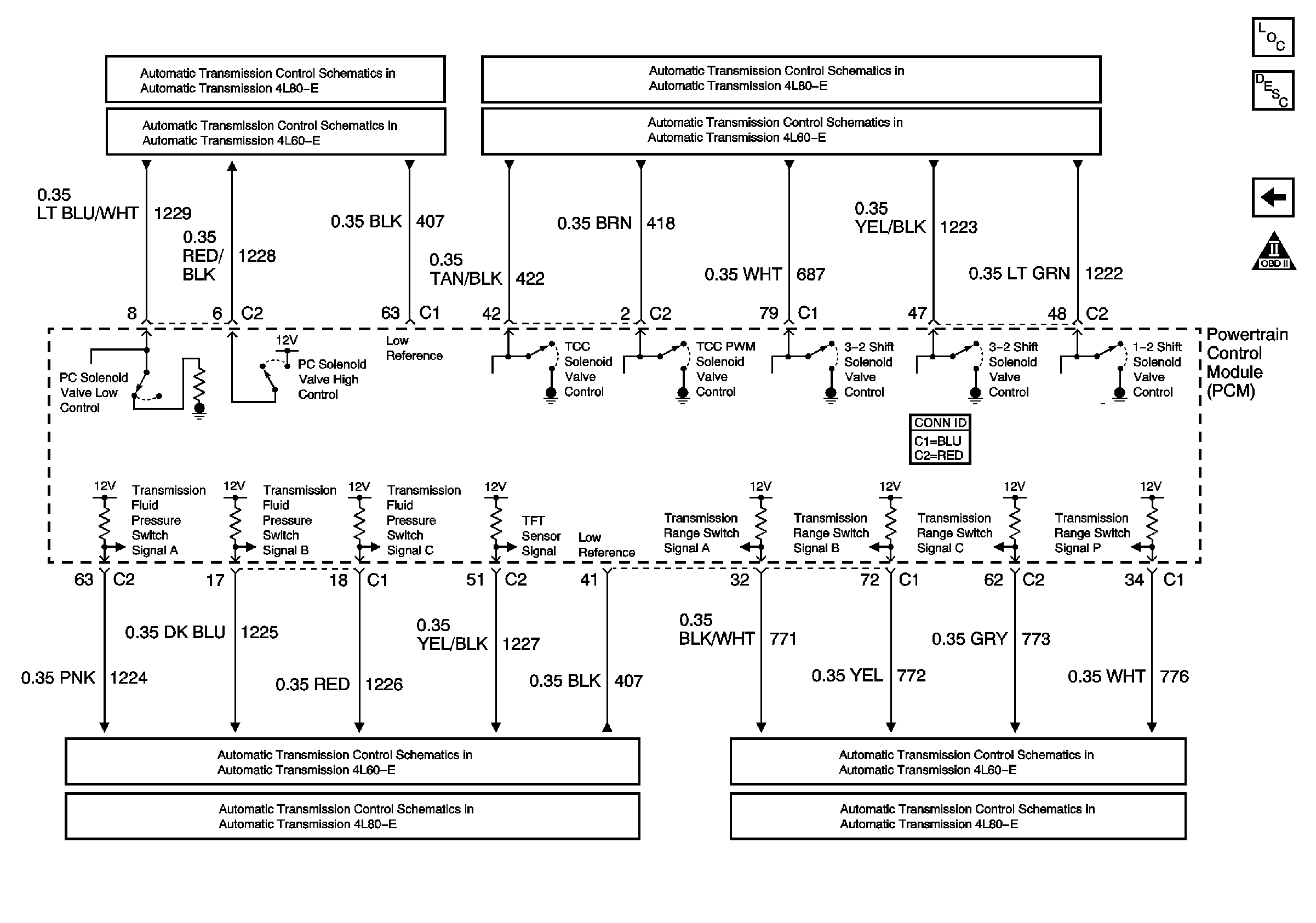
Transmission Controls - A/T
Device Controls - EGR and IAC
OBD II Symbol Description Notice
A/C Compressor Controls
A/C Compressor Controls
Air Delivery Controls - Primary, Recirculation Actuator
Power, Ground, Cruise Control On/Off Switch, IPC Indicator and Cruise Engaged Signal (w/o ETC)
Wheel Speed Sensors, YAW Rate Sensor and Vehicle Stability Switch - W/VSES
Charging System
Power, Ground and Transfer Case Encoder Motor
Power, Ground, Class 2 Communication - w/Traction Assist
Gages, VSS, and Engine Oil Signals
2002 Engine Cooling
Figure 18:

Transmission Controls - A/T


Object Number: 744127  Size: FS
Master Electrical Component List
Powertrain Control Module Description
Controlled/Monitored Subsystem References
OBD II Symbol Description Notice
Switch Inputs
Switch Inputs
Valve Controls and Brake Switch
Valve Controls and Brake Switch
Switch Inputs
Switch Inputs
Tow/Haul Switch and PNP Switch Inputs
Tow/Haul and PNP Switch Inputs