GM Service Manual Online
For 1990-2009 cars only
Makes
🢒
Chevrolet
🢒
2002
🢒
Tahoe - 2WD
🢒
Body and Accessories
🢒
Wiring Systems
🢒 Retained Accessory Power (RAP) Schematics
Figure
1:
RAP #1 Relay Control
Master Electrical Component List
Retained Accessory Power (RAP) Description and Operation
RAP #2 relay Control
IGNITION, RUN, ACCESSORY, and RAP Bus Bars - RAP #1 and RAP #2 Fuses
IGNITION, RUN, ACCESSORY, and RAP Bus Bars - RAP #1 and RAP #2 Fuses
IGNITION, RUN, ACCESSORY, and RAP Bus Bars - RAP #1 and RAP #2 Fuses
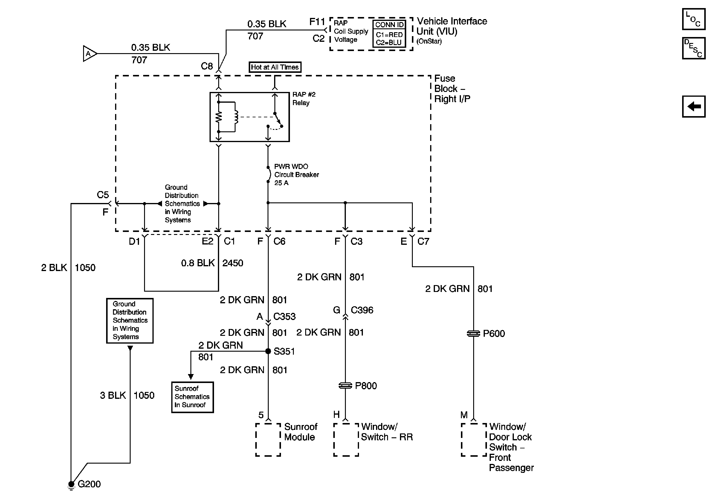
RAP #2 relay Control
Figure
2:
RAP #2 Relay Control
Master Electrical Component List
Retained Accessory Power (RAP) Description and Operation
RAP #1 Relay Control
RAP #1 Relay Control
IGNITION, RUN, ACCESSORY, and RAP Bus Bars - RAP #1 and RAP #2 Fuses
G200 - 1 of 2
G200 - 1 of 2
2002 Power Sunroof